微软专利曝光:HoloLens计划模块化改造的头显
来源:ITBear科技资讯
2023-08-21 08:55:51
0浏览
收藏
“纵有疾风来,人生不言弃”,这句话送给正在学习科技周边的朋友们,也希望在阅读本文《微软专利曝光:HoloLens计划模块化改造的头显》后,能够真的帮助到大家。我也会在后续的文章中,陆续更新科技周边相关的技术文章,有好的建议欢迎大家在评论留言,非常感谢!
根据世界知识产权组织(WIPO)今年5月公示的技术专利,微软计划对HoloLens头显进行全面改进,以降低成本,表明该公司有意进军消费级市场

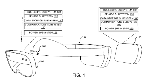
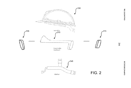
微软计划通过模块化设计对HoloLens头显进行全面改进,以降低制造成本。最新公布的专利设计草图显示,头显组件包括头带、VR头显和眼镜镜腿,可以轻松拆卸,并且模块化传感器和显示模块可以通过标准接口连接

根据小编的了解,微软在技术专利的公示中明确表示了将HoloLens推向消费级市场的意图。通过模块化设计,用户可以轻松替换和升级头显的组件,并且可以根据个人需求连接计算模块、额外电源等其他模块单元,从而为用户提供更加个性化的使用体验

尽管该技术专利目前只是微软计划的一部分,但这一举措显示微软正在积极探索HoloLens在市场应用领域的扩展。一旦这些改进和优化实现,HoloLens有可能更加接近普通消费者,为消费级市场带来全新的增强现实体验
今天带大家了解了的相关知识,希望对你有所帮助;关于科技周边的技术知识我们会一点点深入介绍,欢迎大家关注golang学习网公众号,一起学习编程~
版本声明
本文转载于:ITBear科技资讯 如有侵犯,请联系study_golang@163.com删除
中国汽车市场热销势头不减:奇瑞集团截至7月累计销售达891,895辆,同比增长47%!
- 上一篇
- 中国汽车市场热销势头不减:奇瑞集团截至7月累计销售达891,895辆,同比增长47%!
- 下一篇
- 华为Mate60 Pro搭载四摄系统,首次亮相华为自家影像品牌“XMAGE”
查看更多
最新文章
-
- 科技周边 · 业界新闻 | 12小时前 | OpenAI gpt-6
- GPT-6对决DeepSeek V4,巅峰之战引爆AI圈
- 370浏览 收藏
-
- 科技周边 · 业界新闻 | 3星期前 | AI会导致失业吗
- AI不会失业?软件工程师岗位大增!
- 155浏览 收藏
-
- 科技周边 · 业界新闻 | 1个月前 | 微软 打印机
- Win11停用旧打印机驱动,多家厂商受影响
- 134浏览 收藏
-
- 科技周边 · 业界新闻 | 1个月前 |
- GPT-5.4将上线,支持百万字长文本与极限推理
- 158浏览 收藏
-
- 科技周边 · 业界新闻 | 1个月前 |
- ASML重组技术部,进军AI芯片封装市场
- 218浏览 收藏
-
- 科技周边 · 业界新闻 | 1个月前 |
- 三星S26水平锁定功能实测,手抖救星省六千云台费
- 105浏览 收藏
-
- 科技周边 · 业界新闻 | 1个月前 |
- Codex登陆Windows,多AI代理协作新体验
- 365浏览 收藏
-
- 科技周边 · 业界新闻 | 1个月前 |
- 高通布局机器人市场,CEO称两年内将迎增长高峰
- 226浏览 收藏
-
- 科技周边 · 业界新闻 | 1个月前 |
- iPhone17销量破2000万,领跑华为!
- 377浏览 收藏
-
- 科技周边 · 业界新闻 | 1个月前 |
- Google笔记变导演,NotebookLM生成动画片
- 150浏览 收藏
查看更多
课程推荐
-
- 前端进阶之JavaScript设计模式
- 设计模式是开发人员在软件开发过程中面临一般问题时的解决方案,代表了最佳的实践。本课程的主打内容包括JS常见设计模式以及具体应用场景,打造一站式知识长龙服务,适合有JS基础的同学学习。
- 543次学习
-
- GO语言核心编程课程
- 本课程采用真实案例,全面具体可落地,从理论到实践,一步一步将GO核心编程技术、编程思想、底层实现融会贯通,使学习者贴近时代脉搏,做IT互联网时代的弄潮儿。
- 516次学习
-
- 简单聊聊mysql8与网络通信
- 如有问题加微信:Le-studyg;在课程中,我们将首先介绍MySQL8的新特性,包括性能优化、安全增强、新数据类型等,帮助学生快速熟悉MySQL8的最新功能。接着,我们将深入解析MySQL的网络通信机制,包括协议、连接管理、数据传输等,让
- 500次学习
-
- JavaScript正则表达式基础与实战
- 在任何一门编程语言中,正则表达式,都是一项重要的知识,它提供了高效的字符串匹配与捕获机制,可以极大的简化程序设计。
- 487次学习
-
- 从零制作响应式网站—Grid布局
- 本系列教程将展示从零制作一个假想的网络科技公司官网,分为导航,轮播,关于我们,成功案例,服务流程,团队介绍,数据部分,公司动态,底部信息等内容区块。网站整体采用CSSGrid布局,支持响应式,有流畅过渡和展现动画。
- 485次学习
查看更多
AI推荐
-
- ChatExcel酷表
- ChatExcel酷表是由北京大学团队打造的Excel聊天机器人,用自然语言操控表格,简化数据处理,告别繁琐操作,提升工作效率!适用于学生、上班族及政府人员。
- 4512次使用
-
- Any绘本
- 探索Any绘本(anypicturebook.com/zh),一款开源免费的AI绘本创作工具,基于Google Gemini与Flux AI模型,让您轻松创作个性化绘本。适用于家庭、教育、创作等多种场景,零门槛,高自由度,技术透明,本地可控。
- 4864次使用
-
- 可赞AI
- 可赞AI,AI驱动的办公可视化智能工具,助您轻松实现文本与可视化元素高效转化。无论是智能文档生成、多格式文本解析,还是一键生成专业图表、脑图、知识卡片,可赞AI都能让信息处理更清晰高效。覆盖数据汇报、会议纪要、内容营销等全场景,大幅提升办公效率,降低专业门槛,是您提升工作效率的得力助手。
- 4741次使用
-
- 星月写作
- 星月写作是国内首款聚焦中文网络小说创作的AI辅助工具,解决网文作者从构思到变现的全流程痛点。AI扫榜、专属模板、全链路适配,助力新人快速上手,资深作者效率倍增。
- 6583次使用
-
- MagicLight
- MagicLight.ai是全球首款叙事驱动型AI动画视频创作平台,专注于解决从故事想法到完整动画的全流程痛点。它通过自研AI模型,保障角色、风格、场景高度一致性,让零动画经验者也能高效产出专业级叙事内容。广泛适用于独立创作者、动画工作室、教育机构及企业营销,助您轻松实现创意落地与商业化。
- 5100次使用
查看更多
相关文章
-
- Nothing品牌发布首个子品牌CMF,计划年底推出智能手表和耳机
- 2023-08-05 501浏览
-
- 中国气象局探讨促进人工智能气象预报大模型构建
- 2023-08-13 501浏览
-
- 强大性能搭配时尚外观:OPPO Reno 10系列手机正式开售!
- 2023-08-12 501浏览
-
- Trek推出Electra Pronto Go电动自行车,助力全球绿色出行浪潮
- 2023-08-23 501浏览
-
- 微软灵活升级计划:Win11 8月累积更新发布
- 2023-08-09 501浏览

