英特尔创新技术:新一代处理器“Rentable Unit”助力性能提升
知识点掌握了,还需要不断练习才能熟练运用。下面golang学习网给大家带来一个科技周边开发实战,手把手教大家学习《英特尔创新技术:新一代处理器“Rentable Unit”助力性能提升》,在实现功能的过程中也带大家重新温习相关知识点,温故而知新,回头看看说不定又有不一样的感悟!
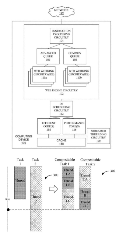
据悉,近期有关英特尔处理器新技术的消息引起了广泛关注。英特尔正在研发一种名为“Rentable Unit”的创新处理器技术,计划用它取代目前的超线程技术。该技术将首次应用于英特尔Alder Lake(第12代)处理器,旨在提升处理器的并行性和效能

据报道,新技术"Rentable Unit"的核心思想是通过混合架构将性能核心(P核)和效率核心(E核)结合起来,以优化处理器的任务分配和调度。与传统的超线程技术相比,Rentable Unit具有更高的灵活性和可行性
Unit技术的工作原理是根据任务的复杂程度、可用资源和处理器结构,将指令划分为多个任务,并智能地分配给性能核心和效率核心,以保持所有核心的活跃状态。这种动态的任务调度最大化地利用了处理器的计算能力,确保没有核心处于闲置状态

值得关注的是,英特尔在Alder Lake处理器中引入了Rentable Unit技术,以解决传统超线程技术的局限性。这项技术使得英特尔能够更好地适应各种计算任务,从而提供更高的性能和能效
据了解,英特尔已经在Alder Lake处理器上采用了大小核心的混合架构,包括性能核心(P核)和效率核心(E核),以提升整体处理器性能。引入了“Rentable Unit”技术后,英特尔进一步增强了多核处理器的任务分配和调度能力,为未来处理器技术的发展带来了新的突破。英特尔对于“Rentable Unit”的重视和承诺也得到了专利申请的证实
好了,本文到此结束,带大家了解了《英特尔创新技术:新一代处理器“Rentable Unit”助力性能提升》,希望本文对你有所帮助!关注golang学习网公众号,给大家分享更多科技周边知识!
中国传音成为全球前五智能手机品牌
- 上一篇
- 中国传音成为全球前五智能手机品牌
- 下一篇
- Redmi K60 至尊版:升级全方位性能,游戏流畅画质出众
-
- 科技周边 · 业界新闻 | 1天前 | OpenAI gpt-6
- GPT-6对决DeepSeek V4,巅峰之战引爆AI圈
- 370浏览 收藏
-
- 科技周边 · 业界新闻 | 3星期前 | AI会导致失业吗
- AI不会失业?软件工程师岗位大增!
- 155浏览 收藏
-
- 科技周边 · 业界新闻 | 1个月前 | 微软 打印机
- Win11停用旧打印机驱动,多家厂商受影响
- 134浏览 收藏
-
- 科技周边 · 业界新闻 | 1个月前 |
- GPT-5.4将上线,支持百万字长文本与极限推理
- 158浏览 收藏
-
- 科技周边 · 业界新闻 | 1个月前 |
- ASML重组技术部,进军AI芯片封装市场
- 218浏览 收藏
-
- 科技周边 · 业界新闻 | 1个月前 |
- 三星S26水平锁定功能实测,手抖救星省六千云台费
- 105浏览 收藏
-
- 科技周边 · 业界新闻 | 1个月前 |
- Codex登陆Windows,多AI代理协作新体验
- 365浏览 收藏
-
- 科技周边 · 业界新闻 | 1个月前 |
- 高通布局机器人市场,CEO称两年内将迎增长高峰
- 226浏览 收藏
-
- 科技周边 · 业界新闻 | 1个月前 |
- iPhone17销量破2000万,领跑华为!
- 377浏览 收藏
-
- 科技周边 · 业界新闻 | 1个月前 |
- Google笔记变导演,NotebookLM生成动画片
- 150浏览 收藏
-
- 前端进阶之JavaScript设计模式
- 设计模式是开发人员在软件开发过程中面临一般问题时的解决方案,代表了最佳的实践。本课程的主打内容包括JS常见设计模式以及具体应用场景,打造一站式知识长龙服务,适合有JS基础的同学学习。
- 543次学习
-
- GO语言核心编程课程
- 本课程采用真实案例,全面具体可落地,从理论到实践,一步一步将GO核心编程技术、编程思想、底层实现融会贯通,使学习者贴近时代脉搏,做IT互联网时代的弄潮儿。
- 516次学习
-
- 简单聊聊mysql8与网络通信
- 如有问题加微信:Le-studyg;在课程中,我们将首先介绍MySQL8的新特性,包括性能优化、安全增强、新数据类型等,帮助学生快速熟悉MySQL8的最新功能。接着,我们将深入解析MySQL的网络通信机制,包括协议、连接管理、数据传输等,让
- 500次学习
-
- JavaScript正则表达式基础与实战
- 在任何一门编程语言中,正则表达式,都是一项重要的知识,它提供了高效的字符串匹配与捕获机制,可以极大的简化程序设计。
- 487次学习
-
- 从零制作响应式网站—Grid布局
- 本系列教程将展示从零制作一个假想的网络科技公司官网,分为导航,轮播,关于我们,成功案例,服务流程,团队介绍,数据部分,公司动态,底部信息等内容区块。网站整体采用CSSGrid布局,支持响应式,有流畅过渡和展现动画。
- 485次学习
-
- ChatExcel酷表
- ChatExcel酷表是由北京大学团队打造的Excel聊天机器人,用自然语言操控表格,简化数据处理,告别繁琐操作,提升工作效率!适用于学生、上班族及政府人员。
- 4514次使用
-
- Any绘本
- 探索Any绘本(anypicturebook.com/zh),一款开源免费的AI绘本创作工具,基于Google Gemini与Flux AI模型,让您轻松创作个性化绘本。适用于家庭、教育、创作等多种场景,零门槛,高自由度,技术透明,本地可控。
- 4865次使用
-
- 可赞AI
- 可赞AI,AI驱动的办公可视化智能工具,助您轻松实现文本与可视化元素高效转化。无论是智能文档生成、多格式文本解析,还是一键生成专业图表、脑图、知识卡片,可赞AI都能让信息处理更清晰高效。覆盖数据汇报、会议纪要、内容营销等全场景,大幅提升办公效率,降低专业门槛,是您提升工作效率的得力助手。
- 4742次使用
-
- 星月写作
- 星月写作是国内首款聚焦中文网络小说创作的AI辅助工具,解决网文作者从构思到变现的全流程痛点。AI扫榜、专属模板、全链路适配,助力新人快速上手,资深作者效率倍增。
- 6591次使用
-
- MagicLight
- MagicLight.ai是全球首款叙事驱动型AI动画视频创作平台,专注于解决从故事想法到完整动画的全流程痛点。它通过自研AI模型,保障角色、风格、场景高度一致性,让零动画经验者也能高效产出专业级叙事内容。广泛适用于独立创作者、动画工作室、教育机构及企业营销,助您轻松实现创意落地与商业化。
- 5103次使用
-
- Nothing品牌发布首个子品牌CMF,计划年底推出智能手表和耳机
- 2023-08-05 501浏览
-
- 中国气象局探讨促进人工智能气象预报大模型构建
- 2023-08-13 501浏览
-
- 强大性能搭配时尚外观:OPPO Reno 10系列手机正式开售!
- 2023-08-12 501浏览
-
- Trek推出Electra Pronto Go电动自行车,助力全球绿色出行浪潮
- 2023-08-23 501浏览
-
- 微软灵活升级计划:Win11 8月累积更新发布
- 2023-08-09 501浏览

