苹果专利揭示:iPhone或将通过全新设计摆脱凸起镜头
最近发现不少小伙伴都对科技周边很感兴趣,所以今天继续给大家介绍科技周边相关的知识,本文《苹果专利揭示:iPhone或将通过全新设计摆脱凸起镜头》主要内容涉及到等等知识点,希望能帮到你!当然如果阅读本文时存在不同想法,可以在评论中表达,但是请勿使用过激的措辞~
据外媒AppleInsider报道,苹果公司最近获得了一项名为《带有移动光学元件致动器的折叠相机》的创新技术专利,该专利可能会给未来的iPhone带来一项引人注目的变革,即通过折叠式相机镜头设计来避免iPhone背面镜头凸起的问题

苹果公司根据专利文件提出了多种可能的方法,将折叠式光学元件和镜头移动功能融入未来的iPhone设备中,以消除因凸起的相机模块带来的不便,并进一步提升设备的外观和携带性

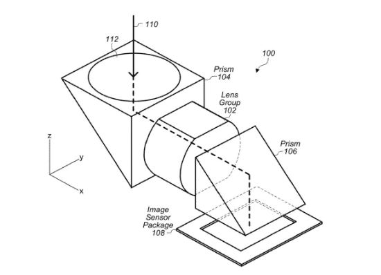
在专利文件中,设计草图揭示了多种实现方式,其中之一是由两个棱镜构成的系统。这些棱镜用于将光线转向成像传感器,而透镜组则负责光学功能。透镜组可以放置在内部载体结构内,而该内部载体与外部载体相连接。通过同时移动这两个载体结构,相机镜头的厚度可以减小,从而实现折叠式设计的可能性

据小编了解,该专利还包括引入电机致动器的概念,以满足不同拍摄场景下的自动对焦需求。通过电机致动器,内部载体结构和外部载体结构可以根据拍摄环境的要求进行移动,从而实现更精确的自动对焦功能,并提高光学图像的稳定性
虽然苹果公司已经获得了折叠式相机镜头技术的专利,但我们仍需等待苹果官方的确认和发布,才能确定该技术是否会应用在未来的iPhone设备中,以及何时能够在实际产品中看到。然而,这项专利的获得标志着苹果在移动设备摄影技术方面不断创新的努力,我们相信未来的iPhone设备将带来更出色的摄影体验
以上就是本文的全部内容了,是否有顺利帮助你解决问题?若是能给你带来学习上的帮助,请大家多多支持golang学习网!更多关于科技周边的相关知识,也可关注golang学习网公众号。
诺基亚发布全新力作:G310 5G手机震撼登场,带来前所未有的移动体验
- 上一篇
- 诺基亚发布全新力作:G310 5G手机震撼登场,带来前所未有的移动体验
- 下一篇
- 小米MIX Fold 3:性能与拍摄功能双重突破
-
- 科技周边 · 业界新闻 | 2星期前 | AI会导致失业吗
- AI不会失业?软件工程师岗位大增!
- 155浏览 收藏
-
- 科技周边 · 业界新闻 | 1个月前 | 微软 打印机
- Win11停用旧打印机驱动,多家厂商受影响
- 134浏览 收藏
-
- 科技周边 · 业界新闻 | 1个月前 |
- GPT-5.4将上线,支持百万字长文本与极限推理
- 158浏览 收藏
-
- 科技周边 · 业界新闻 | 1个月前 |
- ASML重组技术部,进军AI芯片封装市场
- 218浏览 收藏
-
- 科技周边 · 业界新闻 | 1个月前 |
- 三星S26水平锁定功能实测,手抖救星省六千云台费
- 105浏览 收藏
-
- 科技周边 · 业界新闻 | 1个月前 |
- Codex登陆Windows,多AI代理协作新体验
- 365浏览 收藏
-
- 科技周边 · 业界新闻 | 1个月前 |
- 高通布局机器人市场,CEO称两年内将迎增长高峰
- 226浏览 收藏
-
- 科技周边 · 业界新闻 | 1个月前 |
- iPhone17销量破2000万,领跑华为!
- 377浏览 收藏
-
- 科技周边 · 业界新闻 | 1个月前 |
- Google笔记变导演,NotebookLM生成动画片
- 150浏览 收藏
-
- 科技周边 · 业界新闻 | 1个月前 |
- ASML布局AI,2026年需求强劲增长
- 199浏览 收藏
-
- 前端进阶之JavaScript设计模式
- 设计模式是开发人员在软件开发过程中面临一般问题时的解决方案,代表了最佳的实践。本课程的主打内容包括JS常见设计模式以及具体应用场景,打造一站式知识长龙服务,适合有JS基础的同学学习。
- 543次学习
-
- GO语言核心编程课程
- 本课程采用真实案例,全面具体可落地,从理论到实践,一步一步将GO核心编程技术、编程思想、底层实现融会贯通,使学习者贴近时代脉搏,做IT互联网时代的弄潮儿。
- 516次学习
-
- 简单聊聊mysql8与网络通信
- 如有问题加微信:Le-studyg;在课程中,我们将首先介绍MySQL8的新特性,包括性能优化、安全增强、新数据类型等,帮助学生快速熟悉MySQL8的最新功能。接着,我们将深入解析MySQL的网络通信机制,包括协议、连接管理、数据传输等,让
- 500次学习
-
- JavaScript正则表达式基础与实战
- 在任何一门编程语言中,正则表达式,都是一项重要的知识,它提供了高效的字符串匹配与捕获机制,可以极大的简化程序设计。
- 487次学习
-
- 从零制作响应式网站—Grid布局
- 本系列教程将展示从零制作一个假想的网络科技公司官网,分为导航,轮播,关于我们,成功案例,服务流程,团队介绍,数据部分,公司动态,底部信息等内容区块。网站整体采用CSSGrid布局,支持响应式,有流畅过渡和展现动画。
- 485次学习
-
- ChatExcel酷表
- ChatExcel酷表是由北京大学团队打造的Excel聊天机器人,用自然语言操控表格,简化数据处理,告别繁琐操作,提升工作效率!适用于学生、上班族及政府人员。
- 4484次使用
-
- Any绘本
- 探索Any绘本(anypicturebook.com/zh),一款开源免费的AI绘本创作工具,基于Google Gemini与Flux AI模型,让您轻松创作个性化绘本。适用于家庭、教育、创作等多种场景,零门槛,高自由度,技术透明,本地可控。
- 4827次使用
-
- 可赞AI
- 可赞AI,AI驱动的办公可视化智能工具,助您轻松实现文本与可视化元素高效转化。无论是智能文档生成、多格式文本解析,还是一键生成专业图表、脑图、知识卡片,可赞AI都能让信息处理更清晰高效。覆盖数据汇报、会议纪要、内容营销等全场景,大幅提升办公效率,降低专业门槛,是您提升工作效率的得力助手。
- 4711次使用
-
- 星月写作
- 星月写作是国内首款聚焦中文网络小说创作的AI辅助工具,解决网文作者从构思到变现的全流程痛点。AI扫榜、专属模板、全链路适配,助力新人快速上手,资深作者效率倍增。
- 6518次使用
-
- MagicLight
- MagicLight.ai是全球首款叙事驱动型AI动画视频创作平台,专注于解决从故事想法到完整动画的全流程痛点。它通过自研AI模型,保障角色、风格、场景高度一致性,让零动画经验者也能高效产出专业级叙事内容。广泛适用于独立创作者、动画工作室、教育机构及企业营销,助您轻松实现创意落地与商业化。
- 5080次使用
-
- Nothing品牌发布首个子品牌CMF,计划年底推出智能手表和耳机
- 2023-08-05 501浏览
-
- 中国气象局探讨促进人工智能气象预报大模型构建
- 2023-08-13 501浏览
-
- 强大性能搭配时尚外观:OPPO Reno 10系列手机正式开售!
- 2023-08-12 501浏览
-
- Trek推出Electra Pronto Go电动自行车,助力全球绿色出行浪潮
- 2023-08-23 501浏览
-
- 微软灵活升级计划:Win11 8月累积更新发布
- 2023-08-09 501浏览

