创新充电技术:福特电动皮卡或将实现拖车续航共享
今日不肯埋头,明日何以抬头!每日一句努力自己的话哈哈~哈喽,今天我将给大家带来一篇《创新充电技术:福特电动皮卡或将实现拖车续航共享》,主要内容是讲解等等,感兴趣的朋友可以收藏或者有更好的建议在评论提出,我都会认真看的!大家一起进步,一起学习!
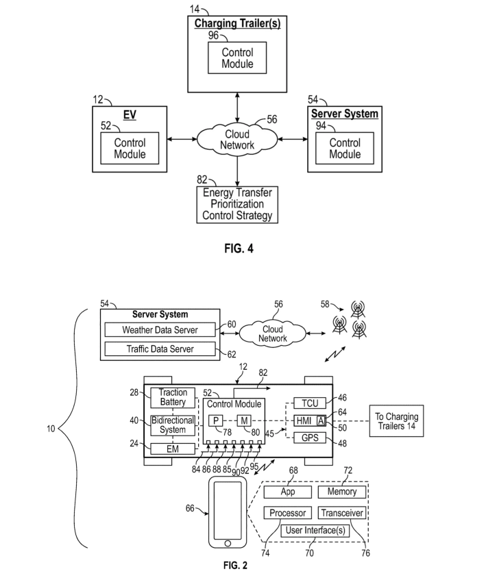
8月24日消息,近日有关电动皮卡续航问题的解决方案备受关注。在美国,皮卡车主常因高扭矩而购买皮卡,将其作为牵引车使用。然而,随着电动皮卡的兴起,拖拽拖车会影响车辆续航里程,福特公司提出了一项创新解决办法。
根据美国专利商标局(USPTO)公布的信息,福特于2022年2月1日提交的一项专利申请显示,他们计划利用双向充电技术来连接电动车和搭载电池的拖车,实现能量的共享。这一系统的核心思想在于确保拖车上的电池始终保持充满状态,通过从一个或多个拖车电池组中提取能量,以弥补因拖车而减少的续航能力。值得一提的是,这些拖车还具备为自身搭载货物充电的功能。

福特的专利申请中还提及,这些拖车可以配备各种充电器,以满足给电动滑板、摩托车、全地形车等充电的需求。专利申请中还呈现了一款采用独特前置驾驶室设计的皮卡,这种设计或许会在福特未来的产品中得以应用。据小编了解,福特计划于2025年推出一款全尺寸电动皮卡,作为其旗下F-150 Lightning的后继产品,但该技术也有望在其他类型的车辆中得以应用,包括SUV等。

除了福特,其他一些公司也在探索类似的方案以延长电动车的续航能力。科罗拉多泪滴公司的博尔德旅行拖车搭载了75千瓦时的电池组,可以在停车时为牵引车充电。Airstream公司展示了一个名为eStream的概念,通过在拖车上增加电动马达系统,减轻了牵引车的负担,从而提高了续航里程。这一系统在一次测试中,使一辆奥迪E-Tron Sportback的实际续航里程从EPA评估的218英里增加到了240英里。

据小编了解,通用汽车也在探索一种新的系统,该系统在牵引车和拖车之间增加了自行推进的牵引辅助装置,为拖车提供额外的推进力。虽然这些公司都在专利申请中提出了这些概念,但这些技术是否最终能够投入实际使用,还需要时间的验证和进一步的发展。随着电动车技术的不断演进,这些创新方案有望为解决电动车续航问题提供可行途径。
理论要掌握,实操不能落!以上关于《创新充电技术:福特电动皮卡或将实现拖车续航共享》的详细介绍,大家都掌握了吧!如果想要继续提升自己的能力,那么就来关注golang学习网公众号吧!
"奇迹玻璃"登场!真我GT5携比亚迪联袂惊艳亮相
- 上一篇
- "奇迹玻璃"登场!真我GT5携比亚迪联袂惊艳亮相
- 下一篇
- 新款奇瑞 QQ 冰淇淋正式发布:多续航版本满足多样化需求
-
- 科技周边 · 业界新闻 | 4小时前 | OpenAI gpt-6
- GPT-6对决DeepSeek V4,巅峰之战引爆AI圈
- 370浏览 收藏
-
- 科技周边 · 业界新闻 | 3星期前 | AI会导致失业吗
- AI不会失业?软件工程师岗位大增!
- 155浏览 收藏
-
- 科技周边 · 业界新闻 | 1个月前 | 微软 打印机
- Win11停用旧打印机驱动,多家厂商受影响
- 134浏览 收藏
-
- 科技周边 · 业界新闻 | 1个月前 |
- GPT-5.4将上线,支持百万字长文本与极限推理
- 158浏览 收藏
-
- 科技周边 · 业界新闻 | 1个月前 |
- ASML重组技术部,进军AI芯片封装市场
- 218浏览 收藏
-
- 科技周边 · 业界新闻 | 1个月前 |
- 三星S26水平锁定功能实测,手抖救星省六千云台费
- 105浏览 收藏
-
- 科技周边 · 业界新闻 | 1个月前 |
- Codex登陆Windows,多AI代理协作新体验
- 365浏览 收藏
-
- 科技周边 · 业界新闻 | 1个月前 |
- 高通布局机器人市场,CEO称两年内将迎增长高峰
- 226浏览 收藏
-
- 科技周边 · 业界新闻 | 1个月前 |
- iPhone17销量破2000万,领跑华为!
- 377浏览 收藏
-
- 科技周边 · 业界新闻 | 1个月前 |
- Google笔记变导演,NotebookLM生成动画片
- 150浏览 收藏
-
- 前端进阶之JavaScript设计模式
- 设计模式是开发人员在软件开发过程中面临一般问题时的解决方案,代表了最佳的实践。本课程的主打内容包括JS常见设计模式以及具体应用场景,打造一站式知识长龙服务,适合有JS基础的同学学习。
- 543次学习
-
- GO语言核心编程课程
- 本课程采用真实案例,全面具体可落地,从理论到实践,一步一步将GO核心编程技术、编程思想、底层实现融会贯通,使学习者贴近时代脉搏,做IT互联网时代的弄潮儿。
- 516次学习
-
- 简单聊聊mysql8与网络通信
- 如有问题加微信:Le-studyg;在课程中,我们将首先介绍MySQL8的新特性,包括性能优化、安全增强、新数据类型等,帮助学生快速熟悉MySQL8的最新功能。接着,我们将深入解析MySQL的网络通信机制,包括协议、连接管理、数据传输等,让
- 500次学习
-
- JavaScript正则表达式基础与实战
- 在任何一门编程语言中,正则表达式,都是一项重要的知识,它提供了高效的字符串匹配与捕获机制,可以极大的简化程序设计。
- 487次学习
-
- 从零制作响应式网站—Grid布局
- 本系列教程将展示从零制作一个假想的网络科技公司官网,分为导航,轮播,关于我们,成功案例,服务流程,团队介绍,数据部分,公司动态,底部信息等内容区块。网站整体采用CSSGrid布局,支持响应式,有流畅过渡和展现动画。
- 485次学习
-
- ChatExcel酷表
- ChatExcel酷表是由北京大学团队打造的Excel聊天机器人,用自然语言操控表格,简化数据处理,告别繁琐操作,提升工作效率!适用于学生、上班族及政府人员。
- 4510次使用
-
- Any绘本
- 探索Any绘本(anypicturebook.com/zh),一款开源免费的AI绘本创作工具,基于Google Gemini与Flux AI模型,让您轻松创作个性化绘本。适用于家庭、教育、创作等多种场景,零门槛,高自由度,技术透明,本地可控。
- 4862次使用
-
- 可赞AI
- 可赞AI,AI驱动的办公可视化智能工具,助您轻松实现文本与可视化元素高效转化。无论是智能文档生成、多格式文本解析,还是一键生成专业图表、脑图、知识卡片,可赞AI都能让信息处理更清晰高效。覆盖数据汇报、会议纪要、内容营销等全场景,大幅提升办公效率,降低专业门槛,是您提升工作效率的得力助手。
- 4740次使用
-
- 星月写作
- 星月写作是国内首款聚焦中文网络小说创作的AI辅助工具,解决网文作者从构思到变现的全流程痛点。AI扫榜、专属模板、全链路适配,助力新人快速上手,资深作者效率倍增。
- 6582次使用
-
- MagicLight
- MagicLight.ai是全球首款叙事驱动型AI动画视频创作平台,专注于解决从故事想法到完整动画的全流程痛点。它通过自研AI模型,保障角色、风格、场景高度一致性,让零动画经验者也能高效产出专业级叙事内容。广泛适用于独立创作者、动画工作室、教育机构及企业营销,助您轻松实现创意落地与商业化。
- 5099次使用
-
- Nothing品牌发布首个子品牌CMF,计划年底推出智能手表和耳机
- 2023-08-05 501浏览
-
- 中国气象局探讨促进人工智能气象预报大模型构建
- 2023-08-13 501浏览
-
- 强大性能搭配时尚外观:OPPO Reno 10系列手机正式开售!
- 2023-08-12 501浏览
-
- Trek推出Electra Pronto Go电动自行车,助力全球绿色出行浪潮
- 2023-08-23 501浏览
-
- 微软灵活升级计划:Win11 8月累积更新发布
- 2023-08-09 501浏览

