苹果专利揭示了自动驾驶汽车中各种AR游戏娱乐活动的构思
学习知识要善于思考,思考,再思考!今天golang学习网小编就给大家带来《苹果专利揭示了自动驾驶汽车中各种AR游戏娱乐活动的构思》,以下内容主要包含等知识点,如果你正在学习或准备学习科技周边,就都不要错过本文啦~让我们一起来看看吧,能帮助到你就更好了!
汽车厂商正在积极研发将增强现实(AR)技术应用到汽车中。事实上,如果你留意映维网的专利分享,你会发现苹果一直在这个领域进行探索,并已经申请了多项相关专利
最近,美国专利商标局公布了一项名为“Visual content overlay system”的苹果发明,该发明与AR+汽车有关。简而言之,这是一种可以在汽车的透明挡风玻璃上叠加各种数字元素的AR视觉内容叠加系统,同时还能模糊和替换其他物体的视图
通过AR视觉内容叠加系统,可以提升驾驶员的态势感知能力,提高行车效率,增添驾驶乐趣,同时降低车辆偏离当前车道的风险,减少事故发生的可能性
苹果的AR系统不仅可以用于自动驾驶汽车,还能为乘员提供各种基于AR的娱乐活动,比如游戏

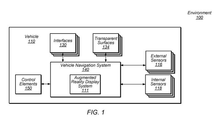
在图1中展示了一辆车。这辆车标记为110,它位于外部环境100中,并且配备了车辆导航系统(VNS)140。苹果指出,在某个实例中,VNS 140可以自动控制一个或多个车辆控制元件150,使得车辆110能够自主导航沿着环境100中的一个或多个驾驶路线
在一个实施例中,VNS 140通过一个或多个界面130向一个或多个乘员显示信息。至少一个界面130可以包括一个透明表面,并且可以以增强现实(AR)图形叠加层的方式向乘员显示信息
车辆110由一组或多组外部传感器116和一组或多组内部传感器118组成,用于检测各种数据信息

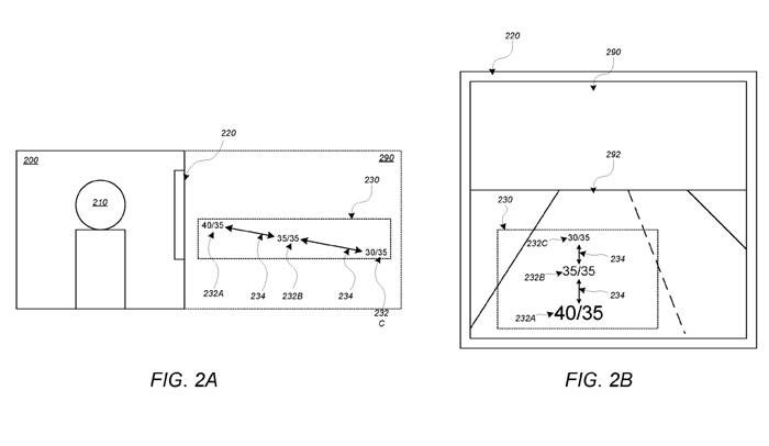
图2A-B展示了一辆车辆,该车辆配备了一种透明表面,用于提供增强现实显示器
在一个实施例中,AR显示元素可以以三维形式提供关于车辆速度的信息,包括车辆速度和本地速度限制、路线指示、标识转译等等

AR视觉内容叠加系统可以根据个人数据、行驶路线和环境条件等进行选择性生成,如图3A-B所示
例如,通过监测传感器340获得的环境条件,增强现实显示系统可以确定当前的环境情况。如果确定当前环境条件是暴雨,增强现实系统可以将确定的环境条件与限速调整数据库和相关环境条件进行比较,以确定将本地限速下调5英里/小时
根据图3A所示,可以将速度限制从352调整为362,以反映当地环境条件的监测
同时,系统可以根据行驶路线来高亮特定的内容,并且模糊非相关的内容。如图3B所示,基于确定的内容372与车辆300所导航的当前行驶路线相关联,例如行驶路线的目的地、行驶路线的检查点等,车辆300所包含的增强现实显示系统可以生成高亮特定的内容,同时模糊不相关的内容374,使得路标370的感知内容限制为相关的内容372

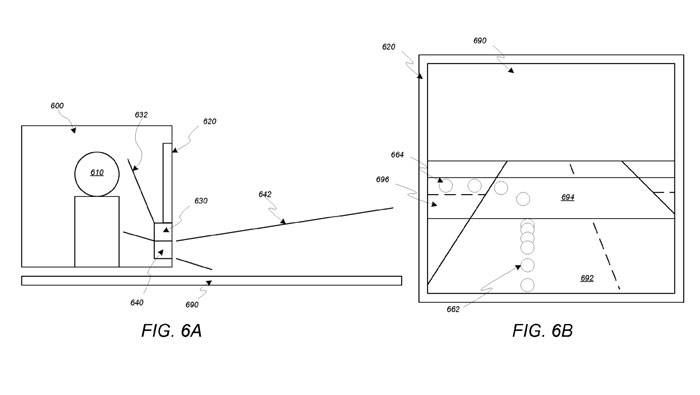
在一个实施例中,AR视觉内容叠加系统可以根据乘员的个人数据来控制内容显示。例如,可以确定乘员对车辆沿着特定行驶路线导航具有足够的经验,所以可以确定乘员610不需要车辆600沿着特定行驶路线导航的视觉指示
例如,可以确定乘客对车辆600在特定行驶路线上的导航经验不足,因此可以确定乘客610需要AR路线导航
在一个实施例中,可以根据乘员的压力水平和认知负荷等来控制视觉内容的显示。例如,在确定乘员610存在高认知负荷,增强现实显示系统可以移除元素662、664,从而降低乘员610的认知负荷
在确定乘员610存在高压力水平时,增强现实显示系统可以提供特定内容。例如,它可以显示与车辆控制相关的元素662、664,向乘员610提供在车辆导航期间正在执行的导航动作的指示,并向其解释保证车辆正沿着行驶路线导航到目的地

在一个实施例中,AR视觉内容叠加系统可以模拟环境对象。如图7A-B所示,系统可以模拟在道路特定位置790存在的“减速带”,从而增强乘员对减速带的感知。由于注意力问题以及减速带有时不够明显或低矮,乘员有时不一定会注意到减速带的存在
同时,该系统还能够通过高亮显示车道边界来增强驾驶员对周围情况的感知能力,从而降低车辆偏离当前行驶车道的风险。如图所示,当环境721中的光照水平低于阈值时,增强现实显示系统可以调整元素781、783的颜色、亮度等参数,以帮助乘员710更容易地察觉到车道边界
增强现实显示系统可以根据车辆与车道边界之间的相对距离,动态调整单独元素的颜色、亮度、图案、动画序列等,以示车辆正在接近车道边界

在一个实施例中,AR视觉内容叠加系统可以判断识别周围环境的区域,并向乘员提供警告。如图8所示,车辆810中包含的增强现实显示系统可以基于检测环境800中的结构822,确定结构822与一个或多个特定区域相关联来识别区域820
举例来说,增强现实显示系统可以识别检测到的结构822是学校的结构,并且可以在确定结构822是学校的基础上,部分地确定该结构822与环境800中的学校区域820相关联,并且能够相应地生成相关的提示信息

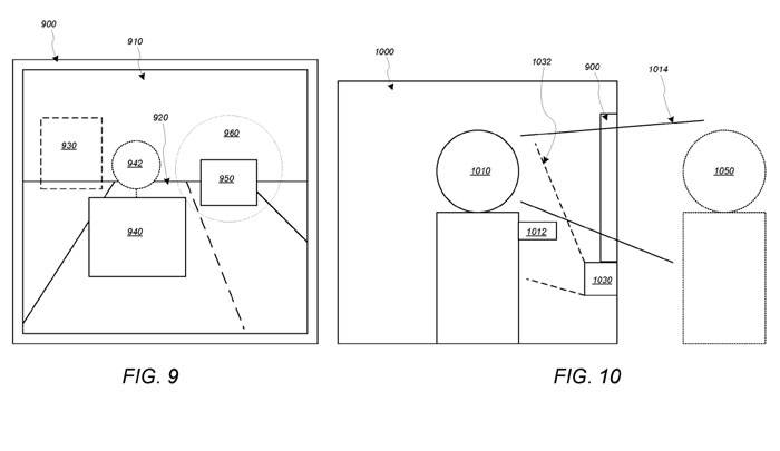
在一个实施例中,AR视觉内容叠加系统可以为乘员提供各种基于AR的娱乐活动,例如游戏或影视节目。如图9和图10所示,基于接收命令,并作为乘员1010与车辆1000中包含的用户界面交互的结果,可以播放视频内容
增强现实显示系统可以生成显示元素,并将视频内容呈现在乘员可以感知的透明表面上
在另一个例子中,增强现实显示系统可以作为交互式游戏的一部分生成各种显示元素,并根据乘员的动作、手势以及与一个或多个用户界面的交互提供输入
相关专利:Apple Patent | Visual content overlay system
苹果公司于2023年4月提交了一项名为“视觉内容叠加系统”的专利申请,并最近被美国专利商标局公布
到这里,我们也就讲完了《苹果专利揭示了自动驾驶汽车中各种AR游戏娱乐活动的构思》的内容了。个人认为,基础知识的学习和巩固,是为了更好的将其运用到项目中,欢迎关注golang学习网公众号,带你了解更多关于自动驾驶,关键词:苹果,AR游戏的知识点!
《COD》将上线实时语音聊天审核功能 AI实时识别
- 上一篇
- 《COD》将上线实时语音聊天审核功能 AI实时识别
- 下一篇
- 谷歌发布AlloyDB AI,助力开发者构建生成式人工智能应用
-
- 科技周边 · 人工智能 | 4分钟前 |
- 夸克AI旅游攻略生成全解析
- 161浏览 收藏
-
- 科技周边 · 人工智能 | 13分钟前 |
- 可灵AI推荐:照片变动态种草视频教程
- 386浏览 收藏
-
- 科技周边 · 人工智能 | 23分钟前 |
- ChatGPT回答中断处理方法及续写技巧
- 338浏览 收藏
-
- 科技周边 · 人工智能 | 34分钟前 | Hermes Agent HermesAgent
- HermesAgent自动回复设置教程
- 156浏览 收藏
-
- 科技周边 · 人工智能 | 43分钟前 |
- DeepSeekV4清洗线索技巧解析
- 249浏览 收藏
-
- 科技周边 · 人工智能 | 49分钟前 |
- MozillaAI揭秘Firefox271漏洞详情
- 193浏览 收藏
-
- 科技周边 · 人工智能 | 1小时前 |
- 擎天租携手人保财险,具身智能保险首单落地
- 463浏览 收藏
-
- 科技周边 · 人工智能 | 1小时前 |
- Deepseek联手Giphy打造个性动图表情
- 284浏览 收藏
-
- 科技周边 · 人工智能 | 1小时前 |
- WorkBuddyAI翻译技巧全解析
- 252浏览 收藏
-
- 科技周边 · 人工智能 | 1小时前 |
- WorkBuddy日志标准与格式详解
- 468浏览 收藏
-
- 科技周边 · 人工智能 | 1小时前 | CodeGeeX
- CodeGeeX优化异步任务,FastAPI项目升级
- 147浏览 收藏
-
- 科技周边 · 人工智能 | 1小时前 |
- WorkBuddy如何优化输出频率惩罚
- 151浏览 收藏
-
- 前端进阶之JavaScript设计模式
- 设计模式是开发人员在软件开发过程中面临一般问题时的解决方案,代表了最佳的实践。本课程的主打内容包括JS常见设计模式以及具体应用场景,打造一站式知识长龙服务,适合有JS基础的同学学习。
- 543次学习
-
- GO语言核心编程课程
- 本课程采用真实案例,全面具体可落地,从理论到实践,一步一步将GO核心编程技术、编程思想、底层实现融会贯通,使学习者贴近时代脉搏,做IT互联网时代的弄潮儿。
- 516次学习
-
- 简单聊聊mysql8与网络通信
- 如有问题加微信:Le-studyg;在课程中,我们将首先介绍MySQL8的新特性,包括性能优化、安全增强、新数据类型等,帮助学生快速熟悉MySQL8的最新功能。接着,我们将深入解析MySQL的网络通信机制,包括协议、连接管理、数据传输等,让
- 500次学习
-
- JavaScript正则表达式基础与实战
- 在任何一门编程语言中,正则表达式,都是一项重要的知识,它提供了高效的字符串匹配与捕获机制,可以极大的简化程序设计。
- 487次学习
-
- 从零制作响应式网站—Grid布局
- 本系列教程将展示从零制作一个假想的网络科技公司官网,分为导航,轮播,关于我们,成功案例,服务流程,团队介绍,数据部分,公司动态,底部信息等内容区块。网站整体采用CSSGrid布局,支持响应式,有流畅过渡和展现动画。
- 485次学习
-
- ChatExcel酷表
- ChatExcel酷表是由北京大学团队打造的Excel聊天机器人,用自然语言操控表格,简化数据处理,告别繁琐操作,提升工作效率!适用于学生、上班族及政府人员。
- 4493次使用
-
- Any绘本
- 探索Any绘本(anypicturebook.com/zh),一款开源免费的AI绘本创作工具,基于Google Gemini与Flux AI模型,让您轻松创作个性化绘本。适用于家庭、教育、创作等多种场景,零门槛,高自由度,技术透明,本地可控。
- 4842次使用
-
- 可赞AI
- 可赞AI,AI驱动的办公可视化智能工具,助您轻松实现文本与可视化元素高效转化。无论是智能文档生成、多格式文本解析,还是一键生成专业图表、脑图、知识卡片,可赞AI都能让信息处理更清晰高效。覆盖数据汇报、会议纪要、内容营销等全场景,大幅提升办公效率,降低专业门槛,是您提升工作效率的得力助手。
- 4719次使用
-
- 星月写作
- 星月写作是国内首款聚焦中文网络小说创作的AI辅助工具,解决网文作者从构思到变现的全流程痛点。AI扫榜、专属模板、全链路适配,助力新人快速上手,资深作者效率倍增。
- 6557次使用
-
- MagicLight
- MagicLight.ai是全球首款叙事驱动型AI动画视频创作平台,专注于解决从故事想法到完整动画的全流程痛点。它通过自研AI模型,保障角色、风格、场景高度一致性,让零动画经验者也能高效产出专业级叙事内容。广泛适用于独立创作者、动画工作室、教育机构及企业营销,助您轻松实现创意落地与商业化。
- 5085次使用
-
- GPT-4王者加冕!读图做题性能炸天,凭自己就能考上斯坦福
- 2023-04-25 501浏览
-
- 单块V100训练模型提速72倍!尤洋团队新成果获AAAI 2023杰出论文奖
- 2023-04-24 501浏览
-
- ChatGPT 真的会接管世界吗?
- 2023-04-13 501浏览
-
- VR的终极形态是「假眼」?Neuralink前联合创始人掏出新产品:科学之眼!
- 2023-04-30 501浏览
-
- 实现实时制造可视性优势有哪些?
- 2023-04-15 501浏览

