微软AI双肩包专利获批:智能比价、滑雪时防越界确认
来源:搜狐
2023-08-31 16:53:32
0浏览
收藏
对于一个科技周边开发者来说,牢固扎实的基础是十分重要的,golang学习网就来带大家一点点的掌握基础知识点。今天本篇文章带大家了解《微软AI双肩包专利获批:智能比价、滑雪时防越界确认》,主要介绍了,希望对大家的知识积累有所帮助,快点收藏起来吧,否则需要时就找不到了!
IT之家 8 月 31 日消息,根据美国商标和专利局(USPTO)近日公示的清单,微软于今年 5 月提交了一项智能双肩包专利,其亮点在于整合了 AI 技术,可以识别佩戴者周围环境、自动响应用户聊天请求、访问基于云端的信息、以及和其它设备交互。

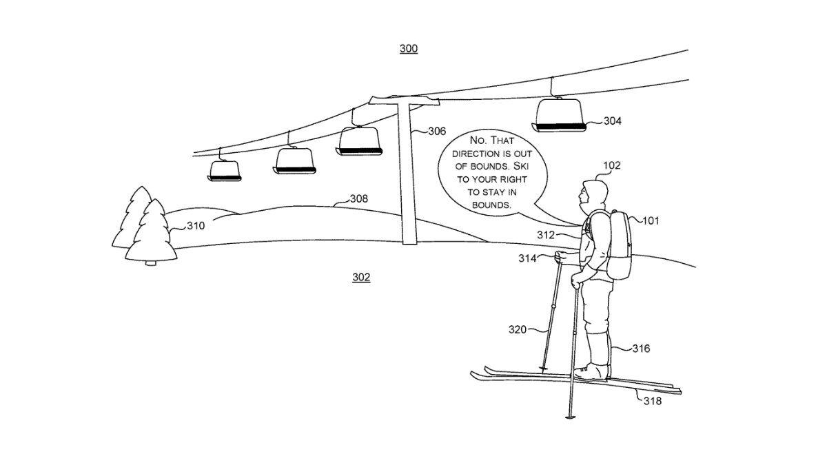
IT之家在此附上该专利设计草图如下,可以看到双肩包肩带位置配有摄像头、麦克风、扬声器等多个传感器,双肩包底部还配有网络接口、处理器和存储器等等。 IT之家在这里提供了该专利设计的草图,如下图所示。可以看到,双肩包的肩带位置配备了摄像头、麦克风、扬声器等多个传感器,而双肩包的底部还配备了网络接口、处理器和存储器等设备
微软在专利描述中表示,随着计算性能的不断演进,数字助理的技能也得到了增强。该发明概念涉及改进可穿戴式数字助理,以帮助用户完成各种任务

在微软的专利描述中,有一种应用场景是佩戴AI双肩包去滑雪,它可以通过扫描周围环境来告知用户是否越界。另外,当用户站在音乐海报前面时,它还可以根据用户的提示自动创建日历项,提醒购票和参加音乐会。此外,在超市中,它还可以自动检测过去1-2周的价格,并与其他商超的价格情况进行对比

好了,本文到此结束,带大家了解了《微软AI双肩包专利获批:智能比价、滑雪时防越界确认》,希望本文对你有所帮助!关注golang学习网公众号,给大家分享更多科技周边知识!
版本声明
本文转载于:搜狐 如有侵犯,请联系study_golang@163.com删除
全新OPPO A38曝光:搭载联发科Helio G85处理器,性能出众
- 上一篇
- 全新OPPO A38曝光:搭载联发科Helio G85处理器,性能出众
- 下一篇
- 即将登场的谷歌 Pixel 8 手机已通过 FCC 认证!
查看更多
最新文章
-
- 科技周边 · 人工智能 | 9分钟前 |
- Minimax海螺AI通话功能使用教程
- 269浏览 收藏
-
- 科技周边 · 人工智能 | 11分钟前 | Capybara
- CapybaraAI对话保存功能详解
- 232浏览 收藏
-
- 科技周边 · 人工智能 | 13分钟前 |
- 多模态AI能生成视频吗?实测视频创作能力
- 150浏览 收藏
-
- 科技周边 · 人工智能 | 21分钟前 |
- PerplexityAI多版本文案生成技巧汇总
- 212浏览 收藏
-
- 科技周边 · 人工智能 | 26分钟前 |
- MuleRun如何调用IP地理位置
- 254浏览 收藏
-
- 科技周边 · 人工智能 | 27分钟前 | Perplexity
- Perplexity屏蔽网站方法_自定义搜索范围教程
- 380浏览 收藏
-
- 科技周边 · 人工智能 | 45分钟前 | 人工智能工具
- CopyAI批量生成文案变体技巧
- 382浏览 收藏
-
- 科技周边 · 人工智能 | 56分钟前 |
- Capybara人工智能最佳实践指南
- 235浏览 收藏
-
- 科技周边 · 人工智能 | 1小时前 |
- Minimax智能平台使用全攻略详解
- 224浏览 收藏
-
- 科技周边 · 人工智能 | 1小时前 |
- 松鼠AI教育机构测评及学习效果分析
- 366浏览 收藏
-
- 科技周边 · 人工智能 | 1小时前 |
- 即梦AI固定脸型方法及LoRA使用教程
- 501浏览 收藏
-
- 科技周边 · 人工智能 | 1小时前 |
- workbuddy任务批量编辑技巧
- 325浏览 收藏
查看更多
课程推荐
-
- 前端进阶之JavaScript设计模式
- 设计模式是开发人员在软件开发过程中面临一般问题时的解决方案,代表了最佳的实践。本课程的主打内容包括JS常见设计模式以及具体应用场景,打造一站式知识长龙服务,适合有JS基础的同学学习。
- 543次学习
-
- GO语言核心编程课程
- 本课程采用真实案例,全面具体可落地,从理论到实践,一步一步将GO核心编程技术、编程思想、底层实现融会贯通,使学习者贴近时代脉搏,做IT互联网时代的弄潮儿。
- 516次学习
-
- 简单聊聊mysql8与网络通信
- 如有问题加微信:Le-studyg;在课程中,我们将首先介绍MySQL8的新特性,包括性能优化、安全增强、新数据类型等,帮助学生快速熟悉MySQL8的最新功能。接着,我们将深入解析MySQL的网络通信机制,包括协议、连接管理、数据传输等,让
- 500次学习
-
- JavaScript正则表达式基础与实战
- 在任何一门编程语言中,正则表达式,都是一项重要的知识,它提供了高效的字符串匹配与捕获机制,可以极大的简化程序设计。
- 487次学习
-
- 从零制作响应式网站—Grid布局
- 本系列教程将展示从零制作一个假想的网络科技公司官网,分为导航,轮播,关于我们,成功案例,服务流程,团队介绍,数据部分,公司动态,底部信息等内容区块。网站整体采用CSSGrid布局,支持响应式,有流畅过渡和展现动画。
- 485次学习
查看更多
AI推荐
-
- ChatExcel酷表
- ChatExcel酷表是由北京大学团队打造的Excel聊天机器人,用自然语言操控表格,简化数据处理,告别繁琐操作,提升工作效率!适用于学生、上班族及政府人员。
- 4232次使用
-
- Any绘本
- 探索Any绘本(anypicturebook.com/zh),一款开源免费的AI绘本创作工具,基于Google Gemini与Flux AI模型,让您轻松创作个性化绘本。适用于家庭、教育、创作等多种场景,零门槛,高自由度,技术透明,本地可控。
- 4590次使用
-
- 可赞AI
- 可赞AI,AI驱动的办公可视化智能工具,助您轻松实现文本与可视化元素高效转化。无论是智能文档生成、多格式文本解析,还是一键生成专业图表、脑图、知识卡片,可赞AI都能让信息处理更清晰高效。覆盖数据汇报、会议纪要、内容营销等全场景,大幅提升办公效率,降低专业门槛,是您提升工作效率的得力助手。
- 4475次使用
-
- 星月写作
- 星月写作是国内首款聚焦中文网络小说创作的AI辅助工具,解决网文作者从构思到变现的全流程痛点。AI扫榜、专属模板、全链路适配,助力新人快速上手,资深作者效率倍增。
- 6138次使用
-
- MagicLight
- MagicLight.ai是全球首款叙事驱动型AI动画视频创作平台,专注于解决从故事想法到完整动画的全流程痛点。它通过自研AI模型,保障角色、风格、场景高度一致性,让零动画经验者也能高效产出专业级叙事内容。广泛适用于独立创作者、动画工作室、教育机构及企业营销,助您轻松实现创意落地与商业化。
- 4849次使用
查看更多
相关文章
-
- GPT-4王者加冕!读图做题性能炸天,凭自己就能考上斯坦福
- 2023-04-25 501浏览
-
- 单块V100训练模型提速72倍!尤洋团队新成果获AAAI 2023杰出论文奖
- 2023-04-24 501浏览
-
- ChatGPT 真的会接管世界吗?
- 2023-04-13 501浏览
-
- VR的终极形态是「假眼」?Neuralink前联合创始人掏出新产品:科学之眼!
- 2023-04-30 501浏览
-
- 实现实时制造可视性优势有哪些?
- 2023-04-15 501浏览

