微软AR/VR专利提出减少传感器噪点的图像感知像素配置方法
科技周边不知道大家是否熟悉?今天我将给大家介绍《微软AR/VR专利提出减少传感器噪点的图像感知像素配置方法》,这篇文章主要会讲到等等知识点,如果你在看完本篇文章后,有更好的建议或者发现哪里有问题,希望大家都能积极评论指出,谢谢!希望我们能一起加油进步!
(映维网Nweon 2023年09月13日)在低能见度条件下成像时,传统图像传感器的信噪比可能会受到读取噪点的高度影响。例如,在低光成像条件下,CMOS或CCD成像像素可能只能检测到少量光子,这可能导致读取噪点接近或超过成像像素检测到的信号,并降低信噪比
在低光条件下,以高帧速率进行成像时,CMOS或CCD图像传感器检测到的信号中的噪点问题通常会加剧。尽管可以使用较低的帧速率来允许CMOS或CCD传感器检测到足够的光子,但是使用低帧速率通常会导致捕捉到的图像中出现运动模糊,这在头戴式显示器中尤为明显
除了影响透视成像外,与常规图像传感器相关的读取噪点和/或运动模糊可能影响头显执行的其他操作,如后期重投影、滚动快门校正、对象追踪、表面重建、语义标记、对象的3D重建等。
针对这个问题,微软在名为“Image sensing pixel configurations for reduced sensor noise的专利申请中提出了一种旨在减少传感器噪点的图像感知像素配置方法。
在一个实施例中,专利描述了一种配置为捕获具有减轻噪点图像的图像传感器。所述图像传感器包括对像素设计的修改,以减轻成像传感器中的dark shot噪点。修改后的图像感测像素的多个排列形成传感器阵列。
多个图像感测像素中的每个图像感测像素包括配置为接收光子以方便图像捕获的有源区域。每个有源区域包括长度和宽度。对于多个图像感测像素中的至少一个图像感测像素,有源区域的长度或宽度小于至少一个图像感测像素与相邻图像感测像素之间像素间距测量的约80%。相对于像素间距测量的有源区域的大小有助于减轻图像传感器的传感器噪点。

根据图1所示,传感器110可能包括图像传感器112。图像传感器112可能由图像感测像素120的排列组成,这些图像感测像素120形成传感器阵列,并且每个像素都被配置为检测光子以促进图像捕获
例如,其中的图像传感器112包含一个或多个单光子雪崩二极管(SPAD)传感器,图像传感像素120能够通过响应光子来引发雪崩效应。在光子被探测后,可以给图像传感像素120充电,以便它准备好用于探测额外的雪崩事件

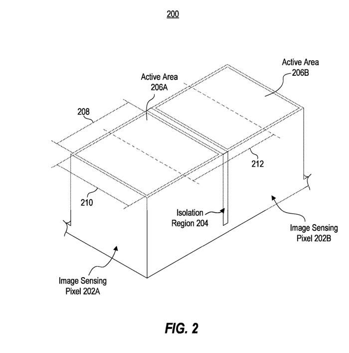
图2示出了用于弱光成像的传统图像传感器200的图像传感像素202A和202B。如图2所示,图像传感像素202A和202B通过所示的隔离区204进行深沟槽隔离。包围图像传感像素202A和202B的折线表明,常规图像传感器200可以包含任意数量的图像传感像素以形成传感器阵列。
图2分别展示了图像传感器像素202A和202B的有源区域206A和206B。正如前文所述,有源区域206A和206B包括了图像传感器像素202A和202B的光输入区域,光子可以通过这些区域到达其他像素组件,从而促进图像的生成
在图2中展示了传统图像传感器200的图像传感像素202A的有源区域206A的长度208和宽度210。同时,图2还展示了像素间距测量212,即图像传感像素202A和202B之间中心到中心的距离
图像传感像素202A的有源区域206A的长度208和宽度210接近像素间距测量212,尝试最大化有源区域206A,以允许图像传感像素202A在图像捕获期间捕获所有可用光子,特别是在弱光条件下成像时。
然而,这种尺寸和宽度容易导致传感器产生噪点。与图2中展示的传统图像传感器200不同,微软构思的图像传感器采用了缩小的有源区域,从而有助于减少图像捕捉时的传感器噪点

图3示出配置为捕获具有减轻噪点图像的图像传感器300的图像传感像素302A和302B。图像传感器300可包括SPAD传感器或其他类型的图像传感器,并且图3所示的图像传感像素302A和302B可沿图像传感器300的同一行或同一列排列。
弯曲断行表明,图像传感器300可以包含任意数量的图像传感像素302A和302B以形成传感器阵列
在图3的实施例中,图像传感器300的图像传感像素302A和302B分别由各自的隔离区所包围。隔离区304A和304B可在相邻图像传感像素之间提供光学和/或电气隔离。
图3示出图像传感像素302A的有源区域306A的长度308和宽度310。图3同时示出图像传感像素302A和302B之间的像素间距测量312。
相较于与图2传统图像传感器200的图像感测像素202A的有源区域206A的长度208和宽度210,并且反直觉地,图3选择为小于像素间距测量312,从而减小有源区域306A。例如,有源区306A的长度308和/或宽度310可以小于像素间距测量312的大约80%,或者小于像素间距度量312的大约75%、70%、65%、60%、55%、50%、40%或30%。
根据实验结果显示,图像传感器的像素间距小于80%时,图像感测像素的有源区域足够大,适合于微光成像,并且仍然提供足够小的有源表面积,以减少噪点的可察觉性
作为举例说明的方式,图像传感器300的像素间距测量312可包括约6.4 μm的长度,其可与常规图像传感器200的像素间距测量212相匹配。常规图像传感器200的图像传感像素202A的有源区域206A的长度208和/或宽度210可大于像素间距测量值212的约90%,例如6.3 μm。
相反,图像传感器300的图像传感像素302A的有源区域306A的长度308和/或宽度310可低于像素间距测量312的约80%,例如约4 μm(像素间距测量的约60%)。
继续上面的例子,当有源区306A的长度308和宽度310都减小到像素间距测量312的大约60%时,有源区306A的周长可以类似地减小到图像感测像素302A的总周长的大约60%。与总像素面积相比,有源区306A的减小的周长可有助于有源区306B的面积的相应减小。
如上所述,减少的有源区域306A可有利地有助于减少图像传感器300捕获的图像中的噪点。

图4示出图像传感器400的图像传感像素402A和402B的示例组件的横截面侧面视图,其包含减少的有源区域,类似于图3的图像传感器300。
在图4中,我们可以看到微透镜430A和430B分别安装在图像传感像素402A和402B的有源区域406A和406B上。这些微透镜的作用是引导环境光线朝向有源区域406A和406B,使环境中的光子能够进入图像传感像素402A和402B的内部组件
如图4所示,微透镜430A和430B在图像感测像元402A和402B之间的接口处相邻,使得微透镜430A和430B分别将尽可能多的环境光引导到图像感测像元402A和402B的有源区域406A和406B。图像传感像素402A的微透镜430A的直径432A与图像传感像素402A本身的长度和/或宽度基本相似。
图4显示了图像传感器像素402A的有源区域406A的长度408和/或宽度,这些尺寸被选为小于微透镜430A的直径432A。例如,有源区域406A的长度408和/或宽度可以小于微透镜430A直径432A的约80%
根据实验结果显示,当图像传感器的微透镜直径小于相应像素直径的约80%时,图像传感器的微透镜足够大,适合于低光成像,并且仍然提供足够小的有源表面积,从而有效减少噪点的可感知程度
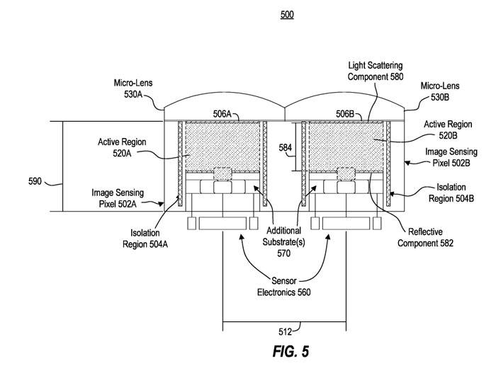
在一个实施例中,通过减少图像传感器的有源区域深度可以实现减少暗拍噪点。图5展示了图像传感器500的图像传感像素502A和502B的示例组件的横截面侧面视图,其中图像传感器500具有减小的有源区域深度

图像传感像素502A和502B包括类似于图像传感器400的图像传感像素402A和402B的组件,例如微透镜530A和530B、有源区域506A和506B、有源区域520A和520B、以及隔离区域504A和504B等。
图5还展示了图像传感像素502B的有源区域520B的深度。该深度从有源区域520B的顶部延伸到底部,包括面向场景的部分以及与场景相邻的涂层、缓冲衬底等元件的部分。深度的范围可以覆盖吸收区、倍增区、电位阱、光电二极管和其他光活性组分的下边缘
如图5所示,所述有源区域520B的深度584小于所述像素间距测量512和所述隔离区域504B的沟槽深度。例如,有源区域520B的深度584小于像素间距测量512的约80%。减少有源区域的深度有助于减少图像中的噪点。
微软指出,与常规方法用于改善低光成像的不同,发明的实施例针对图像传感器,该图像传感器具有减少的有源区域和/或减少的有源区域深度像素,可以在弱光条件下捕获减少噪点的图像
相关专利:Microsoft Patent | Image sensing pixel configurations for reduced sensor noise
微软在2022年2月提交了一项名为“Microsoft Patent | Image sensing pixel configurations for reduced sensor noise”的专利申请,并最近被美国专利商标局公布
本篇关于《微软AR/VR专利提出减少传感器噪点的图像感知像素配置方法》的介绍就到此结束啦,但是学无止境,想要了解学习更多关于科技周边的相关知识,请关注golang学习网公众号!
阿里云通义千问 AI 大模型全面向公众开放
- 上一篇
- 阿里云通义千问 AI 大模型全面向公众开放
- 下一篇
- 钛媒体科股早知道:自动驾驶+人型机器人,该重要器件为感知的基础和核心
-
- 科技周边 · 人工智能 | 31分钟前 |
- Mac Studio集群:多机跑70B大模型教程
- 370浏览 收藏
-
- 科技周边 · 人工智能 | 32分钟前 | CanvaAI Canva可画
- Canva Pro会员价格及权益详解
- 246浏览 收藏
-
- 科技周边 · 人工智能 | 40分钟前 | Hermes Agent HermesAgent
- Hermes Agent缓存清理方法【技巧】
- 420浏览 收藏
-
- 科技周边 · 人工智能 | 44分钟前 | 骡子快跑
- 骡子快跑模拟面试怎么设置
- 382浏览 收藏
-
- 科技周边 · 人工智能 | 57分钟前 | CodeGeeX
- 判断今天日期是否为指定日期
- 296浏览 收藏
-
- 科技周边 · 人工智能 | 1小时前 |
- DeepSeek替代ChatGPT优势解析
- 264浏览 收藏
-
- 科技周边 · 人工智能 | 1小时前 |
- 如何查看Perplexity API账单?进入Settings Billing管理面板
- 263浏览 收藏
-
- 科技周边 · 人工智能 | 1小时前 |
- 矢量图天花板!Recraft一键生成SVG全流程
- 446浏览 收藏
-
- 科技周边 · 人工智能 | 1小时前 | Hermes Agent HermesAgent
- HermesAgent数据归档:策略集成实战教程
- 104浏览 收藏
-
- 科技周边 · 人工智能 | 1小时前 |
- WorkBuddy一键配置文件下发方法
- 170浏览 收藏
-
- 科技周边 · 人工智能 | 2小时前 | Midjourney
- Midjourney生成表情包Gif制作教程
- 383浏览 收藏
-
- 前端进阶之JavaScript设计模式
- 设计模式是开发人员在软件开发过程中面临一般问题时的解决方案,代表了最佳的实践。本课程的主打内容包括JS常见设计模式以及具体应用场景,打造一站式知识长龙服务,适合有JS基础的同学学习。
- 543次学习
-
- GO语言核心编程课程
- 本课程采用真实案例,全面具体可落地,从理论到实践,一步一步将GO核心编程技术、编程思想、底层实现融会贯通,使学习者贴近时代脉搏,做IT互联网时代的弄潮儿。
- 516次学习
-
- 简单聊聊mysql8与网络通信
- 如有问题加微信:Le-studyg;在课程中,我们将首先介绍MySQL8的新特性,包括性能优化、安全增强、新数据类型等,帮助学生快速熟悉MySQL8的最新功能。接着,我们将深入解析MySQL的网络通信机制,包括协议、连接管理、数据传输等,让
- 500次学习
-
- JavaScript正则表达式基础与实战
- 在任何一门编程语言中,正则表达式,都是一项重要的知识,它提供了高效的字符串匹配与捕获机制,可以极大的简化程序设计。
- 487次学习
-
- 从零制作响应式网站—Grid布局
- 本系列教程将展示从零制作一个假想的网络科技公司官网,分为导航,轮播,关于我们,成功案例,服务流程,团队介绍,数据部分,公司动态,底部信息等内容区块。网站整体采用CSSGrid布局,支持响应式,有流畅过渡和展现动画。
- 485次学习
-
- ChatExcel酷表
- ChatExcel酷表是由北京大学团队打造的Excel聊天机器人,用自然语言操控表格,简化数据处理,告别繁琐操作,提升工作效率!适用于学生、上班族及政府人员。
- 4509次使用
-
- Any绘本
- 探索Any绘本(anypicturebook.com/zh),一款开源免费的AI绘本创作工具,基于Google Gemini与Flux AI模型,让您轻松创作个性化绘本。适用于家庭、教育、创作等多种场景,零门槛,高自由度,技术透明,本地可控。
- 4861次使用
-
- 可赞AI
- 可赞AI,AI驱动的办公可视化智能工具,助您轻松实现文本与可视化元素高效转化。无论是智能文档生成、多格式文本解析,还是一键生成专业图表、脑图、知识卡片,可赞AI都能让信息处理更清晰高效。覆盖数据汇报、会议纪要、内容营销等全场景,大幅提升办公效率,降低专业门槛,是您提升工作效率的得力助手。
- 4738次使用
-
- 星月写作
- 星月写作是国内首款聚焦中文网络小说创作的AI辅助工具,解决网文作者从构思到变现的全流程痛点。AI扫榜、专属模板、全链路适配,助力新人快速上手,资深作者效率倍增。
- 6580次使用
-
- MagicLight
- MagicLight.ai是全球首款叙事驱动型AI动画视频创作平台,专注于解决从故事想法到完整动画的全流程痛点。它通过自研AI模型,保障角色、风格、场景高度一致性,让零动画经验者也能高效产出专业级叙事内容。广泛适用于独立创作者、动画工作室、教育机构及企业营销,助您轻松实现创意落地与商业化。
- 5097次使用
-
- GPT-4王者加冕!读图做题性能炸天,凭自己就能考上斯坦福
- 2023-04-25 501浏览
-
- 单块V100训练模型提速72倍!尤洋团队新成果获AAAI 2023杰出论文奖
- 2023-04-24 501浏览
-
- ChatGPT 真的会接管世界吗?
- 2023-04-13 501浏览
-
- VR的终极形态是「假眼」?Neuralink前联合创始人掏出新产品:科学之眼!
- 2023-04-30 501浏览
-
- 实现实时制造可视性优势有哪些?
- 2023-04-15 501浏览

