微软提出预测铰接对象姿态技术,用于AR/VR身体姿态捕捉的专利
对于一个科技周边开发者来说,牢固扎实的基础是十分重要的,golang学习网就来带大家一点点的掌握基础知识点。今天本篇文章带大家了解《微软提出预测铰接对象姿态技术,用于AR/VR身体姿态捕捉的专利》,主要介绍了,希望对大家的知识积累有所帮助,快点收藏起来吧,否则需要时就找不到了!
(映维网Nweon 2023年09月18日)为了准确地表示人类用户的真实世界姿态,通常需要相对详细的关于用户身体部位位置和方向的信息,但这些信息并不总是可用。例如,当使用头戴式设备提供虚拟现实体验时,系统可能只能获取与用户头部和手部相关的空间信息。然而,在大多数情况下,这是不足以准确地重现人类用户的真实姿态的
所以在名为“Pose prediction for articulated object”的专利申请中,微软提出了一种预测铰接对象的姿态的技术。特别地,机器学习模型接收到铰接对象的n个不同关节的空间信息,其中n个关节小于铰接对象的所有关节。
在人类用户的情况下,n个关节可以包括人类用户的头部关节和/或一个或两个手腕关节,它们与详细说明用户头部和/或手的参数的空间信息相关联
机器学习模型已训练为接收铰接对象的n+m个关节的输入空间信息,其中m大于等于1。例如,在初始训练期间,机器学习模型会接收到与铰接对象的几乎所有关节相对应的输入数据。所述n+m个关节可包括所铰接对象的每一个关节。
在其他示例中,可能存在少于铰接对象的所有关节的情况下,有n+m个关节。在训练过程中,输入给机器学习模型的数据可能会逐渐被隐藏。可以用预定义的值来替换特定节点在m个节点中对应的输入数据,或者干脆省略
换句话说,机器学习模型训练成基于关于铰接对象的各种可移动部分的位置/方向的逐渐减少的信息来准确预测铰接对象的姿态。

使用这种方法,机器学习模型能够在运行时准确预测铰接物体的姿态,而且只需稀疏的输入数据。微软指出,这项技术可以精确地再现人类用户铰接物体在真实世界中的姿态,而无需大量关于每个关节方向的信息
换句话说,通过更准确地再现人类用户的真实世界姿势,发明可以提供改进人机交互的技术优势。这些技术优势包括提高虚拟现实体验的沉浸感,以及提高手势识别系统的准确性
另外,所述技术可以通过减少必须作为姿态预测过程的输入而收集的数据量,从而在准确地重现人类用户的真实姿态的同时减少计算资源的消耗。
示例方法200展示了用于预测铰接对象姿态的图2

在第202处,接收n个关节的空间信息,这些关节是用于铰接对象的。系统接收到铰接对象的n个关节的空间信息,其中包含的关节数量少于铰接对象的所有关节。将关节的空间信息表示为连接身体部分的六个自由度的位置和方向,这可以用来推断关节的状态
作为一个示例,所述n个关节可包括人体的头部关节,所述头部关节的空间信息可详细描述人体头部的参数。另外,所述n个关节可包括人体的一个或多个腕关节,所述一个或多个腕关节的空间信息可详细描述人体的一只或多只手的参数。

图3显示了人类用户。人类用户有一个头300和两只手302A和302B。计算系统可以接收人类用户的一个或多个关节的空间信息,其可以包括头部和/或手腕关节。
所述铰接对象的n个关节的空间信息可由一个或多个传感器输出的定位数据导出。传感器可以集成到一个或多个由人类用户的相应身体部位持有或佩戴的设备之中。
例如,传感器可以包括一个或多个集成到头戴式显示设备和/或手持控制器中的惯性测量单元。作为另一个例子,传感器可以包括一个或多个摄像头。
图3示意性地说明了不同类型的传感器,其中来自传感器的输出可以包括或可用于导出空间信息。具体地,人类用户在其头部300佩戴头戴式显示设备304。
另外,人类用户手持位置传感器306A和306B,所述位置传感器可配置为检测并向头显 304和/或配置为接收空间信息的另一计算系统报告用户手部的运动。
在图2中,我们回到了204的情境。我们将n个关节的空间信息传递给之前进行过训练的机器学习模型。这个模型接收n+m个关节的空间信息作为输入,其中m的值大于等于1。换句话说,相较于之前的训练模型,这个机器学习模型接收的关节空间信息要少一些
在206中,从机器学习模型接收作为输出的关节对象的姿态预测,所述预测至少基于n个关节的空间信息,并且不包含它们的关节的空间信息。换句话说,即便没有提供m个关节的空间信息,机器学习模型都可以预测关节对象的完整姿态。
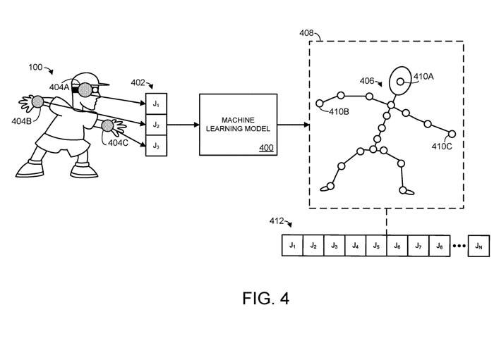
示意图4展示了一个示例机器学习模型400,以说明这个过程

在图4中,机器学习模型接收到空间信息402,对应三个不同的关节J1、J2、J3。关节的空间信息可以采用任何合适的计算机数据的形式,而所述数据指定或可用于导出与关节相连的身体部位的位置和/或方向。
例如,空间信息可以直接指定身体部位的位置和方向,和/或空间信息可以指定关节相对于一个或多个旋转轴的一个或多个旋转。在图4中,关节J1、J2、J3对应于人类用户的头部关节404A和两个手腕关节404B/404C,如图用户身体上叠加的阴影圆圈所示。
在本例中,n个关节包括三个关节,分别对应人体的头部和手腕关节。基于所述输入空间信息402,所述机器学习模型输出所述铰接对象的预测位姿406。
另外,机器学习模型可以输出与虚拟铰接表示的关节相对应的预测空间信息。人类用户可以由具有卡通或非人类比例的虚拟化身Avatar表示。例如,预测的空间信息可能对应于SMPL表示的关节。
换句话说,铰接表示的虚拟表示的关节不必与铰接对象的关节具有1:1的对应关系。因此,机器学习模型预测的空间信息输出可以是针对与铰接对象的n+m个关节不直接对应的关节。例如,虚拟表示可能比铰接对象具有更少的脊柱关节。
机器学习模型可以用任何合适的方式进行训练。在一个实施例中,机器学习模型可能先前使用具有铰接对象的ground truth标签的训练输入数据进行训练。
换句话说,可以为机器学习模型提供铰接对象关节的训练空间信息,并标记为指定空间信息所对应的铰接对象的实际姿态的ground truth标签。
如上所述,可以训练机器学习模型以接收n+m个关节的空间信息作为输入。这包括,在第一次训练迭代中,为机器学习模型提供所有n+m个关节的训练输入数据。在随后的一系列训练迭代中,m个关节的训练输入数据可以逐渐被屏蔽。
例如,在第二次训练迭代中,m个关节中的第一个关节可以被屏蔽,其中训练数据集中关节的空间信息替换为表示被屏蔽关节的预定义值,或者干脆省略。
作为示例。在第三次训练迭代中,m个关节中的第二个关节可以被屏蔽,以此类推,直到m个关节都被屏蔽,并且只向机器学习模型提供了n个关节的空间信息。
这一过程用图5a-5d说明。具体而言,在图5A中,为机器学习模型400提供了一个训练输入数据集。在本实施例中,训练输入数据包括与所述铰接对象的多个不同姿态相对应的空间信息,包括第一姿态502A和第二姿态502B。

在图5A中,我们提供了n+m个关节的空间信息,用于机器学习模型的铰接对象。在人体的简化表示中,每个代表关节的圆圈都用白色填充模式来表示。然而,在图5B中,我们屏蔽了504A,如图所示,用黑色填充图案来表示接头504A的圆圈
换句话说,图5A表示了训练过程的初始迭代,其中提供了所有n+m个关节的空间信息给机器学习模型。而图5B则表示了训练过程的第二次迭代,其中屏蔽了m个关节中的第一个关节504A

在图5C中,所述铰接表示的m个关节中的第二关节504B被遮挡。同样,在图5D中,m个关节中的第三个关节被遮挡。可以持续进行多次训练迭代,直到m个关节中的每个关节的空间信息被屏蔽,并且只向机器学习模型提供n个关节的空间信息。
在上述场景中,我们描述了铰接对象为人体全身的情况。然而,铰接对象也可以采用其他形式

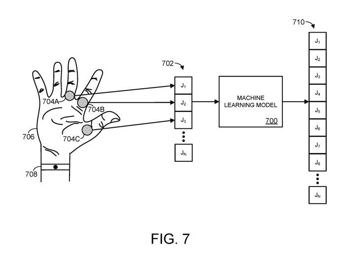
如图7所示,铰接对象是人手,而不是整个人体。具体而言,图7显示了一个示例机器学习模型700。
机器学习模型700接收关节J1、J2和J3的空间信息,它们对应于一个铰接物体的三个关节704A-C,在本例中采用人手706的形式。
在这种情况下,具体来说,n个关节包括人手的一个或多个手指关节。一个或多个手指关节的空间信息详细描述了人手的一个或多个手指或手指段的参数。例如,空间信息可以指定手的手指的位置/方向,和/或应用于手关节的旋转
可以使用任何合适的方法来收集关节空间信息,例如通过位置传感器708。举个例子,位置传感器可以采用配置为对手部进行成像的摄像头形式。另一个例子是,位置传感器可以包括适当的射频天线,其配置为将手部表面暴露在电磁场中,并评估导电人体皮肤的运动和接近对天线处电磁场阻抗的影响
根据输入的空间信息702,机器学习模型会输出一组预测的空间信息710。空间信息710可以用来构建预测的铰接对象的位姿。正如前面所述,这些空间信息可以表示铰接对象身体部位的位置和方向
相关专利:Microsoft Patent | Pose prediction for articulated object
微软最初在2022年6月提交了一份名为“Pose prediction for articulated object”的专利申请,并且该申请近日被美国专利商标局公布
到这里,我们也就讲完了《微软提出预测铰接对象姿态技术,用于AR/VR身体姿态捕捉的专利》的内容了。个人认为,基础知识的学习和巩固,是为了更好的将其运用到项目中,欢迎关注golang学习网公众号,带你了解更多关于AR/VR,微软专利,身体姿态捕捉的知识点!
开发者为《传送门2》发布 第三方VR Mod
- 上一篇
- 开发者为《传送门2》发布 第三方VR Mod
- 下一篇
- 「字少信息量大」,Salesforce、MIT 研究者教 GPT-4「改稿」,数据集已开源
-
- 科技周边 · 人工智能 | 1小时前 |
- 本地大模型微调入门_LoRA低显存训练指南
- 117浏览 收藏
-
- 科技周边 · 人工智能 | 1小时前 | Hermes Agent HermesAgent
- Hermes Agent是开源的吗_Hermes Agent开源协议与代码说明【开源】
- 498浏览 收藏
-
- 科技周边 · 人工智能 | 1小时前 |
- 如何在Perplexity中切换GPT-4o模型_进入Settings页面手动选择AI模型
- 438浏览 收藏
-
- 科技周边 · 人工智能 | 1小时前 | openclaw
- OpenClawAI运行慢怎么优化_OpenClawAI提升大模型响应速度技巧【技巧】
- 425浏览 收藏
-
- 科技周边 · 人工智能 | 1小时前 |
- 如何提升代码运行效率并降低功耗 利用DeepSeek Coder优化算法时间复杂度
- 254浏览 收藏
-
- 科技周边 · 人工智能 | 2小时前 | CodeGeeX CodeGeeX生成Go代码保姆级教程
- CodeGeeX怎么写Go日志_CodeGeeX生成Zap日志代码【Go日志】
- 155浏览 收藏
-
- 科技周边 · 人工智能 | 2小时前 | AI工具 民间故事ai工具
- DALL-E怎么设计AI民间故事插图_DALL-E设计AI民间故事插图详细流程说明
- 122浏览 收藏
-
- 科技周边 · 人工智能 | 2小时前 |
- 文心一言怎么分析用户评论_文心一言情感分析与洞察方法
- 223浏览 收藏
-
- 科技周边 · 人工智能 | 2小时前 |
- Minimax如何利用提示词控制颜色 Minimax配色方案写法
- 310浏览 收藏
-
- 科技周边 · 人工智能 | 2小时前 |
- 豆包AI怎样用数据增强年终总结说服力_豆包AI增说服力法【策略】
- 493浏览 收藏
-
- 科技周边 · 人工智能 | 2小时前 | ChatGPT
- 搭建高可用AI服务_Nginx反向代理与负载均衡配置
- 491浏览 收藏
-
- 科技周边 · 人工智能 | 3小时前 |
- 豆包AI如何做Plog图文排版_豆包AI制作Plog排版技巧全解析
- 200浏览 收藏
-
- 前端进阶之JavaScript设计模式
- 设计模式是开发人员在软件开发过程中面临一般问题时的解决方案,代表了最佳的实践。本课程的主打内容包括JS常见设计模式以及具体应用场景,打造一站式知识长龙服务,适合有JS基础的同学学习。
- 543次学习
-
- GO语言核心编程课程
- 本课程采用真实案例,全面具体可落地,从理论到实践,一步一步将GO核心编程技术、编程思想、底层实现融会贯通,使学习者贴近时代脉搏,做IT互联网时代的弄潮儿。
- 516次学习
-
- 简单聊聊mysql8与网络通信
- 如有问题加微信:Le-studyg;在课程中,我们将首先介绍MySQL8的新特性,包括性能优化、安全增强、新数据类型等,帮助学生快速熟悉MySQL8的最新功能。接着,我们将深入解析MySQL的网络通信机制,包括协议、连接管理、数据传输等,让
- 500次学习
-
- JavaScript正则表达式基础与实战
- 在任何一门编程语言中,正则表达式,都是一项重要的知识,它提供了高效的字符串匹配与捕获机制,可以极大的简化程序设计。
- 487次学习
-
- 从零制作响应式网站—Grid布局
- 本系列教程将展示从零制作一个假想的网络科技公司官网,分为导航,轮播,关于我们,成功案例,服务流程,团队介绍,数据部分,公司动态,底部信息等内容区块。网站整体采用CSSGrid布局,支持响应式,有流畅过渡和展现动画。
- 485次学习
-
- ChatExcel酷表
- ChatExcel酷表是由北京大学团队打造的Excel聊天机器人,用自然语言操控表格,简化数据处理,告别繁琐操作,提升工作效率!适用于学生、上班族及政府人员。
- 4467次使用
-
- Any绘本
- 探索Any绘本(anypicturebook.com/zh),一款开源免费的AI绘本创作工具,基于Google Gemini与Flux AI模型,让您轻松创作个性化绘本。适用于家庭、教育、创作等多种场景,零门槛,高自由度,技术透明,本地可控。
- 4812次使用
-
- 可赞AI
- 可赞AI,AI驱动的办公可视化智能工具,助您轻松实现文本与可视化元素高效转化。无论是智能文档生成、多格式文本解析,还是一键生成专业图表、脑图、知识卡片,可赞AI都能让信息处理更清晰高效。覆盖数据汇报、会议纪要、内容营销等全场景,大幅提升办公效率,降低专业门槛,是您提升工作效率的得力助手。
- 4696次使用
-
- 星月写作
- 星月写作是国内首款聚焦中文网络小说创作的AI辅助工具,解决网文作者从构思到变现的全流程痛点。AI扫榜、专属模板、全链路适配,助力新人快速上手,资深作者效率倍增。
- 6486次使用
-
- MagicLight
- MagicLight.ai是全球首款叙事驱动型AI动画视频创作平台,专注于解决从故事想法到完整动画的全流程痛点。它通过自研AI模型,保障角色、风格、场景高度一致性,让零动画经验者也能高效产出专业级叙事内容。广泛适用于独立创作者、动画工作室、教育机构及企业营销,助您轻松实现创意落地与商业化。
- 5063次使用
-
- GPT-4王者加冕!读图做题性能炸天,凭自己就能考上斯坦福
- 2023-04-25 501浏览
-
- 单块V100训练模型提速72倍!尤洋团队新成果获AAAI 2023杰出论文奖
- 2023-04-24 501浏览
-
- ChatGPT 真的会接管世界吗?
- 2023-04-13 501浏览
-
- VR的终极形态是「假眼」?Neuralink前联合创始人掏出新产品:科学之眼!
- 2023-04-30 501浏览
-
- 实现实时制造可视性优势有哪些?
- 2023-04-15 501浏览

