新标题:微软 Copilot 通过个性化 AI 服务为多人场景下提供定制化支持
来源:搜狐
2023-11-14 16:34:05
0浏览
收藏
哈喽!今天心血来潮给大家带来了《新标题:微软 Copilot 通过个性化 AI 服务为多人场景下提供定制化支持》,想必大家应该对科技周边都不陌生吧,那么阅读本文就都不会很困难,以下内容主要涉及到,若是你正在学习科技周边,千万别错过这篇文章~希望能帮助到你!
IT之家 11 月 14 日消息,微软 Win11 23H2 更新中已整合 Copilot AI 功能,在可以预见的未来,微软会进一步深化整合,理解和迎合各种用户的独特偏好和特征。


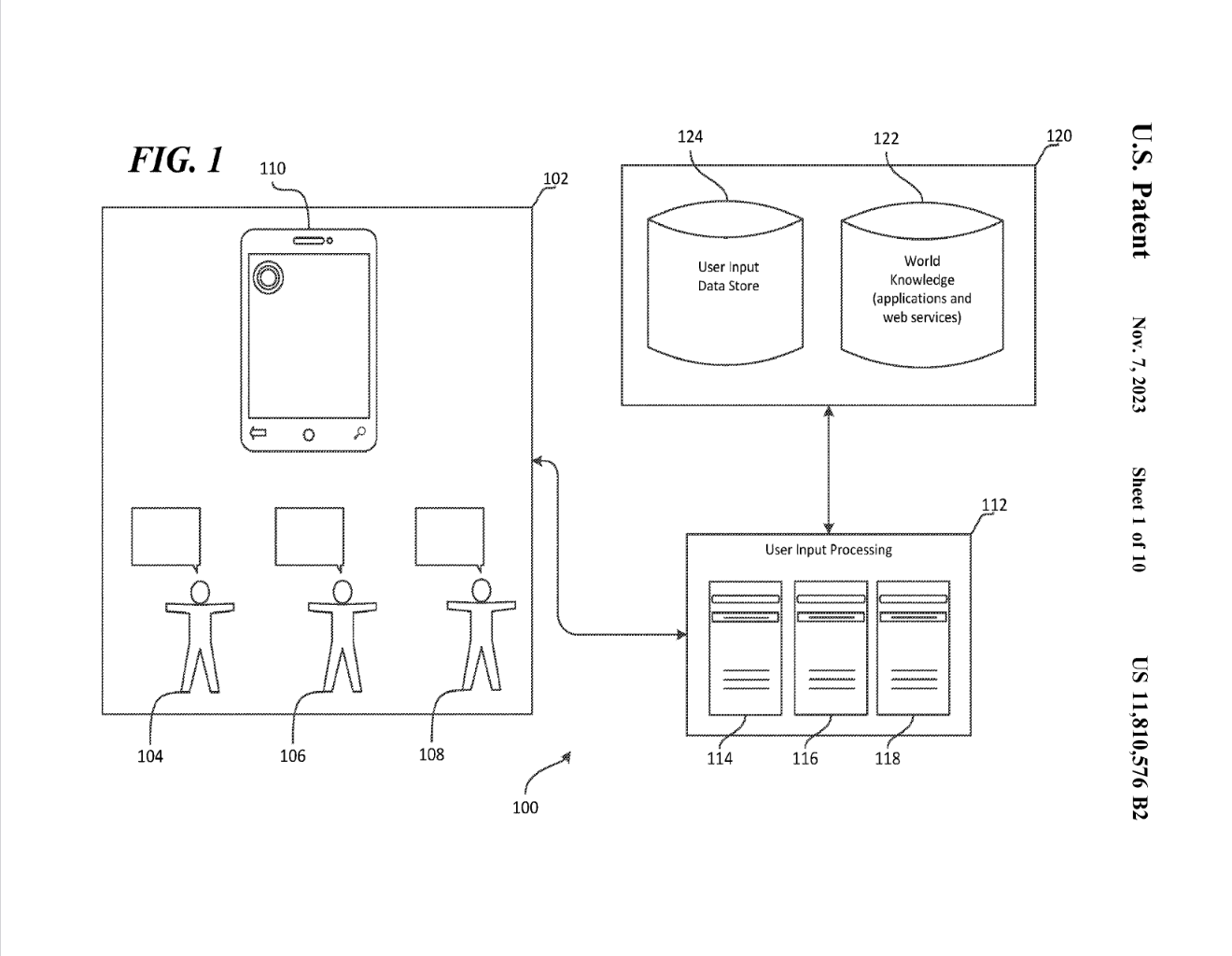
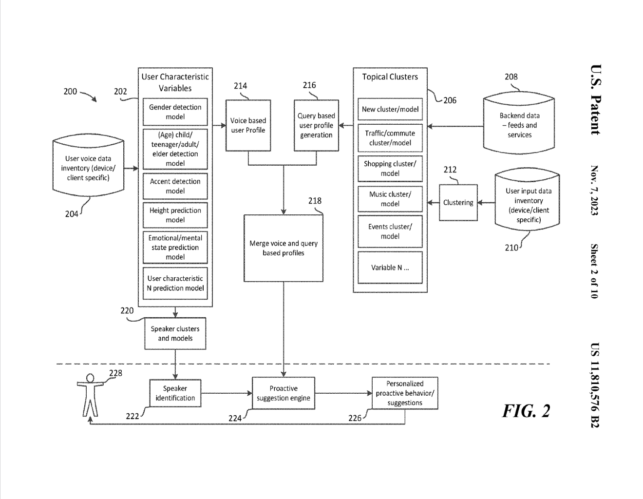
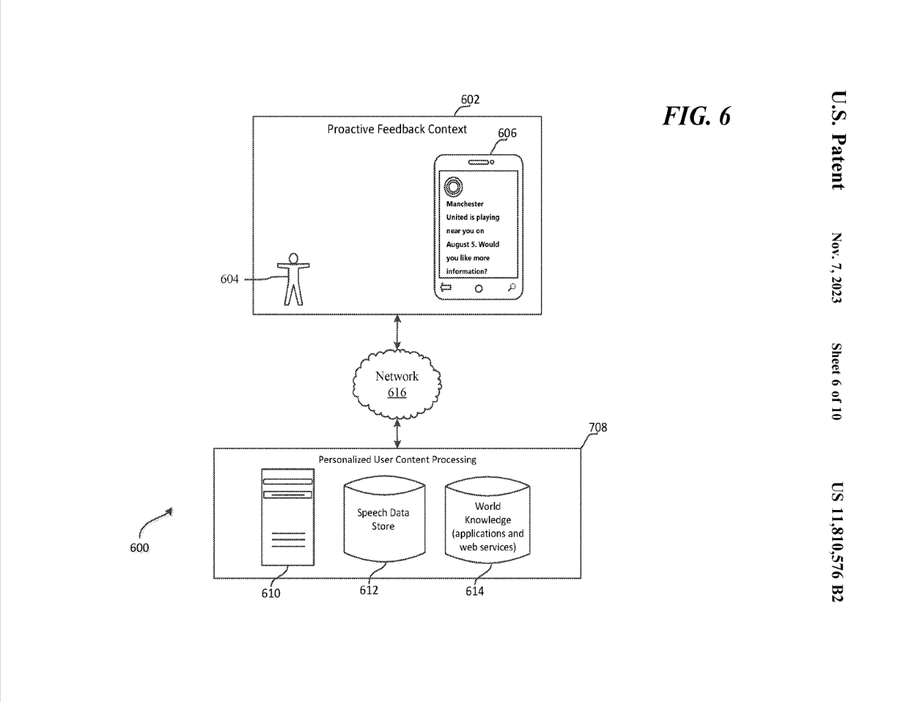
根据美国商标和专利局(USPTO)公示的清单,微软近日获得了一项关于 AI 的最新技术,根据语音内容、声音特征、语言使用以及自然语言处理技术来区分用户。
该专利概述的 AI 技术和提供标准化交互的传统 AI 模型不同,可以基于声音等多模态数据,结合每位用户的特征来创建对应的账号文件,可以更加个性化地响应和反馈用户需求。



这项专利适合于拥有多名用户的办公等环境,可以区分不同用户的需求,并提供更直观的交互式计算环境。IT之家在此附上专利原文链接【PDF】,有兴趣的用户可以深入阅读
终于介绍完啦!小伙伴们,这篇关于《新标题:微软 Copilot 通过个性化 AI 服务为多人场景下提供定制化支持》的介绍应该让你收获多多了吧!欢迎大家收藏或分享给更多需要学习的朋友吧~golang学习网公众号也会发布科技周边相关知识,快来关注吧!
版本声明
本文转载于:搜狐 如有侵犯,请联系study_golang@163.com删除
Supermicro扩展AI产品线,通过支持英伟达H200实现
- 上一篇
- Supermicro扩展AI产品线,通过支持英伟达H200实现
- 下一篇
- “元上苏河”战略合作伙伴签约,亮风台再度参与上海元宇宙重要应用场景
查看更多
最新文章
-
- 科技周边 · 人工智能 | 18分钟前 |
- Perplexity查软件快捷键方法:搜索软件名加Shortcuts
- 203浏览 收藏
-
- 科技周边 · 人工智能 | 21分钟前 | openclaw
- OpenClawAI支持语音输入输出吗?
- 148浏览 收藏
-
- 科技周边 · 人工智能 | 26分钟前 | Perplexity
- Perplexity查找Kindle电子书方法
- 437浏览 收藏
-
- 科技周边 · 人工智能 | 33分钟前 |
- Claude账号长期不登录会注销吗?
- 400浏览 收藏
-
- 科技周边 · 人工智能 | 50分钟前 |
- Perplexity防插件窃取搜索意图方法
- 362浏览 收藏
-
- 科技周边 · 人工智能 | 1小时前 | Seedance 2.0
- Seedance 2.0适合口播吗?口播神器推荐
- 421浏览 收藏
-
- 科技周边 · 人工智能 | 1小时前 |
- DeepSeek开源资源全汇总,从入门到精通
- 366浏览 收藏
-
- 科技周边 · 人工智能 | 1小时前 |
- Hermes Agent功能扩展全攻略
- 243浏览 收藏
-
- 科技周边 · 人工智能 | 1小时前 |
- 如何验证WorkBuddy安装包安全性?
- 331浏览 收藏
-
- 科技周边 · 人工智能 | 1小时前 | Kimi Kimi智能助手
- KIMI官网PC版使用技巧与快捷键
- 237浏览 收藏
-
- 科技周边 · 人工智能 | 1小时前 |
- AI头像生成全流程:从照片到艺术作品
- 121浏览 收藏
-
- 科技周边 · 人工智能 | 2小时前 | Hermes Agent HermesAgent
- Git子模块更新:HermesAgent版本升级教程
- 224浏览 收藏
查看更多
课程推荐
-
- 前端进阶之JavaScript设计模式
- 设计模式是开发人员在软件开发过程中面临一般问题时的解决方案,代表了最佳的实践。本课程的主打内容包括JS常见设计模式以及具体应用场景,打造一站式知识长龙服务,适合有JS基础的同学学习。
- 543次学习
-
- GO语言核心编程课程
- 本课程采用真实案例,全面具体可落地,从理论到实践,一步一步将GO核心编程技术、编程思想、底层实现融会贯通,使学习者贴近时代脉搏,做IT互联网时代的弄潮儿。
- 516次学习
-
- 简单聊聊mysql8与网络通信
- 如有问题加微信:Le-studyg;在课程中,我们将首先介绍MySQL8的新特性,包括性能优化、安全增强、新数据类型等,帮助学生快速熟悉MySQL8的最新功能。接着,我们将深入解析MySQL的网络通信机制,包括协议、连接管理、数据传输等,让
- 500次学习
-
- JavaScript正则表达式基础与实战
- 在任何一门编程语言中,正则表达式,都是一项重要的知识,它提供了高效的字符串匹配与捕获机制,可以极大的简化程序设计。
- 487次学习
-
- 从零制作响应式网站—Grid布局
- 本系列教程将展示从零制作一个假想的网络科技公司官网,分为导航,轮播,关于我们,成功案例,服务流程,团队介绍,数据部分,公司动态,底部信息等内容区块。网站整体采用CSSGrid布局,支持响应式,有流畅过渡和展现动画。
- 485次学习
查看更多
AI推荐
-
- ChatExcel酷表
- ChatExcel酷表是由北京大学团队打造的Excel聊天机器人,用自然语言操控表格,简化数据处理,告别繁琐操作,提升工作效率!适用于学生、上班族及政府人员。
- 4515次使用
-
- Any绘本
- 探索Any绘本(anypicturebook.com/zh),一款开源免费的AI绘本创作工具,基于Google Gemini与Flux AI模型,让您轻松创作个性化绘本。适用于家庭、教育、创作等多种场景,零门槛,高自由度,技术透明,本地可控。
- 4865次使用
-
- 可赞AI
- 可赞AI,AI驱动的办公可视化智能工具,助您轻松实现文本与可视化元素高效转化。无论是智能文档生成、多格式文本解析,还是一键生成专业图表、脑图、知识卡片,可赞AI都能让信息处理更清晰高效。覆盖数据汇报、会议纪要、内容营销等全场景,大幅提升办公效率,降低专业门槛,是您提升工作效率的得力助手。
- 4742次使用
-
- 星月写作
- 星月写作是国内首款聚焦中文网络小说创作的AI辅助工具,解决网文作者从构思到变现的全流程痛点。AI扫榜、专属模板、全链路适配,助力新人快速上手,资深作者效率倍增。
- 6600次使用
-
- MagicLight
- MagicLight.ai是全球首款叙事驱动型AI动画视频创作平台,专注于解决从故事想法到完整动画的全流程痛点。它通过自研AI模型,保障角色、风格、场景高度一致性,让零动画经验者也能高效产出专业级叙事内容。广泛适用于独立创作者、动画工作室、教育机构及企业营销,助您轻松实现创意落地与商业化。
- 5103次使用
查看更多
相关文章
-
- GPT-4王者加冕!读图做题性能炸天,凭自己就能考上斯坦福
- 2023-04-25 501浏览
-
- 单块V100训练模型提速72倍!尤洋团队新成果获AAAI 2023杰出论文奖
- 2023-04-24 501浏览
-
- ChatGPT 真的会接管世界吗?
- 2023-04-13 501浏览
-
- VR的终极形态是「假眼」?Neuralink前联合创始人掏出新产品:科学之眼!
- 2023-04-30 501浏览
-
- 实现实时制造可视性优势有哪些?
- 2023-04-15 501浏览

