索尼VR "足球体互动"专利获批:利用脚部控制球体互动
来源:搜狐
2023-12-16 11:57:33
0浏览
收藏
本篇文章给大家分享《索尼VR "足球体互动"专利获批:利用脚部控制球体互动》,覆盖了科技周边的常见基础知识,其实一个语言的全部知识点一篇文章是不可能说完的,但希望通过这些问题,让读者对自己的掌握程度有一定的认识(B 数),从而弥补自己的不足,更好的掌握它。
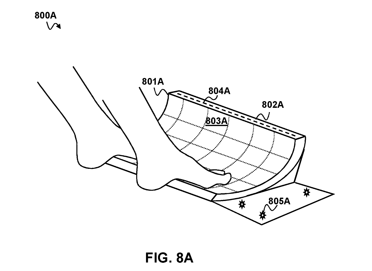
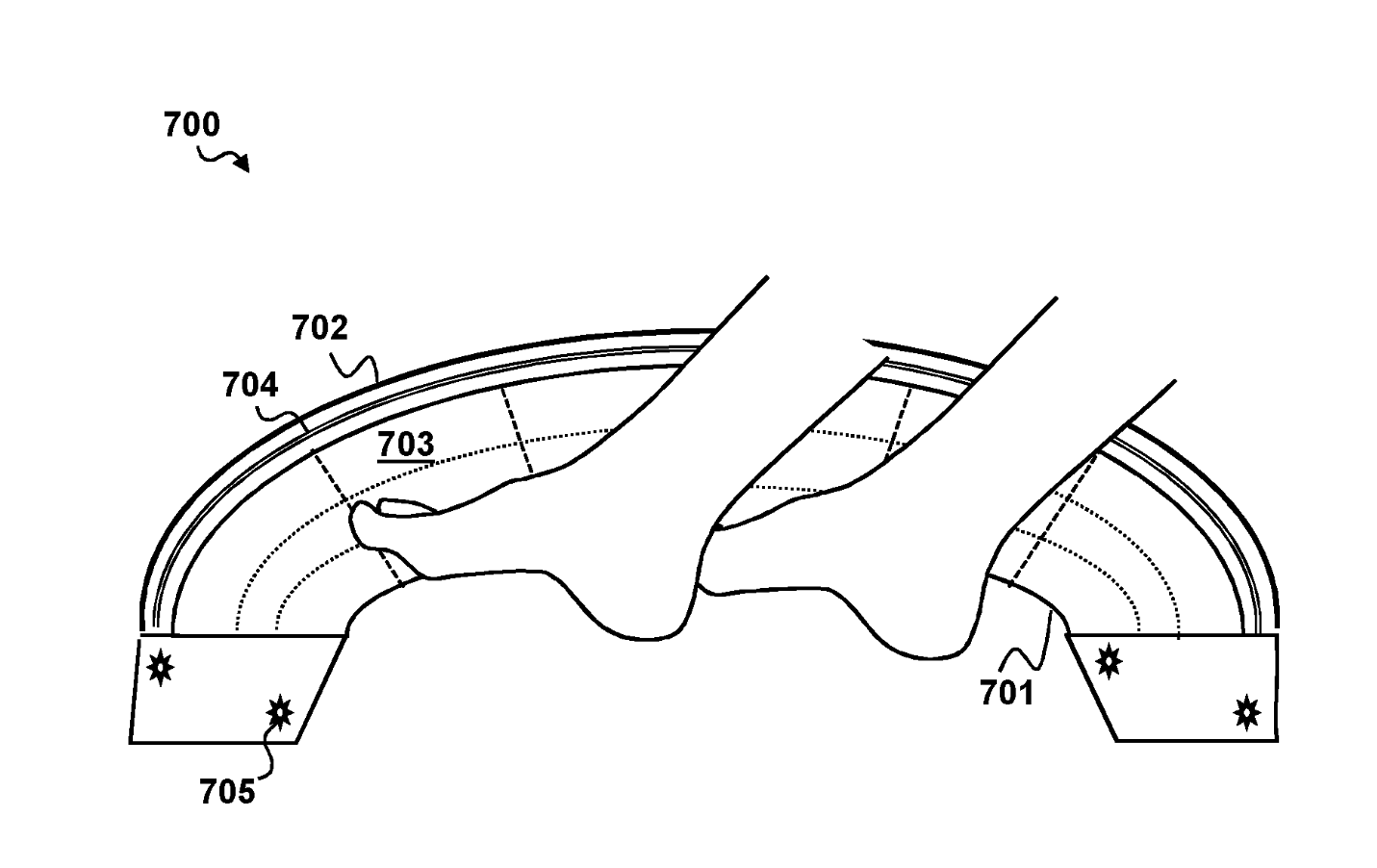
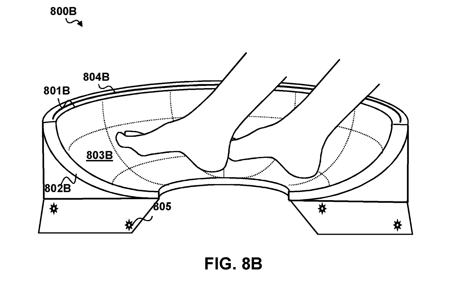
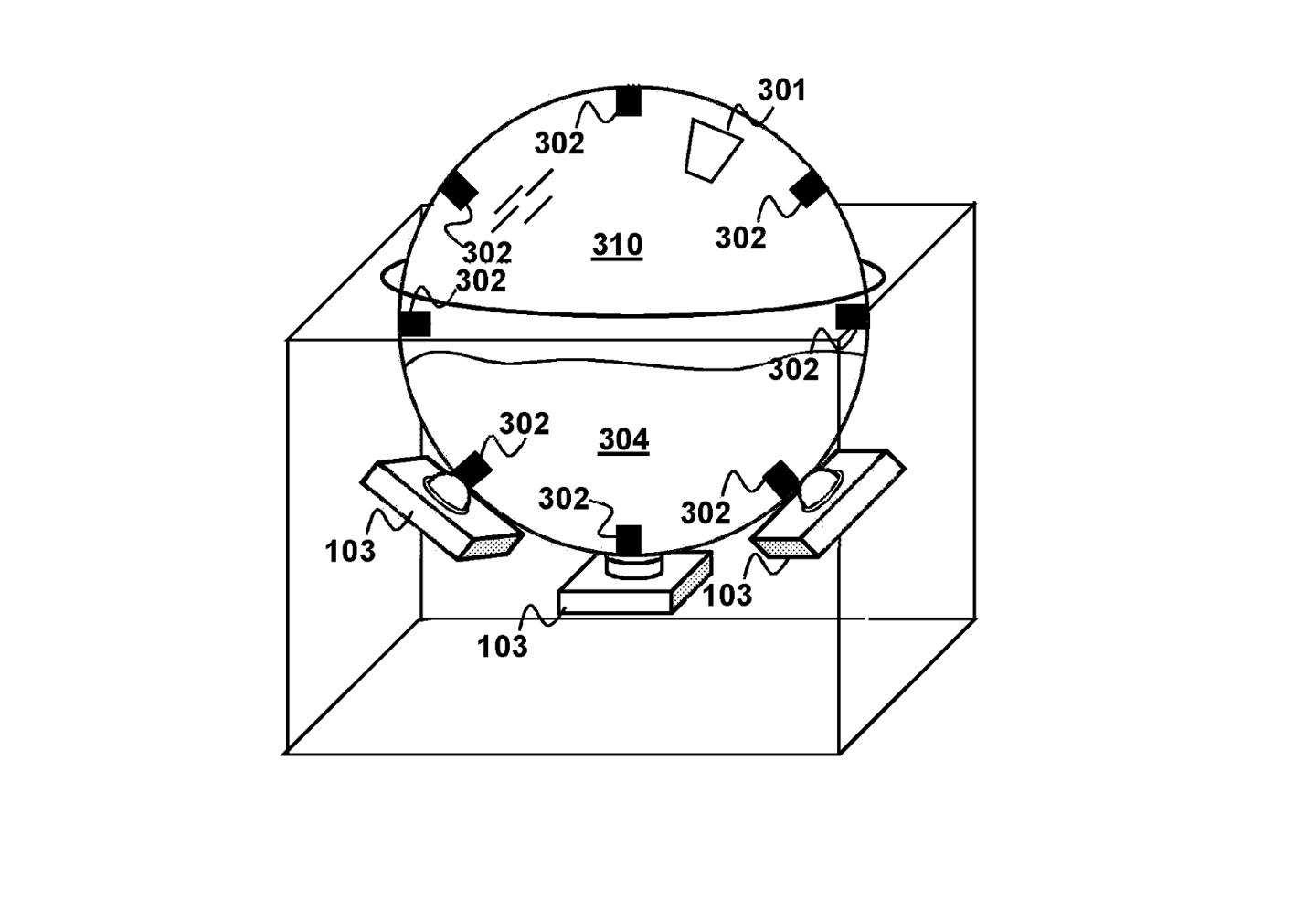
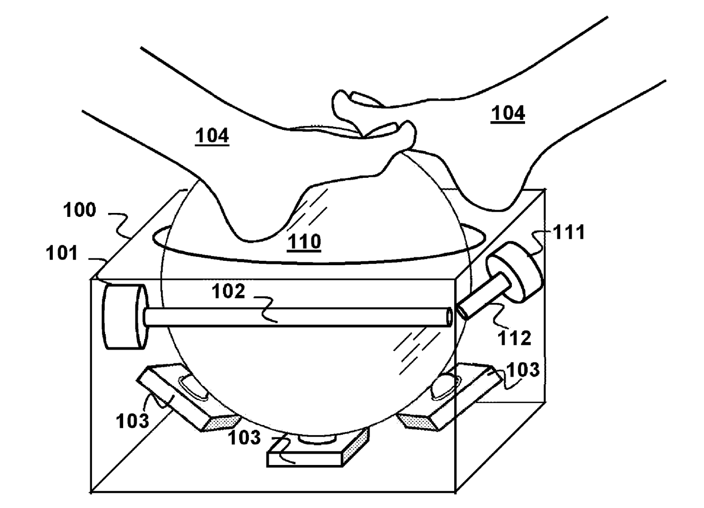
IT之家 12 月 15 日消息,根据美国商标和专利局(USPTO)公示的清单,索尼获得了一项技术专利,展示了在传统手柄之外,该公司正在探索“脚控制器”,让玩家手脚并用操作游戏。

根据专利描述,这个脚操作的控制器采用球形设计,用户可以通过滚轮方式朝任意方向旋转,以实现不同的游戏交互
专利中表示当前虚拟现实 (VR) 和增强现实 (AR) 控制方法的主要问题之一,是手持控制器引起的运动受限,不支持自然运动。
在开放世界的视频游戏中,游戏内环境广阔,可以进行探索,这种限制会降低游戏的沉浸感。
索尼在专利中描述了多种脚部控制器的设计方案,包括单球、双球等,此外还有一个“碗状”的控制器,可以模拟足部行走等移动。IT之家附上图片如下:






理论要掌握,实操不能落!以上关于《索尼VR "足球体互动"专利获批:利用脚部控制球体互动》的详细介绍,大家都掌握了吧!如果想要继续提升自己的能力,那么就来关注golang学习网公众号吧!
版本声明
本文转载于:搜狐 如有侵犯,请联系study_golang@163.com删除
【IT之家开箱】轻薄有型还带点艺术感:华硕灵耀14 2024 AI超轻薄本图赏
- 上一篇
- 【IT之家开箱】轻薄有型还带点艺术感:华硕灵耀14 2024 AI超轻薄本图赏
- 下一篇
- 华为nova 12 Ultra发布日期揭晓:12月26日等待上市
查看更多
最新文章
-
- 科技周边 · 人工智能 | 7小时前 |
- 豆包API收费吗?调用配额详解
- 462浏览 收藏
-
- 科技周边 · 人工智能 | 7小时前 | Hermes Agent HermesAgent
- HermesAgent层次聚类算法实战详解
- 315浏览 收藏
-
- 科技周边 · 人工智能 | 7小时前 | ChatGPT
- 本地大模型维护成本与版本管理技巧
- 289浏览 收藏
-
- 科技周边 · 人工智能 | 7小时前 | Vision Veo 3 Vision Banana
- VisionBanana自动驾驶场景实战解析
- 440浏览 收藏
-
- 科技周边 · 人工智能 | 8小时前 | DeepSeek
- DeepSeek助你高效撰写标书
- 473浏览 收藏
-
- 科技周边 · 人工智能 | 8小时前 |
- 禁用HermesAgent不安全模块方法
- 241浏览 收藏
-
- 科技周边 · 人工智能 | 8小时前 |
- 文心一言网页版登录与对话入口解析
- 231浏览 收藏
-
- 科技周边 · 人工智能 | 8小时前 | 火山方舟
- Cline工具配置:环境变量连接方舟CodingPlan
- 226浏览 收藏
-
- 科技周边 · 人工智能 | 8小时前 |
- AI开发小程序,小白也能轻松赚钱
- 206浏览 收藏
-
- 科技周边 · 人工智能 | 8小时前 |
- WorkBuddy离线模式可用功能有哪些?
- 162浏览 收藏
-
- 科技周边 · 人工智能 | 9小时前 |
- ChatGPT网页版使用教程及官网入口指南
- 460浏览 收藏
-
- 科技周边 · 人工智能 | 9小时前 |
- AI写求职信会被HR发现吗?如何优化文案
- 105浏览 收藏
查看更多
课程推荐
-
- 前端进阶之JavaScript设计模式
- 设计模式是开发人员在软件开发过程中面临一般问题时的解决方案,代表了最佳的实践。本课程的主打内容包括JS常见设计模式以及具体应用场景,打造一站式知识长龙服务,适合有JS基础的同学学习。
- 543次学习
-
- GO语言核心编程课程
- 本课程采用真实案例,全面具体可落地,从理论到实践,一步一步将GO核心编程技术、编程思想、底层实现融会贯通,使学习者贴近时代脉搏,做IT互联网时代的弄潮儿。
- 516次学习
-
- 简单聊聊mysql8与网络通信
- 如有问题加微信:Le-studyg;在课程中,我们将首先介绍MySQL8的新特性,包括性能优化、安全增强、新数据类型等,帮助学生快速熟悉MySQL8的最新功能。接着,我们将深入解析MySQL的网络通信机制,包括协议、连接管理、数据传输等,让
- 500次学习
-
- JavaScript正则表达式基础与实战
- 在任何一门编程语言中,正则表达式,都是一项重要的知识,它提供了高效的字符串匹配与捕获机制,可以极大的简化程序设计。
- 487次学习
-
- 从零制作响应式网站—Grid布局
- 本系列教程将展示从零制作一个假想的网络科技公司官网,分为导航,轮播,关于我们,成功案例,服务流程,团队介绍,数据部分,公司动态,底部信息等内容区块。网站整体采用CSSGrid布局,支持响应式,有流畅过渡和展现动画。
- 485次学习
查看更多
AI推荐
-
- ChatExcel酷表
- ChatExcel酷表是由北京大学团队打造的Excel聊天机器人,用自然语言操控表格,简化数据处理,告别繁琐操作,提升工作效率!适用于学生、上班族及政府人员。
- 4492次使用
-
- Any绘本
- 探索Any绘本(anypicturebook.com/zh),一款开源免费的AI绘本创作工具,基于Google Gemini与Flux AI模型,让您轻松创作个性化绘本。适用于家庭、教育、创作等多种场景,零门槛,高自由度,技术透明,本地可控。
- 4841次使用
-
- 可赞AI
- 可赞AI,AI驱动的办公可视化智能工具,助您轻松实现文本与可视化元素高效转化。无论是智能文档生成、多格式文本解析,还是一键生成专业图表、脑图、知识卡片,可赞AI都能让信息处理更清晰高效。覆盖数据汇报、会议纪要、内容营销等全场景,大幅提升办公效率,降低专业门槛,是您提升工作效率的得力助手。
- 4717次使用
-
- 星月写作
- 星月写作是国内首款聚焦中文网络小说创作的AI辅助工具,解决网文作者从构思到变现的全流程痛点。AI扫榜、专属模板、全链路适配,助力新人快速上手,资深作者效率倍增。
- 6555次使用
-
- MagicLight
- MagicLight.ai是全球首款叙事驱动型AI动画视频创作平台,专注于解决从故事想法到完整动画的全流程痛点。它通过自研AI模型,保障角色、风格、场景高度一致性,让零动画经验者也能高效产出专业级叙事内容。广泛适用于独立创作者、动画工作室、教育机构及企业营销,助您轻松实现创意落地与商业化。
- 5084次使用
查看更多
相关文章
-
- GPT-4王者加冕!读图做题性能炸天,凭自己就能考上斯坦福
- 2023-04-25 501浏览
-
- 单块V100训练模型提速72倍!尤洋团队新成果获AAAI 2023杰出论文奖
- 2023-04-24 501浏览
-
- ChatGPT 真的会接管世界吗?
- 2023-04-13 501浏览
-
- VR的终极形态是「假眼」?Neuralink前联合创始人掏出新产品:科学之眼!
- 2023-04-30 501浏览
-
- 实现实时制造可视性优势有哪些?
- 2023-04-15 501浏览

