未来Mac有望支持屏下Face ID技术,苹果专利披露
一分耕耘,一分收获!既然打开了这篇文章《未来Mac有望支持屏下Face ID技术,苹果专利披露》,就坚持看下去吧!文中内容包含等等知识点...希望你能在阅读本文后,能真真实实学到知识或者帮你解决心中的疑惑,也欢迎大佬或者新人朋友们多留言评论,多给建议!谢谢!
12月22日消息,根据最近公布的美国商标和专利局(USPTO)的一份清单,苹果公司最近获得了一项与Mac设备相关的设计专利。这一专利可能意味着未来的Mac设备将支持Face ID面部识别技术

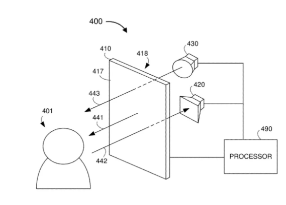
该专利的编号是US 20230409075 A1,名称为《包括屏下摄像头的电子设备》。在该专利的描述中提到,目前的电子设备中,前置摄像头通常占据屏幕的一部分区域,从而减少了屏幕可用于显示的潜在区域。苹果的想法是将摄像头放置于屏幕下方,以释放更多的显示区域
根据我的了解,在这个专利实施案例中,设备包括一个具有前表面和后表面的显示器。这个显示器由多个像素区域组成,这些像素区域通过前表面发光来显示图像,并且还有多个孔径,这些孔径允许光线从前表面传输到后表面。在后表面上设置了一个摄像头,用于拍摄对象。此外,这个设备还有一个处理器,它连接着显示器和摄像头,用于接收和处理拍摄后的图像
通过部署两层数字滤波器,可以有效减少由显示器引起的图像失真,从而提高图像质量。这一专利的获得表明苹果正在不断研究和开发新的技术,以进一步改善其Mac设备的用户体验,并可能为未来的Mac产品引入面部识别技术,从而提供更高的安全性和便利性。对于苹果的用户来说,这无疑是一个令人期待的发展
到这里,我们也就讲完了《未来Mac有望支持屏下Face ID技术,苹果专利披露》的内容了。个人认为,基础知识的学习和巩固,是为了更好的将其运用到项目中,欢迎关注golang学习网公众号,带你了解更多关于苹果的知识点!
揭示苹果最新专利:手势激活技术提升Vision Pro头显的交互体验
- 上一篇
- 揭示苹果最新专利:手势激活技术提升Vision Pro头显的交互体验
- 下一篇
- 一加中国区总裁宣布:令人期待的一加 Ace 3即将发布!
-
- 科技周边 · 业界新闻 | 2星期前 | AI会导致失业吗
- AI不会失业?软件工程师岗位大增!
- 155浏览 收藏
-
- 科技周边 · 业界新闻 | 1个月前 | 微软 打印机
- Win11停用旧打印机驱动,多家厂商受影响
- 134浏览 收藏
-
- 科技周边 · 业界新闻 | 1个月前 |
- GPT-5.4将上线,支持百万字长文本与极限推理
- 158浏览 收藏
-
- 科技周边 · 业界新闻 | 1个月前 |
- ASML重组技术部,进军AI芯片封装市场
- 218浏览 收藏
-
- 科技周边 · 业界新闻 | 1个月前 |
- 三星S26水平锁定功能实测,手抖救星省六千云台费
- 105浏览 收藏
-
- 科技周边 · 业界新闻 | 1个月前 |
- Codex登陆Windows,多AI代理协作新体验
- 365浏览 收藏
-
- 科技周边 · 业界新闻 | 1个月前 |
- 高通布局机器人市场,CEO称两年内将迎增长高峰
- 226浏览 收藏
-
- 科技周边 · 业界新闻 | 1个月前 |
- iPhone17销量破2000万,领跑华为!
- 377浏览 收藏
-
- 科技周边 · 业界新闻 | 1个月前 |
- Google笔记变导演,NotebookLM生成动画片
- 150浏览 收藏
-
- 科技周边 · 业界新闻 | 1个月前 |
- ASML布局AI,2026年需求强劲增长
- 199浏览 收藏
-
- 前端进阶之JavaScript设计模式
- 设计模式是开发人员在软件开发过程中面临一般问题时的解决方案,代表了最佳的实践。本课程的主打内容包括JS常见设计模式以及具体应用场景,打造一站式知识长龙服务,适合有JS基础的同学学习。
- 543次学习
-
- GO语言核心编程课程
- 本课程采用真实案例,全面具体可落地,从理论到实践,一步一步将GO核心编程技术、编程思想、底层实现融会贯通,使学习者贴近时代脉搏,做IT互联网时代的弄潮儿。
- 516次学习
-
- 简单聊聊mysql8与网络通信
- 如有问题加微信:Le-studyg;在课程中,我们将首先介绍MySQL8的新特性,包括性能优化、安全增强、新数据类型等,帮助学生快速熟悉MySQL8的最新功能。接着,我们将深入解析MySQL的网络通信机制,包括协议、连接管理、数据传输等,让
- 500次学习
-
- JavaScript正则表达式基础与实战
- 在任何一门编程语言中,正则表达式,都是一项重要的知识,它提供了高效的字符串匹配与捕获机制,可以极大的简化程序设计。
- 487次学习
-
- 从零制作响应式网站—Grid布局
- 本系列教程将展示从零制作一个假想的网络科技公司官网,分为导航,轮播,关于我们,成功案例,服务流程,团队介绍,数据部分,公司动态,底部信息等内容区块。网站整体采用CSSGrid布局,支持响应式,有流畅过渡和展现动画。
- 485次学习
-
- ChatExcel酷表
- ChatExcel酷表是由北京大学团队打造的Excel聊天机器人,用自然语言操控表格,简化数据处理,告别繁琐操作,提升工作效率!适用于学生、上班族及政府人员。
- 4503次使用
-
- Any绘本
- 探索Any绘本(anypicturebook.com/zh),一款开源免费的AI绘本创作工具,基于Google Gemini与Flux AI模型,让您轻松创作个性化绘本。适用于家庭、教育、创作等多种场景,零门槛,高自由度,技术透明,本地可控。
- 4854次使用
-
- 可赞AI
- 可赞AI,AI驱动的办公可视化智能工具,助您轻松实现文本与可视化元素高效转化。无论是智能文档生成、多格式文本解析,还是一键生成专业图表、脑图、知识卡片,可赞AI都能让信息处理更清晰高效。覆盖数据汇报、会议纪要、内容营销等全场景,大幅提升办公效率,降低专业门槛,是您提升工作效率的得力助手。
- 4730次使用
-
- 星月写作
- 星月写作是国内首款聚焦中文网络小说创作的AI辅助工具,解决网文作者从构思到变现的全流程痛点。AI扫榜、专属模板、全链路适配,助力新人快速上手,资深作者效率倍增。
- 6572次使用
-
- MagicLight
- MagicLight.ai是全球首款叙事驱动型AI动画视频创作平台,专注于解决从故事想法到完整动画的全流程痛点。它通过自研AI模型,保障角色、风格、场景高度一致性,让零动画经验者也能高效产出专业级叙事内容。广泛适用于独立创作者、动画工作室、教育机构及企业营销,助您轻松实现创意落地与商业化。
- 5095次使用
-
- Nothing品牌发布首个子品牌CMF,计划年底推出智能手表和耳机
- 2023-08-05 501浏览
-
- 中国气象局探讨促进人工智能气象预报大模型构建
- 2023-08-13 501浏览
-
- 强大性能搭配时尚外观:OPPO Reno 10系列手机正式开售!
- 2023-08-12 501浏览
-
- Trek推出Electra Pronto Go电动自行车,助力全球绿色出行浪潮
- 2023-08-23 501浏览
-
- 微软灵活升级计划:Win11 8月累积更新发布
- 2023-08-09 501浏览

