微软提出改进传感器电容值测量以增强AR眼镜面部追踪的专利
大家好,今天本人给大家带来文章《微软提出改进传感器电容值测量以增强AR眼镜面部追踪的专利》,文中内容主要涉及到,如果你对科技周边方面的知识点感兴趣,那就请各位朋友继续看下去吧~希望能真正帮到你们,谢谢!
(映维网Nweon 2024年01月04日)头戴式设备可以包含用于追踪面部运动的面部追踪传感器。执行面部追踪的一种方法是使用面部追踪传感器阵列来测量电容值。当面部肌肉运动时,面部追踪传感器的电容会根据面部表面与相应传感器的接近程度而变化。
确定电容的一种可能方法是使用包含面部追踪传感器的感测电容的谐振LC电路。改变与感应电容的表面接近度可以导致谐振LC电路的谐振频率发生可测量的变化。然而,阵列的面部追踪传感器之间可能发生电容串扰,从而使得多个传感器同时执行电容测量变得复杂。
在名为“Determining charge on a facial-tracking sensor”的专利申请中,微软介绍的方法主要通过确定存储在感觉电容器的电极的电荷量来确定面部追踪传感器的感觉电容器的电容。
简单地说,面部追踪传感器包括配置成定位于靠近面部表面的感测电容器电极。所述感应电容器电极基于所述感应电容器电极与所述表面之间的距离形成电容。控制器对面部追踪传感器的感应电容电极施加参考电压。
然后,电荷传感电路通过确定由于施加参考电压而在感测电容器电极上累积的电荷量来确定感测电容器电极上的电容。
在一个实施例中,控制器同时沿着电荷传感电路和面部追踪传感器之间的电气连接将参考电压应用于shielding track。shielding track的参考电压有助于减少面部追踪传感器接收到的电容串扰。

图1显示了包括多个面部追踪传感器的示例头戴式设备100。具体地说,头戴式设备100包括形成在头戴式设备100的左透镜104L的左感电容电极阵列102L和形成在右透镜104R的右感电容电极阵列102R。
左感电容器电极阵列102L和右感电容器电极阵列102R中的每一个包括多个感觉电容器电极,每个感觉电容器电极配置为感测佩戴者面部的不同区域。每个感测电容器电极配置为定位于靠近人脸的表面,并基于感测电容器电极与人脸表面之间的距离形成电容。
感测电容器电极阵列102L、102R由至少部分光学透明的导电薄膜形成。所述薄膜可包含一种或多种导电材料,如氧化铟锡、石墨烯或其他合适材料。薄膜可以通过任何合适的工艺形成,例如化学气相沉积。在感测电容器电极之间形成的沟槽可用于放置导电走线。由于导电膜不是完全光学透明,所以与相对较厚的涂层相比,使用相对较薄的膜用于感测电容器电极可以提供更大的透明度。
头戴式设备100同时包括多个电荷传感电路,如图112所示。多个电荷传感电路112中的每个电荷传感电路连接到相应的面部追踪传感器。每个电荷传感电路112配置为通过确定由于施加参考电压而在相应的传感电容器电极上累积的电荷量来确定相应的传感电容器电极的电容。

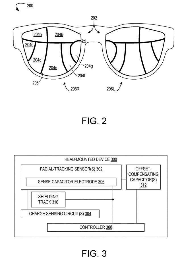
图2示出包含多个感测电容器电极的感测电容器电极阵列的示例布局202。如图所示,感测电容器电极204a-g由沟槽区域208隔开,用粗黑线表示。沟槽区208是缺乏形成感测电容器电极204a-g的导电膜的感测电容器电极之间的区域。沟槽区域208可以包括导电走线,以将传感电容器电极204a-g连接到电荷传感电路和/或其他电路。
由于形成感测电容器电极阵列的导电膜不是完全透明,所以在特定示例中可以看到布局202。然而,当并入配置为头戴式设备时,在大多数正常使用期间,布局202可以定位于比人眼焦距更近的位置。所以布局202可以在普通设备使用期间对用户失焦,因此不妨碍用户或分散用户的注意力。
图3示出示例头戴式设备300。头戴式设备300包括一个或多个面部追踪传感器302,以及相应的一个或多个电荷传感电路304。每个面部追踪传感器302包括配置为定位于靠近面部表面的感觉电容器电极306,它可以基于感觉电容器电极306与面部表面之间的距离形成电容。
头戴式设备300同时包括控制器308,其配置为将参考电压施加到一个或多个面部追踪传感器302的感测电容器电极306。
如上所述,每个电荷传感电路304配置为通过确定由参考电压产生的,并在传感电容器电极306积累的电荷量来确定相应的面部追踪传感器302的传感电容器电极306的电容。例如,电容C可以用Q=C*V来确定,其中V是参考电压,Q是由参考电压产生的在感测电容器电极306积累的电荷量。
在一个实施例中,每个电荷传感电路304进一步配置为至少基于对由参考电压产生的相应面部追踪传感器302的传感电容器电极306积累的电荷量进行过采样而产生多个电容位值。过采样包括对传感器电容电极306的电荷进行重复采样,并对重复采样进行滤波。
在一个实施例总,可以同时确定在多个感测电容器电极306中的每一个积累的电荷。因此,控制器308可以配置为并发操作相应的电荷传感电路304中的一个或多个。这样的配置可能有助于实现比利用面部追踪传感器的时间复用操作的配置更快的操作。
头戴式设备300同时包括沿一个或多个电荷传感电路304与相应的一个或多个面部追踪传感器302之间的电气连接的shielding track 310。shielding track 310可以帮助减少来自靠近一个或多个面部追踪传感器302与相应的一个或多个电荷传感电路304之间的电连接的导体的电干扰,例如传感电容器电极306之间的电容串扰。
减少电容串扰有助于减少传感误差和/或降低噪点。例如,shielding track 310可以帮助在头戴式设备300的电接地和电气连接之间电抵消杂散电容。

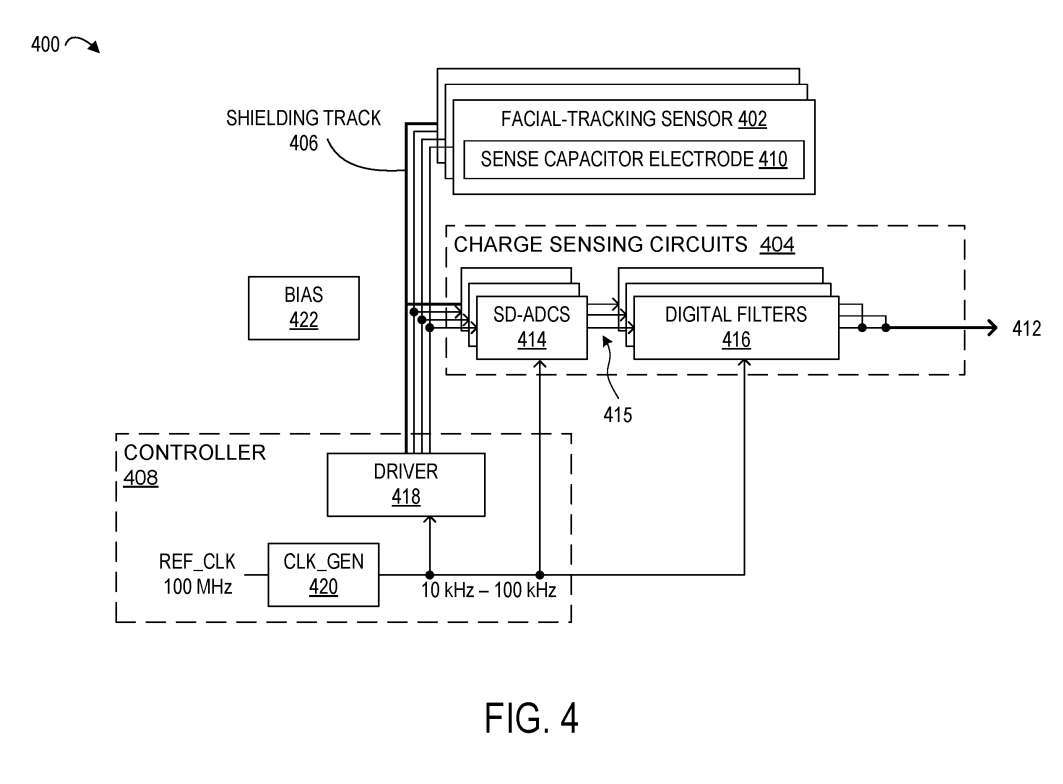
图4描述了头戴式设备400的更详细框图。头戴式设备400是头戴式设备300的示例实现。与头戴式设备300类似,头戴式设备400包括多个面部追踪传感器402、相应的多个电荷传感电路404、shielding track 406和控制器408。
与面部追踪传感器302类似,多个面部追踪传感器402中的每个面部追踪传感器包括感测电容器电极410。在所描述的实施例中,每个电荷传感电路404配置为至少基于对积累的电荷量进行过采样而产生多个电容位值412。每个电荷传感电路404包括一个SD-ADC 414和一个连接到SD-ADC 414输出端的数字滤波器416。
作为示例,SD-ADC 414对电荷传感电路404的输入进行过采样,并输出位流415。位流至少基于对输入进行过采样而指示累积的电荷量。
在一个实施例中,过采样可包括50至256范围内的过采样比。在其它实施例中,过采样可包括任何其它合适的过采样比。输入过采样可能有助于提高SD-ADC 414的精度,允许模数转换的噪点整形,和/或降低SD-ADC 414的设计复杂性。作为示例,噪点整形可以将噪点塑造为更高的频率,并且因此可以促进噪点的滤波。
数字滤波器416将位流415从SD-ADC 414转换为多个电容位值412,并过滤来自多个电容位值412的高频噪声。这种噪点滤波有助于提高信噪比。在SD-ADC 414包括二阶SD-ADC的示例中,数字滤波器416包括二阶滤波器。在其他示例中,每个SD-ADC 414和每个数字滤波器416可以分别包含任何合适顺序的SD-ADC和数字滤波器。

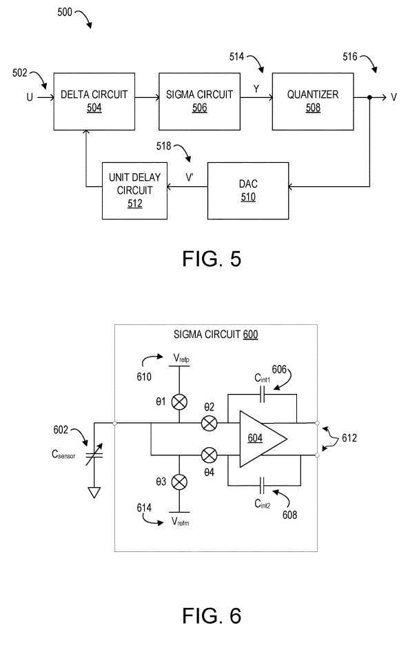
图5描述了示例SD-ADC 500的框图。SD-ADC 500是SD-ADC 414的一个示例实现。SD-ADC 500接收模拟输入U 502,并通过增量电路504、Sigma电路506和量化器508输出数字输出V。
SD-ADC 500同时包括包括数字模拟转换器DAC 510和单位延迟电路512的反馈路径。Delta电路504比较输入U 502和反馈路径输出之间的差值。例如,增量电路504可以比较输入U 502和反馈路径输出之间的模拟电压差。
接下来,Sigma电路506被配置为输出节点y514,至少基于Delta电路504随时间的输出的平均值。随时间的平均值可以在连续时间或离散时间确定。Sigma电路506可以包括如下所述的积分器电路和/或任何其他合适的电路。
接着,量化器508对节点y514进行采样,并基于节点y514的采样值输出数字值,形成位流516。作为具体示例,量化器508可以包括一个比较器电路,比较器电路配置为当节点y514分别低于量化器参考电压或高于量化器参考电压时,在一个时钟周期上输出逻辑0或逻辑1。
图6示出连接到感测电容器电极602的示例Sigma电路600。例如,SD-ADC 414和SD-ADC 500可以使用Sigma电路600。Sigma电路600包括具有第一积分器电容器606和第二积分器电容器608的积分器604。西格玛电路600的操作通过第一控制点θ1、第二控制点θ2、第三控制点θ3和第四个控制点θ4来控制。在一些示例中,Sigma电路600之外的控制器(例如控制器408)可以控制第一、第二、第三和第四个控制点。
当第一控制点θ1导电时,第一参考电压610连接到感测电容器电极602。这样,将第一参考电压610施加到感测电容器电极602。然后,第一控制点θ1打开,第二控制点θ2导通,将参考电压产生的积累在感测电容器电极602的电荷传递给第一积分器电容器606。第一积分器电容器606和积分器604根据所积累的电荷输出电压。
在另一实施例中,当第一控制点θ1打开时,第二控制点θ2和第四控制点θ4导通,将在感应电容器电极602积累的电荷传递给第一积分器电容器606和第二积分器电容器608。
在这样的配置中,积分器604完全微分,并且累积的电荷在第一和第二积分器电容器606、608之间被分割。因此,输出电压在积分器604的输出节点之间分割,如612所示。全差分积分器可以帮助提高SD-ADC的精度,降低对杂散噪点和/或耦合的敏感性,和/或降低SD-ADC的设计复杂性。
接着,当第三控制点θ3导通时,连接第二参考电压614并将其施加到感测电容器电极602。在所描述的实施例中,施加第一参考电压610在第一周期中将在感测电容器电极602积累的电荷定向到积分器604的非反相输入,施加第二参考电压614在第二周期中将在感测电容器电极602积累的电荷定向到积分器604的反相输入。
同样,第三控制点θ3打开,第四控制点θ4导通,将在感应电容器电极602积累的电荷传递给第二积分器电容器608。然后,第二积分器电容器608和积分器604基于所积累的电荷输出电压。在其他实施例中,第一、第二、第三和第四控制点可以任何其他合适的方式进行控制。
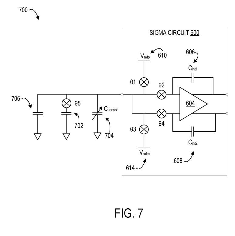
在一个实施例中,设备的一个或多个面部追踪传感器可以在电上看到大于到面部上近处点的电容的偏置电容,这可能干扰对面部的较小电容的传感。可以通过使用具有与偏移电容相似或等效电容值的电容器来电抵消这种偏移电容。
然而,更大的电容器可能消耗更大的面积。因此,图7示出的头戴式设备700利用可连接到感测电容器电极704的相对较小的固定电容器702来电抵消偏置电容706。

在所描述的示例中,如上所述,第一控制点θ1导通,并将第一参考电压610施加于感测电容器电极704。然后,第一控制点θ1打开,位于固定电容器702连接上的第五控制点θ5拨动以电抵消感应电容器电极704上的偏置电容706。开关的数量可以基于固定电容器702的电容值和偏置电容706的值。
例如,当偏置电容706比固定电容702大10倍时,则第五控制点θ5可以切换10次以电抵消偏置电容706。与省略这种切换的实现相比,使用第五个控制点θ5的切换可以帮助减小头戴式设备700上的固定电容器702的尺寸。图7所示为单个感测电容器电极、固定电容器和Sigma电路,其他实施例可包括多个感测电容器电极以及相应的多个固定电容器和西格玛电路。

图8描述了确定感测电容器电极电容值的示例方法800的流程图。
在802,对面部追踪传感器的感应电容电极施加参考电压。
在804,沿着面部追踪传感器和电荷传感电路之间的电气连接将参考电压施加到shielding track。将参考电压施加到屏蔽轨道上可以帮助电抵消头戴式设备上多个面部追踪传感器的感测电容器电极之间的电容。另外,将所述参考电压施加到所述屏蔽轨迹可有助于使能够同时操作相应的多个电荷传感电路。
如上所述,头戴式设备可以在感测电容器电极看到偏移电容。在这样的实例中,806包括通过切换偏移补偿电容器的连接来放电偏移电容,从而消除感应电容器电极上的偏移电容。
在一个实施例中,偏移补偿电容器可包括可多次切换的较小的固定电容器。以这种方式,较小的固定电容可以电地抵消较大的偏置电容。在其它示例中,偏移补偿电容器可包括可编程电容器,可选择性地控制以调整电容值。
继续在808,基于由于施加参考电压而在面部追踪传感器的感测电容器电极积累的电荷量,确定面部追踪传感器的感测电容器电极的电容值。
在一个实施例中,确定所述感测电容器电极的电容值包括至少基于对所述面部追踪传感器的所述感测电容器电极积累的电荷量进行过采样来确定多个电容位值,如810所示。
作为示例,多个电容位值可以包括指示在感测电容器电极上积累的电荷量的二进制数。如前所述,SD-ADC可以将多个电容位值上的噪点塑造为更高的频率。因此,方法800在812包括从多个电容位值滤除高频噪点。滤波高频噪点有助于提高电容位值的信噪比。
相关专利:Microsoft Patent | Determining charge on a facial-tracking sensor
名为“Determining charge on a facial-tracking sensor”的微软专利申请最初在2022年6月提交,并在日前由美国专利商标局公布。
需要注意的是,一般来说,美国专利申请接收审查后,自申请日或优先权日起18个月自动公布或根据申请人要求在申请日起18个月内进行公开。注意,专利申请公开不代表专利获批。在专利申请后,美国专利商标局需要进行实际审查,时间可能在1年至3年不等。
另外,这只是一份专利申请,不代表一定通过,同时不确定是否会实际商用及实际的应用效果。
好了,本文到此结束,带大家了解了《微软提出改进传感器电容值测量以增强AR眼镜面部追踪的专利》,希望本文对你有所帮助!关注golang学习网公众号,给大家分享更多科技周边知识!
全面融合!DriveMLM:将LLM与自动驾驶行为规划无缝结合!
- 上一篇
- 全面融合!DriveMLM:将LLM与自动驾驶行为规划无缝结合!
- 下一篇
- 在Ubuntu上安装PyCharm的详细指南
-
- 科技周边 · 人工智能 | 10分钟前 |
- Figma AI生成界面不适配?Constraints约束调整方案
- 228浏览 收藏
-
- 科技周边 · 人工智能 | 12分钟前 |
- 本地部署 Claude API 的方法与注意事项
- 424浏览 收藏
-
- 科技周边 · 人工智能 | 14分钟前 |
- Perplexity免费版搜索限制怎么破?切换API或升级Pro版
- 216浏览 收藏
-
- 科技周边 · 人工智能 | 17分钟前 |
- ClaudePC快捷键设置方法详解
- 175浏览 收藏
-
- 科技周边 · 人工智能 | 59分钟前 |
- 千问AI如何写Kafka生产者?深度教程
- 158浏览 收藏
-
- 科技周边 · 人工智能 | 1小时前 |
- 豆包AI助你快速掌握机械设计原理
- 187浏览 收藏
-
- 科技周边 · 人工智能 | 1小时前 | 骡子快跑
- 骡子快跑极简主义推荐与实践
- 255浏览 收藏
-
- 科技周边 · 人工智能 | 1小时前 |
- AI自动写邮件,告别工作焦虑
- 142浏览 收藏
-
- 科技周边 · 人工智能 | 1小时前 |
- 提升代码稳定性,DeepSeek自动化回归测试指南
- 462浏览 收藏
-
- 科技周边 · 人工智能 | 2小时前 | Llama 3
- Llama 3运行报错:内核崩溃资源耗尽解决方法
- 332浏览 收藏
-
- 科技周边 · 人工智能 | 2小时前 |
- HermesAgent安装脚本详解:Windows一键安装指南
- 433浏览 收藏
-
- 科技周边 · 人工智能 | 2小时前 | Hermes Agent HermesAgent
- HermesAgent配置错误排查指南
- 199浏览 收藏
-
- 前端进阶之JavaScript设计模式
- 设计模式是开发人员在软件开发过程中面临一般问题时的解决方案,代表了最佳的实践。本课程的主打内容包括JS常见设计模式以及具体应用场景,打造一站式知识长龙服务,适合有JS基础的同学学习。
- 543次学习
-
- GO语言核心编程课程
- 本课程采用真实案例,全面具体可落地,从理论到实践,一步一步将GO核心编程技术、编程思想、底层实现融会贯通,使学习者贴近时代脉搏,做IT互联网时代的弄潮儿。
- 516次学习
-
- 简单聊聊mysql8与网络通信
- 如有问题加微信:Le-studyg;在课程中,我们将首先介绍MySQL8的新特性,包括性能优化、安全增强、新数据类型等,帮助学生快速熟悉MySQL8的最新功能。接着,我们将深入解析MySQL的网络通信机制,包括协议、连接管理、数据传输等,让
- 500次学习
-
- JavaScript正则表达式基础与实战
- 在任何一门编程语言中,正则表达式,都是一项重要的知识,它提供了高效的字符串匹配与捕获机制,可以极大的简化程序设计。
- 487次学习
-
- 从零制作响应式网站—Grid布局
- 本系列教程将展示从零制作一个假想的网络科技公司官网,分为导航,轮播,关于我们,成功案例,服务流程,团队介绍,数据部分,公司动态,底部信息等内容区块。网站整体采用CSSGrid布局,支持响应式,有流畅过渡和展现动画。
- 485次学习
-
- ChatExcel酷表
- ChatExcel酷表是由北京大学团队打造的Excel聊天机器人,用自然语言操控表格,简化数据处理,告别繁琐操作,提升工作效率!适用于学生、上班族及政府人员。
- 4515次使用
-
- Any绘本
- 探索Any绘本(anypicturebook.com/zh),一款开源免费的AI绘本创作工具,基于Google Gemini与Flux AI模型,让您轻松创作个性化绘本。适用于家庭、教育、创作等多种场景,零门槛,高自由度,技术透明,本地可控。
- 4865次使用
-
- 可赞AI
- 可赞AI,AI驱动的办公可视化智能工具,助您轻松实现文本与可视化元素高效转化。无论是智能文档生成、多格式文本解析,还是一键生成专业图表、脑图、知识卡片,可赞AI都能让信息处理更清晰高效。覆盖数据汇报、会议纪要、内容营销等全场景,大幅提升办公效率,降低专业门槛,是您提升工作效率的得力助手。
- 4742次使用
-
- 星月写作
- 星月写作是国内首款聚焦中文网络小说创作的AI辅助工具,解决网文作者从构思到变现的全流程痛点。AI扫榜、专属模板、全链路适配,助力新人快速上手,资深作者效率倍增。
- 6597次使用
-
- MagicLight
- MagicLight.ai是全球首款叙事驱动型AI动画视频创作平台,专注于解决从故事想法到完整动画的全流程痛点。它通过自研AI模型,保障角色、风格、场景高度一致性,让零动画经验者也能高效产出专业级叙事内容。广泛适用于独立创作者、动画工作室、教育机构及企业营销,助您轻松实现创意落地与商业化。
- 5103次使用
-
- GPT-4王者加冕!读图做题性能炸天,凭自己就能考上斯坦福
- 2023-04-25 501浏览
-
- 单块V100训练模型提速72倍!尤洋团队新成果获AAAI 2023杰出论文奖
- 2023-04-24 501浏览
-
- ChatGPT 真的会接管世界吗?
- 2023-04-13 501浏览
-
- VR的终极形态是「假眼」?Neuralink前联合创始人掏出新产品:科学之眼!
- 2023-04-30 501浏览
-
- 实现实时制造可视性优势有哪些?
- 2023-04-15 501浏览

