云溪数据库事务模型简介
知识点掌握了,还需要不断练习才能熟练运用。下面golang学习网给大家带来一个数据库开发实战,手把手教大家学习《云溪数据库事务模型简介》,在实现功能的过程中也带大家重新温习相关知识点,温故而知新,回头看看说不定又有不一样的感悟!
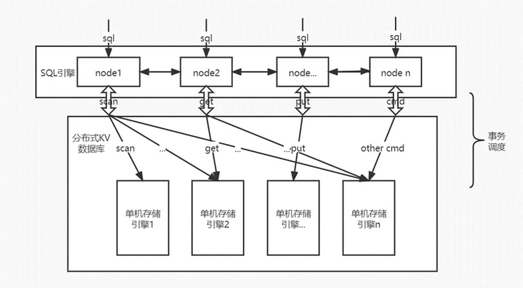
一. 架构介绍

从宏观上看,云溪数据库由两部分组成:上层的SQL引擎和下层的作为一个整体的分布式KV数据库。任何针对于数据库的SQL操作,经过SQL引擎的解析之后,都会把它们分解成一组组的kv操作,比如“select * from t”会被分解成scan操作,”update t set a = 1”会被分解成scan和put(conditionalPut)操作......事务主要是在下层的KV数据库对kv操作进行调度,以完成对更底层的存储引擎的并发读写。
二. Percolar事务模型介绍
云溪数据库的事务模型是从Percolator发展而来。Percolator是构建在BigTable之上的,通过提供一个TSO中央授时服务和一个client lib来封装BigTable的接口,最终将BigTable改造成了一个带有ACID快照隔离语义的支持跨行、跨表事务的分布式多维map。

Percolator的特点是没有集中式的事务处理措施,比如中心事务管理器、全局死锁探测器......事务产生的锁也是和数据关联在一起分布式存储的。就事务的角度而言,全局的唯一单点就是TSO。因此Percolator模型具有良好的水平扩展能力。但是也正是这种无中心的实现方式,导致各种冲突处理都需要通过必要的网络交互来实现,所以事务的延迟相对较高。如果照搬这种实现方式,是无法满足OLTP数据库对于高性能的事务处理的要求的。
三. 云溪数据库事务模型介绍
云溪数据库事务模型是从Percolator发展而来的。一方面,它进一步实现了去中心化,通过使用HLC代替TSO,消除了最后一个单点,是系统的水平扩展能力进一步提高;另一方面,它也做了许多努力来减小Percolator模型事务延迟较高的弊端,比如具体的优化有异步释放锁 、 并行提交 、事务流水线、一阶段提交......

1. 标准时间戳排序协议
云溪数据库通过MVCC+实现戳排序协议实现了SSI的事务隔离级别,下面简单介绍一下时间戳排序协议。
在标准时间戳排序协议中,每个事务都有一个唯一固定的时间戳,在事务开始时获取,读、写、提交都在该时间戳上进行。每个数据项保持两个时间戳,W-timestam表示成功执Write(Q)的所有事务的最大时间戳;R-timestamp表示成功执Read(Q)的所有事务的最大时间戳。
1:假设事务Ti发出read(Q)。
- 若TS(Ti)
- 若TS(Ti)>= W-timestamp(Q),则执行read操作,R-timestamp(Q)被设置为R-timestamp(Q)与TS(Ti)两者的最大值。
2:假设事务Ti发出write(Q)
- 若TS(Ti)
- 若TS(Ti)
- 其他情况,系统执行write操作,将W-timestamp(Q)设置为TS(Ti)。
2. 标准时间戳排序协议的缺陷
标准时间戳排序协议是一个无锁(free lock)的并发控制协议,读写操作都不需要加锁,这虽然能获得高性能,但却存在级联回滚问题和不可恢复调度。

不可恢复调度问题:当txn1回滚时,txn2本来也应该回滚,因为它读的A是txn1写入的。但是由于txn2已经提交,所以没有办回滚,导致数据的一致性被破坏。
级联回滚问题:txn2依赖txn1,txn3依赖txn2,可能会有txn4依赖txn3……当txn1回滚时,会造成大面积的事务回滚。
为了避免上面这两个问题,云溪数据库会对写入的未提交数据加排他锁,这样在类似上面的场景中,txn2和txn3在读A时会被阻塞,直到txn1提交才会放行。这样就不会产生级联问题和不可恢复调度问题。
3. 云溪数据库对标准时间戳排序协议的优化
时间戳排序协议是一个比较乐观的协议,它假设冲突很少发生,因此在事务开启的时候就确定事务也可以在这个时间戳提交,时间戳排序的冲突处理规则就是建立在这个前提之上的,任何出现违反了这个规则的情况都会导致事务回滚。因此在高并发高冲突的场景中,时间戳排序协议的事务回滚率和回滚代价都是比较高的。为了降低回滚率,云溪数据库引入了时间戳forward(push)机制,规则如下:一个事务维护两个时间戳,readTS和writeTS。事务在readTS上执行所有读取操作,以获取一致性快照;所有的写操作在writeTS发生,当遇到RW冲突时,W事务的writeTS forward到冲突时间戳的ts.next,然后继续执行,在必要时刻或者最终提交时进行检查尝试将readTS refresh到writeTS,如果成功,则事务提交,否则事务回滚。

在这个机制之下,当遇到上图的场景时,由于txn1在commit时能把它的readTS refresh到writeTS,所以txn1还是可以提交。但是在标准的时间戳排序协议中,由于txn1 write(B)时发现B的R-Timestamp大于自己的ts,所以事务txn1需要回滚。
4. 云溪数据库事务模型总结
· 没有单点和集中式处理,扩展性好
· 由于同步点机制,任何冲突都需要访问同步点来确认冲突的最终结果,网络交互多
· 锁和数据一起存储,每个写操作都会给存储引擎产生两三倍的写入压力,冲突处理流程曲折
· HLC的时钟偏移太大,在某些场景下对同一数据的W、R容易导致重试
· 时间戳排序并发控制协议比较乐观、导致事务容易重试和回滚,且代价较大
以上就是本文的全部内容了,是否有顺利帮助你解决问题?若是能给你带来学习上的帮助,请大家多多支持golang学习网!更多关于数据库的相关知识,也可关注golang学习网公众号。
切换阿里镜像源,加速MySQL下载安装
- 上一篇
- 切换阿里镜像源,加速MySQL下载安装
- 下一篇
- 一致性视图是啥时候建立的?
-
- 数据库 · MySQL | 1小时前 |
- MySQL优化Join查询的方法及常见Join策略解析
- 414浏览 收藏
-
- 数据库 · MySQL | 23小时前 |
- MySQL数据备份方法及常用策略
- 105浏览 收藏
-
- 数据库 · MySQL | 1星期前 |
- MySQL存储引擎是什么?作用有哪些?
- 166浏览 收藏
-
- 数据库 · MySQL | 1星期前 |
- MySQL创建数据库的完整步骤详解
- 287浏览 收藏
-
- 数据库 · MySQL | 1星期前 |
- MySQL创建数据库及字符集设置方法
- 159浏览 收藏
-
- 数据库 · MySQL | 3星期前 |
- MySQL常用数据类型有哪些及如何选择
- 187浏览 收藏
-
- 数据库 · MySQL | 3星期前 |
- MySQL查询缓存如何开启?有什么好处?
- 285浏览 收藏
-
- 数据库 · MySQL | 1个月前 |
- MySQL创建数据库全流程详解
- 370浏览 收藏
-
- 数据库 · MySQL | 1个月前 |
- MySQL建库建表完整步骤详解
- 106浏览 收藏
-
- 数据库 · MySQL | 1个月前 |
- MySQL权限管理设置全攻略
- 501浏览 收藏
-
- 数据库 · MySQL | 2个月前 |
- MySQL事务是什么?如何保证数据一致性?
- 276浏览 收藏
-
- 数据库 · MySQL | 2个月前 |
- MySQL创建带约束表的实例详解
- 110浏览 收藏
-
- 前端进阶之JavaScript设计模式
- 设计模式是开发人员在软件开发过程中面临一般问题时的解决方案,代表了最佳的实践。本课程的主打内容包括JS常见设计模式以及具体应用场景,打造一站式知识长龙服务,适合有JS基础的同学学习。
- 543次学习
-
- GO语言核心编程课程
- 本课程采用真实案例,全面具体可落地,从理论到实践,一步一步将GO核心编程技术、编程思想、底层实现融会贯通,使学习者贴近时代脉搏,做IT互联网时代的弄潮儿。
- 516次学习
-
- 简单聊聊mysql8与网络通信
- 如有问题加微信:Le-studyg;在课程中,我们将首先介绍MySQL8的新特性,包括性能优化、安全增强、新数据类型等,帮助学生快速熟悉MySQL8的最新功能。接着,我们将深入解析MySQL的网络通信机制,包括协议、连接管理、数据传输等,让
- 500次学习
-
- JavaScript正则表达式基础与实战
- 在任何一门编程语言中,正则表达式,都是一项重要的知识,它提供了高效的字符串匹配与捕获机制,可以极大的简化程序设计。
- 487次学习
-
- 从零制作响应式网站—Grid布局
- 本系列教程将展示从零制作一个假想的网络科技公司官网,分为导航,轮播,关于我们,成功案例,服务流程,团队介绍,数据部分,公司动态,底部信息等内容区块。网站整体采用CSSGrid布局,支持响应式,有流畅过渡和展现动画。
- 485次学习
-
- ChatExcel酷表
- ChatExcel酷表是由北京大学团队打造的Excel聊天机器人,用自然语言操控表格,简化数据处理,告别繁琐操作,提升工作效率!适用于学生、上班族及政府人员。
- 5636次使用
-
- Any绘本
- 探索Any绘本(anypicturebook.com/zh),一款开源免费的AI绘本创作工具,基于Google Gemini与Flux AI模型,让您轻松创作个性化绘本。适用于家庭、教育、创作等多种场景,零门槛,高自由度,技术透明,本地可控。
- 6048次使用
-
- 可赞AI
- 可赞AI,AI驱动的办公可视化智能工具,助您轻松实现文本与可视化元素高效转化。无论是智能文档生成、多格式文本解析,还是一键生成专业图表、脑图、知识卡片,可赞AI都能让信息处理更清晰高效。覆盖数据汇报、会议纪要、内容营销等全场景,大幅提升办公效率,降低专业门槛,是您提升工作效率的得力助手。
- 5880次使用
-
- 星月写作
- 星月写作是国内首款聚焦中文网络小说创作的AI辅助工具,解决网文作者从构思到变现的全流程痛点。AI扫榜、专属模板、全链路适配,助力新人快速上手,资深作者效率倍增。
- 7829次使用
-
- MagicLight
- MagicLight.ai是全球首款叙事驱动型AI动画视频创作平台,专注于解决从故事想法到完整动画的全流程痛点。它通过自研AI模型,保障角色、风格、场景高度一致性,让零动画经验者也能高效产出专业级叙事内容。广泛适用于独立创作者、动画工作室、教育机构及企业营销,助您轻松实现创意落地与商业化。
- 6269次使用
-
- golang MySQL实现对数据库表存储获取操作示例
- 2022-12-22 499浏览
-
- 搞一个自娱自乐的博客(二) 架构搭建
- 2023-02-16 244浏览
-
- B-Tree、B+Tree以及B-link Tree
- 2023-01-19 235浏览
-
- mysql面试题
- 2023-01-17 157浏览
-
- MySQL数据表简单查询
- 2023-01-10 101浏览

