淘宝用户行为数据分析
来到golang学习网的大家,相信都是编程学习爱好者,希望在这里学习数据库相关编程知识。下面本篇文章就来带大家聊聊《淘宝用户行为数据分析》,介绍一下MySQL、Excel、数据分析、行为分析,希望对大家的知识积累有所帮助,助力实战开发!
项目背景:随着移动互联网多年的快速发展,移动互联网已进入下半场 ,不再依靠用户红利来经营,发展业务,告别粗糙的/高成本企业发展的方式,开始转而精细化管理,结合市场、渠道、用户行为等数据分析,对用户展开有针对性的运营活动,提供个性化、差异化的运营策略,以实现运营目的行为。本文利用SQL对淘宝用户行为数据进行分析,通过用户行为分析业务问题,提供针对性的运营策略。
分析步骤:
- 提出问题
- 数据理解
- 数据清洗
- 构建模型
- 总结与建议
一、提出问题
1. 本次分析的业务问题及适用指标
本次分析的目的是想通过对淘宝用户行为数据分析,为以下问题提供解释和改进建议:
- 用户从浏览到最终购买的整个过程的流失情况,确定夹点位置,提出改善转化率的意见。
- 在研究的时间段里找出用户最活跃的日期以及每天活跃的时间段,了解用户的行为时间模式。
- 什么产品以及产品类目的购买率最高,找出最受欢迎的产品,优化产品销售。
- 哪些用户购买次数最多,找出最核心的付费用户群,并且统计出这些用户购买的产品以及类目,针对这些用户的购买偏好推送个性化的产品销售方案。
针对上面的业务问题,下面是适用的业务指标:

2. 基于AARRR漏斗模型分析用户行为
本项目通过常用的电商数据分析业务指标,采用AARRR漏斗模型拆解用户进入APP后的每一步行为。AARRR模型是根据用户使用产品全流程的不同阶段进行划分的,针对每一环节的用户流失情况分析出不同环节的优化优先级,主要通过以下个各阶段来进行分析:

二、数据理解
本项目数据来源于阿里云天池,可登陆阿里云天池下载数据,地址如下:User Behavior Data from Taobao for Recommendation
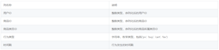
本数据集包含了2017年11月25日至2017年12月3日之间,有行为的约一百万随机用户的所有行为(行为包括点击、购买、加购、喜欢)。数据集的组织形式和MovieLens-20M类似,即数据集的每一行表示一条用户行为,由用户ID、商品ID、商品类目ID、行为类型和时间戳组成,并以逗号分隔。关于数据集中每一列的详细描述如下:

注意到,用户行为类型共有四种,它们分别是:

关于数据集大小的一些说明如下:

三、数据清洗
1. 观察记录
原数据集数据记录达到1亿条,数据量庞大,为了方便分析与效率,本项目将选取了从500万行至800万的300万条记录进行分析。
2. 一致化处理
原数据时间戳使用的是epoch&unix timestamp格式,需要转换为标准可读的日期时间形式。在原数据表增加3个新字段datetime、dates、hours,把转换好的日期时间放进去。
ALTER TABLE userbehavior ADD COLUMN datetime TIMESTAMP(0) NULL; UPDATE userbehavior SET datetime=FROM_UNIXTIME(timestamps); ALTER TABLE userbehavior ADD COLUMN date CHAR(10) NULL; UPDATE userbehavior SET date=SUBSTRING(datetime FROM 1 FOR 10); ALTER TABLE userbehavior ADD COLUMN hour CHAR(2) NULL; UPDATE userbehavior SET hour=SUBSTRING(datetime FROM 12 FOR 2);

3. 异常值处理
检查日期是否在规定范围内(2017年11月25日至2017年12月3日),将不符合规定的数据删除。
SELECT MAX(timestamps),
MIN(timestamps),
MAX(datetime),
MIN(datetime)
FROM userbehavior;

DELETE FROM userbehavior WHERE datetime='2017-12-04 00:00:00';
一共删除了1689行数据,再次验证日期时间的准确性,下面结果满足要求:

四、构建模型
1. 流量与用户行为转化分析
解决问题:用户从浏览到最终购买的整个过程的流失情况,确定夹点位置,提出改善转化率的意见。
1)访客数UV、访问量PV、平均访问量PV/UV:
SELECT
COUNT(DISTINCT user_id) AS 'UV',
(SELECT COUNT(*) FROM userbehavior WHERE behavior='pv') AS 'PV',
(SELECT COUNT(*) FROM userbehavior WHERE behavior='pv')/(COUNT(DISTINCT user_id)) AS 'PV/UV'
FROM userbehavior;

2)跳失率(只有点击行为的用户/总用户数):
SELECT COUNT(DISTINCT user_id)
FROM userbehavior
WHERE user_id NOT IN(SELECT DISTINCT user_id FROM userbehavior WHERE behavior = 'fav')
AND user_id NOT IN(SELECT DISTINCT user_id FROM userbehavior WHERE behavior = 'cart')
AND user_id NOT IN(SELECT DISTINCT user_id FROM userbehavior WHERE behavior = 'buy');
结果显示只有点击行为却没有收藏、加入购物车以及购买行为的用户数是1628,除以总用户数29233,则跳失率为为5.57%。
3)用户总行为漏斗:
SELECT behavior,COUNT(*) FROM userbehavior GROUP BY behavior;


由于收藏和加入购物车都为浏览和购买阶段之间确定购买意向的用户行为,且不分先后顺序,因此将其算作同一阶段。可以看到从浏览到有购买意向只有9.50%的转化率,当然也有部分用户是直接购买而未通过收藏和加入购物车,但是这仍说明大多数用户浏览页面次数较多,而使用加入购物车和收藏功能较少。另外,购买次数占加入购物车和收藏功能的23.53%左右,说明从浏览到收藏和加入购物车的阶段是指标提升的重点环节。
4)独立访客行为漏斗:
SELECT behavior,
COUNT(DISTINCT user_id) AS DIS_user
FROM userbehavior
GROUP BY behavior;


上图展示的是每一步用户行为的独立访客数的分布情况,可以看出使用APP的用户中PUR约为68.2%,用户付费成交转化率相当高,说明用户的购买欲望还是挺大的。
2. 用户行为模式分析
解决问题:在研究的时间段里找出用户最活跃的日期以及每天活跃的时间段,了解用户的行为时间模式。
1)每日活跃点击量:
SELECT date,COUNT(*) as pv FROM userbehavior WHERE behavior='pv' GROUP BY date ORDER BY date;


从上图可以看出11月25日-12月1日保持稳定的水平,12/2开始出现较为明显的增长,点击量陡增,增长率约为26.4%。推测是上班族因工作逛淘宝的时间少,而周末(12月2日-12月3日)有充足的精力和有较多空闲时间访问淘宝。因此平日运营可以将活动集中在周末进行。
2)每时段的活跃点击量:
SELECT `hour`,COUNT(*)/9 FROM userbehavior WHERE behavior = 'pv' GROUP BY `hour` ORDER BY `hour`;


在数据集观察的9天里,从18点开始点击量稳步上升,到21点到达顶峰,22点稍有回落,到23点明显下降,说明大部分用户会在晚上18点到22点时段频繁点击浏览网页,符合大部分人的作息时间。
3. 产品销售分析
解决问题1:什么产品以及产品类目的购买率最高,找出最受欢迎的产品,优化产品销售。
解决问题2:哪些用户购买次数最多,找出最核心的付费用户群,并且统计出这些用户购买的产品以及类目,针对这些用户的购买偏好推送个性化的产品销售方案。
1)浏览次数、收藏次数、加入购物车次数以及购买次数最多的商品:
SELECT
item_id,
count(user_id) AS times_pv
FROM
userbehavior
WHERE
behavior='pv'
GROUP BY
item_id
ORDER BY
times_pv DESC;




在销量榜单中并没有看到浏览量第一第二的商品,说明这些吸引用户更多注意力的商品并没有很好的转化为实际销量,仅更多的加入收藏中(浏览量前排的商品均能在收藏量前列中,说明浏览量与收藏的关系更为直接)。
2)产品销售排名:
-- 计算不同购买次数下的产品种类数
SELECT
a.buy_num AS buy_count,
COUNT(a.item_id) AS item_num
FROM
( SELECT item_id, COUNT(user_id) AS buy_num FROM userbehavior WHERE behavior='buy' GROUP BY item_id ) AS a
GROUP BY
a.buy_num
ORDER BY
item_num DESC;

从上图可以看出只被购买一次的产品有38248种,被购买两次的产品有5146种,本次分析的产品(item_id)有45931种,只被购买一次的产品占到83.3%,意味着并没有销售非常集中的产品。为了看清楚这一部分,我们来看看产品种类的累计销售情况。
3)产品种类的累计销售情况:

从上图可以看出83.3%的产品贡献了64.5%的销售量,不符合传统零售业的二八法则,说明电商靠长尾理论累计销售,而不是制造爆款商品带动销量。
4)产品类目的累计销售情况:
-- 计算不同购买次数下的商品类目数量
SELECT
a.cat_buytimes,
COUNT(category_id) AS cat_type_count
FROM
-- 每种商品类目的购买次数
( SELECT category_id,COUNT(user_id) AS cat_buytimes FROM UserBehavior WHERE behavior='buy' GROUP BY category_id ) AS a
GROUP BY
a.cat_buytimes
ORDER BY
a.cat_buytimes;


从上表可以更清楚的看出27.7%的产品类目贡献了1.6%的销售量,69.6%的产品类目贡献了11.5%的销售量,不符合传统零售业的二八法则,同样可以说明其依靠长尾理论累计销售。
5)复购率:
-- 统计不同购买次数下的用户数
SELECT
a.buy_times,
COUNT(user_id) AS '人数'
FROM
-- 有购买行为的用户各自的购买次数
( SELECT user_id,COUNT(behavior) AS buy_times FROM userbehavior WHERE behavior='buy' GROUP BY user_id ) AS a
GROUP BY
a.buy_times
ORDER BY
a.buy_times;

从上图可以得知整体复购率为(59329-6787)/59329=88.6%,即有购买行为的用户中大概有88.6%的用户会重复购买。上面是复购情况的可视图,可以看出大部分买家还是只购买一次。
6)找出复购率最高的用户以及他们购买的产品:
SELECT
user_id,
COUNT(behavior) AS buy_times
FROM
userbehavior
WHERE
behavior='buy'
GROUP BY
user_id
ORDER BY
buy_times DESC;

从上面SQL语句的执行结果可以看到用户user_id=337305购买次数最多,高达93次。下面以复购率最高的用户user_id=337305为例研究说明。
SELECT
category_id,
COUNT(*)
FROM
UserBehavior
WHERE
behavior='buy'
AND user_id=337305
GROUP BY
category_id
ORDER BY
COUNT(*) DESC;

可以看出复购率最高用户user_id=337305购买的商品类目主要集中在上面表格中的前3大类,可以参考这些商品类目的id来确定产品种类。
这种针对某些用户做的分析可以更好地了解和发现价值用户,如果数据集提供产品价格信息,就可以通过上面的数据分析很容易地找到高价值用户。了解高价值用户的购买行为,比如购买时间、购买产品以及品类等等以推出有针对性的产品推荐,通过个性化的推荐提高产品销售情况。
五.总结与建议
本次分析利用MySQL语句执行,数据集大约有300万条淘宝用户行为数据,针对用户行为问题我们使用AARRR漏斗模型进行业务分析,结合上述分析的业务指标,下面提出修改建议:
1. 获取客户(Acquisition):关键点是语言市场匹配和渠道产品匹配。
每天晚上16点到22点是用户频繁访问的时间,也是获取更多潜在客户的黄金时间,平台开展活动获取客户应首选这个时间段进行。
淘宝是电商第一平台,用户基数大,可以利用用户转发的方式获取新客户,比如在晚间时段做促销活动,邀请朋友拼团享受优惠来增加用户数,适合利用口碑渠道获取新客户。也可以进行小游戏邀请、KOL推广、热门社交或小视频平台合作推广、淘宝app卖家推送等。
2. 激活用户(Activation):摸清楚产品的“啊哈”时刻,用户从浏览到最终购买整个过程的流失情况,确定夹点位置,提出改善转化率的建议。
用户行为包括点击、加入购物车、收藏以及购买,点击量占总行为的89.5%,而加入购物车和收藏只占6%,最后实际购买跌至2%,夹点位置在收藏和加入购物车环节上,可能出现的原因是用户花了大量时间寻找合适的产品。根据数据分析结果改善转化率的建议有:
(1)优化电商平台的筛选功能,增加关键词的准确率,让用户可以更容易找到合适产品;
(2)给客户提供同类产品比较的功能,让用户不需要多次返回搜索结果反复查看,便于用户确定心怡产品;
(3)精简下单步骤,提供一键下单服务,比如只包含点击-购买-支付三个环节,缩短购买流程,提高用户体验。
3. 第三个环节提高留存(Retention):让用户养成使用习惯。
让用户保持使用淘宝电商平台的习惯是提高留存率的关键,可采用的方案可能有:
(1)按照使用频率和购买次数积攒积分,每天上线点击量达到某个数值即可自动领取积分,到月末换取购物礼券;
(2)对于年购买次数和金额达到规定量的客户推出VIP服务,享受全场不限时9.5折优惠,购买次数同比上升之后相应福利也上升,利用这种方法提高高价值用户的留存率和对平台的忠诚度。
4. 第四个环节增加收入(Revenue):提高成交转化率、复购率及产品和类目的购买率情况。
独立用户从点击到最后购买的转化率约为68.2%,用户购买诚意还是很足的,所以通过合理优化电商平台的筛选功能可以提高最终购买的转化率。
有购买行为的用户中,大概有88.6%的用户会重复购买。在独立用户中,最高的复购次数是93次,我们可以通过复购率、购买金额(本次数据集没有提供)等来确定价值用户,通过分析找出价值用户的购买偏好,产品和类目等,给价值用户制定个性化的产品推荐,从而提高用户体验和电商平台销售情况。
83.3%的产品贡献了64.5%的销售量,27.7%的产品类目贡献了1.6%的销售量,69.6%的产品类目贡献了11.5%的销售量,不符合传统零售业的二八法则,电商靠长尾理论累计销售。
以上数据显示淘宝平台的最大优势是产品种类和类目丰富,用户可选择的范围非常广,吸引不同类型的客户群,所以应该继续保持这个优势。可能合适的提高方案有:
(1)内容营销:使用“没有找不到的产品,只有想不到的产品”来宣传平台购物种类丰富,让用户形成“只要买东西上淘宝一定有”的思维习惯;
(2)针对前面确定的价值用户提供个性化产品推荐,比如最关心的产品类目和种类,上新之后定时推送给用户;
(3)针对复购率,可以推出3个月内复购优惠活动,让客户保持购买频率。
5. 第五个环节推荐(Refer):用户推荐给其他人,关注转发率、转化率和K因子。
针对淘宝平台,让用户推荐给其他人的方案有:
(1)产品在购买的时候提供拼团服务,让用户主动推荐给其他人;
(2)每当推出新功能,比如前面提到的一键下单,让体验过的用户转发和分享领取优惠券,快速实现新功能推广;
(3)当用户使用优惠券购物或者通过某种行为积分购物之后提供朋友圈打卡功能,分享给好友,实现传播功能。
在实行以上方案之后需要关注转发率、转化率、通过用户分享链接点击购买的用户比例以及K因子来检测提出方案的有效性。
今天关于《淘宝用户行为数据分析》的内容介绍就到此结束,如果有什么疑问或者建议,可以在golang学习网公众号下多多回复交流;文中若有不正之处,也希望回复留言以告知!
-
- 数据库 · MySQL | 1星期前 |
- MySQL常用存储引擎及InnoDB与MyISAM对比分析
- 184浏览 收藏
-
- 数据库 · MySQL | 2星期前 |
- MySQL连接池配置与优化方法
- 147浏览 收藏
-
- 数据库 · MySQL | 2星期前 |
- MySQL内存优化技巧与参数设置解析
- 295浏览 收藏
-
- 数据库 · MySQL | 2星期前 |
- 主键外键关系解析与作用详解
- 413浏览 收藏
-
- 数据库 · MySQL | 2星期前 |
- MySQL数据库备份与安全方案详解
- 175浏览 收藏
-
- 数据库 · MySQL | 3星期前 |
- MySQL增删改查语法速查表大全
- 174浏览 收藏
-
- 数据库 · MySQL | 4星期前 |
- MySQLupdate语句使用详解
- 120浏览 收藏
-
- 数据库 · MySQL | 1个月前 |
- MySQL数据库创建与字符集设置教程
- 404浏览 收藏
-
- 数据库 · MySQL | 1个月前 |
- MySQL基础命令速查:增删改查全攻略
- 427浏览 收藏
-
- 数据库 · MySQL | 1个月前 |
- MySQL优化Join查询的技巧与策略解析
- 351浏览 收藏
-
- 数据库 · MySQL | 1个月前 |
- MySQL常用数据类型有哪些及如何选择
- 156浏览 收藏
-
- 数据库 · MySQL | 1个月前 |
- MySQL增删改查语法速查手册
- 405浏览 收藏
-
- 前端进阶之JavaScript设计模式
- 设计模式是开发人员在软件开发过程中面临一般问题时的解决方案,代表了最佳的实践。本课程的主打内容包括JS常见设计模式以及具体应用场景,打造一站式知识长龙服务,适合有JS基础的同学学习。
- 543次学习
-
- GO语言核心编程课程
- 本课程采用真实案例,全面具体可落地,从理论到实践,一步一步将GO核心编程技术、编程思想、底层实现融会贯通,使学习者贴近时代脉搏,做IT互联网时代的弄潮儿。
- 516次学习
-
- 简单聊聊mysql8与网络通信
- 如有问题加微信:Le-studyg;在课程中,我们将首先介绍MySQL8的新特性,包括性能优化、安全增强、新数据类型等,帮助学生快速熟悉MySQL8的最新功能。接着,我们将深入解析MySQL的网络通信机制,包括协议、连接管理、数据传输等,让
- 500次学习
-
- JavaScript正则表达式基础与实战
- 在任何一门编程语言中,正则表达式,都是一项重要的知识,它提供了高效的字符串匹配与捕获机制,可以极大的简化程序设计。
- 487次学习
-
- 从零制作响应式网站—Grid布局
- 本系列教程将展示从零制作一个假想的网络科技公司官网,分为导航,轮播,关于我们,成功案例,服务流程,团队介绍,数据部分,公司动态,底部信息等内容区块。网站整体采用CSSGrid布局,支持响应式,有流畅过渡和展现动画。
- 485次学习
-
- ChatExcel酷表
- ChatExcel酷表是由北京大学团队打造的Excel聊天机器人,用自然语言操控表格,简化数据处理,告别繁琐操作,提升工作效率!适用于学生、上班族及政府人员。
- 4216次使用
-
- Any绘本
- 探索Any绘本(anypicturebook.com/zh),一款开源免费的AI绘本创作工具,基于Google Gemini与Flux AI模型,让您轻松创作个性化绘本。适用于家庭、教育、创作等多种场景,零门槛,高自由度,技术透明,本地可控。
- 4574次使用
-
- 可赞AI
- 可赞AI,AI驱动的办公可视化智能工具,助您轻松实现文本与可视化元素高效转化。无论是智能文档生成、多格式文本解析,还是一键生成专业图表、脑图、知识卡片,可赞AI都能让信息处理更清晰高效。覆盖数据汇报、会议纪要、内容营销等全场景,大幅提升办公效率,降低专业门槛,是您提升工作效率的得力助手。
- 4455次使用
-
- 星月写作
- 星月写作是国内首款聚焦中文网络小说创作的AI辅助工具,解决网文作者从构思到变现的全流程痛点。AI扫榜、专属模板、全链路适配,助力新人快速上手,资深作者效率倍增。
- 6104次使用
-
- MagicLight
- MagicLight.ai是全球首款叙事驱动型AI动画视频创作平台,专注于解决从故事想法到完整动画的全流程痛点。它通过自研AI模型,保障角色、风格、场景高度一致性,让零动画经验者也能高效产出专业级叙事内容。广泛适用于独立创作者、动画工作室、教育机构及企业营销,助您轻松实现创意落地与商业化。
- 4821次使用
-
- golang MySQL实现对数据库表存储获取操作示例
- 2022-12-22 499浏览
-
- 搞一个自娱自乐的博客(二) 架构搭建
- 2023-02-16 244浏览
-
- B-Tree、B+Tree以及B-link Tree
- 2023-01-19 235浏览
-
- mysql面试题
- 2023-01-17 157浏览
-
- MySQL数据表简单查询
- 2023-01-10 101浏览

数据库增删查改语句
