干货 | MySQL数据库安全之审计
你在学习数据库相关的知识吗?本文《干货 | MySQL数据库安全之审计》,主要介绍的内容就涉及到MySQL,如果你想提升自己的开发能力,就不要错过这篇文章,大家要知道编程理论基础和实战操作都是不可或缺的哦!
每家公司都希望业务高速增长,最好能出几个爆款产品或者爆款业务,从而带动公司营收高速攀升。但站在数据库管理员的角度,这却是实实在在的压力,业务高速增长必然带来数据量的暴增。数据库系统的选型和设计是支撑整个业务系统的重要因素。MySQL数据库是基于云原生的数据库产品之一,云原生为云数据库提供了重要动力,相比于传统自建数据库,云数据库比单个数据库具有更大的弹性和可扩展性。
数据库审计主要用于监视并记录对数据库服务器的各类操作行为,并记入审计日志或数据库中以便日后进行跟踪、查询、分析,以实现对用户操作的监控和审计。审计是一项非常重要的工作,也是企业数据安全体系的重要组成部分。
MySQL企业版自带审计功能,但是需要付费。MySQL社区版没有审计功能,基于成本的考虑,很多用户采用社区版MySQL作为业务系统数据库。采用社区版MySQL如何实现重要的审计功能,本文从自建和云服务两种情况来解答这个问题。
自建MySQL数据库的场景
本文自建数据库所有实验环境是基于window10下MySQL5.7这个版本。
方法一 Genreal Log
默认情况下,MySQL不开启General log; 开启General log后,MySQL将所有到达MySQL Server的SQL语句记录下来。
开启General log步骤:
1、查看General Log开启情况:执行SQL命令show variables like '%general_log%’ ;可以看到默认general_log是OFF的:

2、开启General Log: 执行SQL命令set global general_log=on 而后查看general_log打开了:

3、验证:general_log打开后,所有SQL的访问都会记录在general_log_file指向的日志文件。我们执行几个SQL语句测试:

而后查看ZB-PF11H2E3.log日志文件里面的内容,我们看到刚才做的操作都已经记录在日志里了:

开启General Log只要用户执行了操作,无论对错,MySQL就会记录日志,这样的话日志量会非常庞大,对数据库效率有影响。所以我们一般不建议开启开功能,个别情况下可能会临时的开一段时间以供排查故障等使用。
方法二 BinLog+Init_connect
BinLog是MySQL操作时留下的日志,BinLog一方面可以用在数据库的恢复与主从复制上,另外一方面可以用来做数据库的审计。
由于BinLog日志里面无法查询是谁在哪个时间段登录的等信息,缺少审计必要的信息。在MySQL中,每个连接都会先执行init_connect进行连接的初始化,我们可以在这里获取用户的登录名称和thread ID值。然后配合BinLog,就可以追踪到每个操作语句的操作时间,操作人等信息,再加上BinLog的日志信息实现审计。
配置和验证过程如下:
1、创建审计用的数据库和表:

2、创建具有操作auditdb数据权限的用户:
有用户添加操作auditdb的权限:
1 MySQL> insert into mysql.db (Host,Db,User1,Insert_priv) values ('%','auditdb','','Y');
2 Query OK, 1 row affected (0.03 sec)
3 MySQL> flush privileges;
4 Query OK, 0 rows affected (0.00 sec)
3、设置init_connect,并重启MySQL数据库在初始化参数文件[mysql]部分添加如下内容:
1 log-bin=mysql-bin #开启Binlog 2 init_connect='insert into auditdb.accesslog(connectionid, connectionuser,logintime) values(connection_id(),user(),now());' #设置初始化连接参数

4、用user1用户登录,执行一些写入和删除的操作;

5、用mysqlbinlog工具查看BinLog,根据delete操作找到相应的ThreadId,而后在前面创建的审计日志表auditdb.accesslog里面根据ThreadID找到用户登录信息:

查看当前binlog mysqlbin.000029的内容,并找到delete操作对应的ThreadID D:mysql57bin>mysqlbinlog ../data/mysql-bin.000029

从Binlog中可以得知删除Test2表对应的threadid是8,根据ThreadID在审计表里查看用户的登录信息,可以得知这个删除操作是user1用户在本机执行的操作。

说明:采用这种方式进行审计,由于init-connect只会在连接时执行,不会对数据库产生大的性能影响,但是init-connect不会记录拥有root权限的用户记录.
方法三 使用审计插件
除了商业版的审计插件外,常见的还有三类审计插件Percona Audit Log Plugin、MariaDB Audit Plugin、McAfee MySQL Audit Plugin。这几个插件功能上大同小异,只是展示的内容和格式略有不同。
我们以MariaDB Audit Plugin为例,给大家介绍如何采用插件的方式实现对Mysql数据的审计。
一、下载与安装
1、下载MariaDB Audit Plugin插件(下载地址:https://downloads.mariadb.org...

2、安装:把server_audit.dll复制到对应的mysql插件库中D:mysql57libplugin,执行install安装命令:

3、安装验证:Mysql>show variables like '%audit%'

二、关键审计参数说明
server_audit_logging:启动或关闭审计
server_audit_events:指定记录事件的类型,可以用逗号分隔的多个值(connect,query,table) ,默认为空代表审计所有事件。
server_audit_incl_users:指定哪些用户的活动将记录,默认审计所有用户,该变量比server_audit_excl_users优先级高
server_audit_excl_users:指定哪些用户行为不记录
server_audit_output_type:指定日志输出类型,可为SYSLOG或FILE,缺省输出至审计文件
三、审计过程示例
1、开启审计mysql>set global server_audit_logging=on

由于是验证测试,我们其余参数都按默认设置。
2、执行一些数据库操作:

3、查看审计记录日志,server_audit.log,默认在data目录下:

我们看见,刚才在Mysql数据库的操作都已经审计上了。
使用公有云RDS服务的场景
目前云计算的普及,云供应商都提供云数据库服务,当然Mysql是云数据库服务重要的一员。相比传统数据库,云数据库易于部署、管理和扩展,提供数据可靠性、安全性、运行状态监控等全套解决方案。
那么在云数据库Mysql上是如何实现对数据库的审计的呢?我们以京东云云数据库Mysql为例,京东云的Mysql审计功能是通过MariaDB Audit Plugin插件实现的。下面给大家介绍云数据库Mysql审计的开启、使用、关闭等功能。
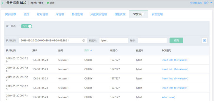
1、登录云数据库 RDS 管理控制台;
2、选择需要查询 SQL 审计的目标实例,点击目标实例, 进入实例详情页,切换至 SQL 审计 Tab 页;
3、点击审计状态开关就可以在线切换审计的开启与关闭;
4、执行一些数据库的操作,而后看审计数据。审计开启后,SQL 审计查询功能说明如下:
执行时间:可以选择从当前时间往前推 7 天的时间区间,作为 SQL 审计查询的时间段;
数据库:可以查看指定数据库的 SQL 语句;
账号:可以查看指定账号的 SQL 语句。
5、点击查询按钮,查看符合要求的SQL审计结果列表:

通过上面的例子,可以看见,云数据库的管理和运维比自建数据库确实要简单很多,用户不用关心审计的方式、审计数据的存储位置等等。只不过,云数据库由于是以云服务的形式提供给最终用户,用户就需要按照云服务的要求和使用说明进行操作。

重磅来袭
618带你上云
云数据库-MySQL只需1折

点击云数据库了解更多详情
欢迎点击“京东云”了解更多精彩

今天关于《干货 | MySQL数据库安全之审计》的内容介绍就到此结束,如果有什么疑问或者建议,可以在golang学习网公众号下多多回复交流;文中若有不正之处,也希望回复留言以告知!
1节课搞懂MySQL数据类型
- 上一篇
- 1节课搞懂MySQL数据类型
- 下一篇
- MySQL 8.0 技术详解
-
- 数据库 · MySQL | 11小时前 |
- MySQL事务是什么?如何保证数据一致性?
- 276浏览 收藏
-
- 数据库 · MySQL | 1天前 |
- MySQL创建带约束表的实例详解
- 110浏览 收藏
-
- 数据库 · MySQL | 1星期前 |
- MySQL常用存储引擎及InnoDB与MyISAM对比分析
- 184浏览 收藏
-
- 数据库 · MySQL | 2星期前 |
- MySQL连接池配置与优化方法
- 147浏览 收藏
-
- 数据库 · MySQL | 2星期前 |
- MySQL内存优化技巧与参数设置解析
- 295浏览 收藏
-
- 数据库 · MySQL | 2星期前 |
- 主键外键关系解析与作用详解
- 413浏览 收藏
-
- 数据库 · MySQL | 2星期前 |
- MySQL数据库备份与安全方案详解
- 175浏览 收藏
-
- 数据库 · MySQL | 3星期前 |
- MySQL增删改查语法速查表大全
- 174浏览 收藏
-
- 数据库 · MySQL | 1个月前 |
- MySQLupdate语句使用详解
- 120浏览 收藏
-
- 数据库 · MySQL | 1个月前 |
- MySQL数据库创建与字符集设置教程
- 404浏览 收藏
-
- 数据库 · MySQL | 1个月前 |
- MySQL基础命令速查:增删改查全攻略
- 427浏览 收藏
-
- 数据库 · MySQL | 1个月前 |
- MySQL优化Join查询的技巧与策略解析
- 351浏览 收藏
-
- 前端进阶之JavaScript设计模式
- 设计模式是开发人员在软件开发过程中面临一般问题时的解决方案,代表了最佳的实践。本课程的主打内容包括JS常见设计模式以及具体应用场景,打造一站式知识长龙服务,适合有JS基础的同学学习。
- 543次学习
-
- GO语言核心编程课程
- 本课程采用真实案例,全面具体可落地,从理论到实践,一步一步将GO核心编程技术、编程思想、底层实现融会贯通,使学习者贴近时代脉搏,做IT互联网时代的弄潮儿。
- 516次学习
-
- 简单聊聊mysql8与网络通信
- 如有问题加微信:Le-studyg;在课程中,我们将首先介绍MySQL8的新特性,包括性能优化、安全增强、新数据类型等,帮助学生快速熟悉MySQL8的最新功能。接着,我们将深入解析MySQL的网络通信机制,包括协议、连接管理、数据传输等,让
- 500次学习
-
- JavaScript正则表达式基础与实战
- 在任何一门编程语言中,正则表达式,都是一项重要的知识,它提供了高效的字符串匹配与捕获机制,可以极大的简化程序设计。
- 487次学习
-
- 从零制作响应式网站—Grid布局
- 本系列教程将展示从零制作一个假想的网络科技公司官网,分为导航,轮播,关于我们,成功案例,服务流程,团队介绍,数据部分,公司动态,底部信息等内容区块。网站整体采用CSSGrid布局,支持响应式,有流畅过渡和展现动画。
- 485次学习
-
- ChatExcel酷表
- ChatExcel酷表是由北京大学团队打造的Excel聊天机器人,用自然语言操控表格,简化数据处理,告别繁琐操作,提升工作效率!适用于学生、上班族及政府人员。
- 4220次使用
-
- Any绘本
- 探索Any绘本(anypicturebook.com/zh),一款开源免费的AI绘本创作工具,基于Google Gemini与Flux AI模型,让您轻松创作个性化绘本。适用于家庭、教育、创作等多种场景,零门槛,高自由度,技术透明,本地可控。
- 4577次使用
-
- 可赞AI
- 可赞AI,AI驱动的办公可视化智能工具,助您轻松实现文本与可视化元素高效转化。无论是智能文档生成、多格式文本解析,还是一键生成专业图表、脑图、知识卡片,可赞AI都能让信息处理更清晰高效。覆盖数据汇报、会议纪要、内容营销等全场景,大幅提升办公效率,降低专业门槛,是您提升工作效率的得力助手。
- 4460次使用
-
- 星月写作
- 星月写作是国内首款聚焦中文网络小说创作的AI辅助工具,解决网文作者从构思到变现的全流程痛点。AI扫榜、专属模板、全链路适配,助力新人快速上手,资深作者效率倍增。
- 6109次使用
-
- MagicLight
- MagicLight.ai是全球首款叙事驱动型AI动画视频创作平台,专注于解决从故事想法到完整动画的全流程痛点。它通过自研AI模型,保障角色、风格、场景高度一致性,让零动画经验者也能高效产出专业级叙事内容。广泛适用于独立创作者、动画工作室、教育机构及企业营销,助您轻松实现创意落地与商业化。
- 4827次使用
-
- golang MySQL实现对数据库表存储获取操作示例
- 2022-12-22 499浏览
-
- 搞一个自娱自乐的博客(二) 架构搭建
- 2023-02-16 244浏览
-
- B-Tree、B+Tree以及B-link Tree
- 2023-01-19 235浏览
-
- mysql面试题
- 2023-01-17 157浏览
-
- MySQL数据表简单查询
- 2023-01-10 101浏览

