MySQL数据库中的函数怎样使用?
编程并不是一个机械性的工作,而是需要有思考,有创新的工作,语法是固定的,但解决问题的思路则是依靠人的思维,这就需要我们坚持学习和更新自己的知识。今天golang学习网就整理分享《MySQL数据库中的函数怎样使用?》,文章讲解的知识点主要包括函数、MySQL、数据库,如果你对数据库方面的知识点感兴趣,就不要错过golang学习网,在这可以对大家的知识积累有所帮助,助力开发能力的提升。
函数 是指一段可以直接被另一段程序调用的程序或代码。 也就意味着,这一段程序或代码在MySQL中已经给我们提供了,我们要做的就是在合适的业务场景调用对应的函数完成对应的业务需求即可。 那么,函数到底在哪儿使用呢?
我们先来看两个场景:

1). 在企业的OA或其他的人力系统中,经常会提供的有这样一个功能,每一个员工登录上来之后都能够看到当前员工入职的天数。而在数据库中,存储的都是入职日期,如2000-11-12,那如果快速计算出天数呢?
2). 在做报表这类的业务需求中,我们要展示出学员的分数等级分布。而在数据库中,存储的是学生的分数值,如98/75,如何快速判定分数的等级呢?其实,上述的这一类的需求呢,我们通过MySQL中的函数都可以很方便的实现。
MySQL中的函数主要分为以下四类:字符串函数、数值函数、日期函数、流程函数。
字符串函数
MySQL中内置了很多字符串函数,常用的几个如下:

演示如下:
A. concat : 字符串拼接
select concat('Hello' , ' MySQL');
B. lower : 全部转小写
select lower('Hello');
C. upper : 全部转大写
select upper('Hello');
D. lpad : 左填充
select lpad('01', 5, '-');
E. rpad : 右填充
select rpad('01', 5, '-');
F. trim : 去除空格
select trim(' Hello MySQL ');
G. substring : 截取子字符串
select substring('Hello MySQL',1,5);
案例:

由于业务需求变更,企业员工的工号,统一为5位数,目前不足5位数的全部在前面补0。比如: 1号员工的工号应该为00001。
update emp set workno = lpad(workno, 5, '0');
处理完毕后, 具体的数据为:

数值函数
常见的数值函数如下:

演示如下:
A. ceil:向上取整
select ceil(1.1);
B. floor:向下取整
select floor(1.9);
C. mod:取模
select mod(7,4); 1
D. rand:获取随机数
select rand();
E. round:四舍五入
select round(2.344,2);
案例:
通过数据库的函数,生成一个六位数的随机验证码。
思路: 获取随机数可以通过rand()函数,但是获取出来的随机数是在0-1之间的,所以可以在其基础上乘以1000000,然后舍弃小数部分,如果长度不足6位,补0。
select lpad(round(rand()*1000000 , 0), 6, '0');
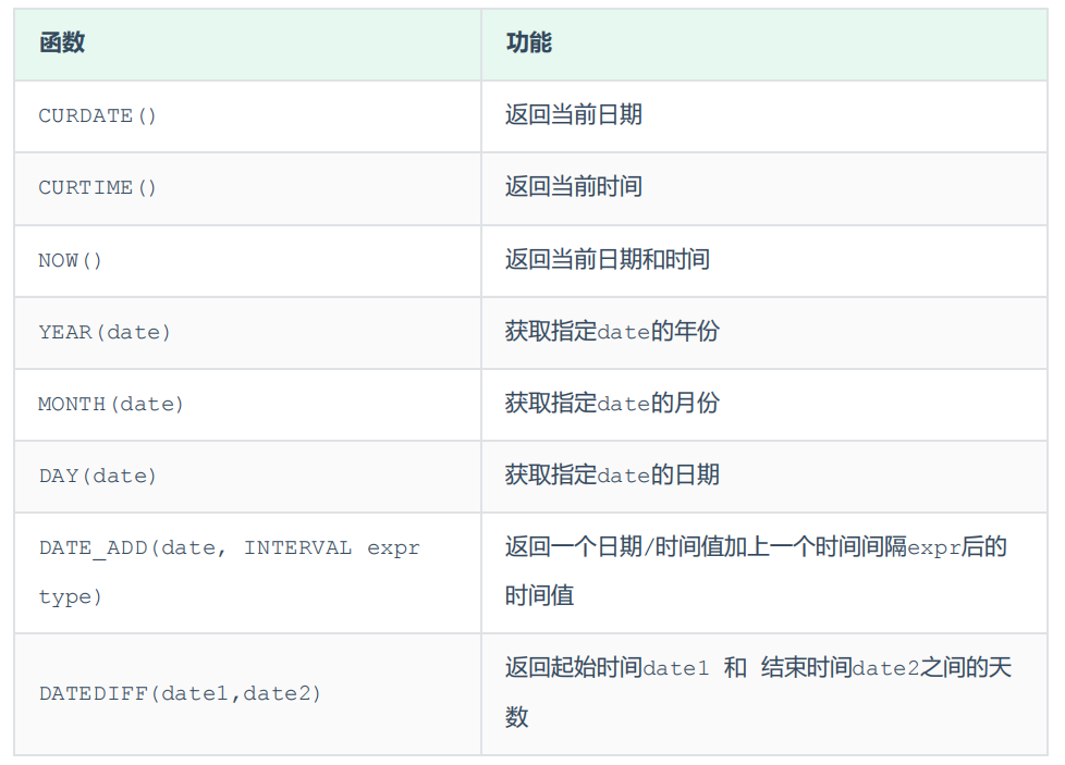
日期函数
常见的日期函数如下:

演示如下:
A. curdate:当前日期
select curdate();
B. curtime:当前时间
select curtime();
C. now:当前日期和时间
select now();
D. YEAR , MONTH , DAY:当前年、月、日
select YEAR(now());
select MONTH(now());
select DAY(now());
E. date_add:增加指定的时间间隔
select date_add(now(), INTERVAL 70 YEAR );
F. datediff:获取两个日期相差的天数
select datediff('2021-10-01', '2021-12-01');
案例:
查询所有员工的入职天数,并根据入职天数倒序排序。入职天数,就是通过当前日期 - 入职日期,所以需要使用datediff函数来完成。
select name, datediff(curdate(), entrydate) as 'entrydays' from emp order by
entrydays desc;
流程函数
流程函数也是很常用的一类函数,可以在SQL语句中实现条件筛选,从而提高语句的效率。

演示如下:
A. if
select if(false, 'Ok', 'Error');
B. ifnull
select ifnull('Ok','Default');
select ifnull('','Default');
select ifnull(null,'Default');
C. case when then else end
需求: 查询emp表的员工姓名和工作地址 (北京/上海 ----> 一线城市 , 其他 ----> 二线城市)
select
name,
( case workaddress when '北京' then '一线城市' when '上海' then '一线城市' else
'二线城市' end ) as '工作地址'
from emp;
案例:
create table score(
id int comment 'ID',
name varchar(20) comment '姓名',
math int comment '数学',
english int comment '英语',
chinese int comment '语文'
) comment '学员成绩表';
insert into score(id, name, math, english, chinese) VALUES (1, 'Tom', 67, 88, 95
), (2, 'Rose' , 23, 66, 90),(3, 'Jack', 56, 98, 76);
具体的SQL语句如下:
select
id,
name,
(case when math >= 85 then '优秀' when math >=60 then '及格' else '不及格' end )
'数学',
(case when english >= 85 then '优秀' when english >=60 then '及格' else '不及格'
end ) '英语',
(case when chinese >= 85 then '优秀' when chinese >=60 then '及格' else '不及格'
end ) '语文'
from score;
MySQL的常见函数我们学习完了,那接下来,我们就来分析一下,在前面讲到的两个函数的案例场景,思考一下需要用到什么样的函数来实现?
1). 数据库中,存储的是入职日期,如 2000-01-01,如何快速计算出入职天数呢? -------->
答案: datediff
2). 数据库中,存储的是学生的分数值,如98、75,如何快速判定分数的等级呢? ---------->
答案: case ... when ...
终于介绍完啦!小伙伴们,这篇关于《MySQL数据库中的函数怎样使用?》的介绍应该让你收获多多了吧!欢迎大家收藏或分享给更多需要学习的朋友吧~golang学习网公众号也会发布数据库相关知识,快来关注吧!
更新超过50项AI产品,最伟大Windows降临,微软Build大会亮点频出
- 上一篇
- 更新超过50项AI产品,最伟大Windows降临,微软Build大会亮点频出
- 下一篇
- 萌萌哒!山东首款“人形智能车道收费机器人”亮相青岛东收费站
-
- 数据库 · MySQL | 12小时前 |
- MySQL创建带约束表的实例详解
- 110浏览 收藏
-
- 数据库 · MySQL | 1星期前 |
- MySQL常用存储引擎及InnoDB与MyISAM对比分析
- 184浏览 收藏
-
- 数据库 · MySQL | 2星期前 |
- MySQL连接池配置与优化方法
- 147浏览 收藏
-
- 数据库 · MySQL | 2星期前 |
- MySQL内存优化技巧与参数设置解析
- 295浏览 收藏
-
- 数据库 · MySQL | 2星期前 |
- 主键外键关系解析与作用详解
- 413浏览 收藏
-
- 数据库 · MySQL | 2星期前 |
- MySQL数据库备份与安全方案详解
- 175浏览 收藏
-
- 数据库 · MySQL | 3星期前 |
- MySQL增删改查语法速查表大全
- 174浏览 收藏
-
- 数据库 · MySQL | 1个月前 |
- MySQLupdate语句使用详解
- 120浏览 收藏
-
- 数据库 · MySQL | 1个月前 |
- MySQL数据库创建与字符集设置教程
- 404浏览 收藏
-
- 数据库 · MySQL | 1个月前 |
- MySQL基础命令速查:增删改查全攻略
- 427浏览 收藏
-
- 数据库 · MySQL | 1个月前 |
- MySQL优化Join查询的技巧与策略解析
- 351浏览 收藏
-
- 数据库 · MySQL | 1个月前 |
- MySQL常用数据类型有哪些及如何选择
- 156浏览 收藏
-
- 前端进阶之JavaScript设计模式
- 设计模式是开发人员在软件开发过程中面临一般问题时的解决方案,代表了最佳的实践。本课程的主打内容包括JS常见设计模式以及具体应用场景,打造一站式知识长龙服务,适合有JS基础的同学学习。
- 543次学习
-
- GO语言核心编程课程
- 本课程采用真实案例,全面具体可落地,从理论到实践,一步一步将GO核心编程技术、编程思想、底层实现融会贯通,使学习者贴近时代脉搏,做IT互联网时代的弄潮儿。
- 516次学习
-
- 简单聊聊mysql8与网络通信
- 如有问题加微信:Le-studyg;在课程中,我们将首先介绍MySQL8的新特性,包括性能优化、安全增强、新数据类型等,帮助学生快速熟悉MySQL8的最新功能。接着,我们将深入解析MySQL的网络通信机制,包括协议、连接管理、数据传输等,让
- 500次学习
-
- JavaScript正则表达式基础与实战
- 在任何一门编程语言中,正则表达式,都是一项重要的知识,它提供了高效的字符串匹配与捕获机制,可以极大的简化程序设计。
- 487次学习
-
- 从零制作响应式网站—Grid布局
- 本系列教程将展示从零制作一个假想的网络科技公司官网,分为导航,轮播,关于我们,成功案例,服务流程,团队介绍,数据部分,公司动态,底部信息等内容区块。网站整体采用CSSGrid布局,支持响应式,有流畅过渡和展现动画。
- 485次学习
-
- ChatExcel酷表
- ChatExcel酷表是由北京大学团队打造的Excel聊天机器人,用自然语言操控表格,简化数据处理,告别繁琐操作,提升工作效率!适用于学生、上班族及政府人员。
- 4217次使用
-
- Any绘本
- 探索Any绘本(anypicturebook.com/zh),一款开源免费的AI绘本创作工具,基于Google Gemini与Flux AI模型,让您轻松创作个性化绘本。适用于家庭、教育、创作等多种场景,零门槛,高自由度,技术透明,本地可控。
- 4574次使用
-
- 可赞AI
- 可赞AI,AI驱动的办公可视化智能工具,助您轻松实现文本与可视化元素高效转化。无论是智能文档生成、多格式文本解析,还是一键生成专业图表、脑图、知识卡片,可赞AI都能让信息处理更清晰高效。覆盖数据汇报、会议纪要、内容营销等全场景,大幅提升办公效率,降低专业门槛,是您提升工作效率的得力助手。
- 4458次使用
-
- 星月写作
- 星月写作是国内首款聚焦中文网络小说创作的AI辅助工具,解决网文作者从构思到变现的全流程痛点。AI扫榜、专属模板、全链路适配,助力新人快速上手,资深作者效率倍增。
- 6107次使用
-
- MagicLight
- MagicLight.ai是全球首款叙事驱动型AI动画视频创作平台,专注于解决从故事想法到完整动画的全流程痛点。它通过自研AI模型,保障角色、风格、场景高度一致性,让零动画经验者也能高效产出专业级叙事内容。广泛适用于独立创作者、动画工作室、教育机构及企业营销,助您轻松实现创意落地与商业化。
- 4825次使用
-
- golang MySQL实现对数据库表存储获取操作示例
- 2022-12-22 499浏览
-
- golang中的defer函数理解
- 2022-12-22 366浏览
-
- 搞一个自娱自乐的博客(二) 架构搭建
- 2023-02-16 244浏览
-
- B-Tree、B+Tree以及B-link Tree
- 2023-01-19 235浏览
-
- mysql面试题
- 2023-01-17 157浏览

