-
- 颜水成挂帅,奠定「通用视觉多模态大模型」终极形态!一统理解/生成/分割/编辑
- 近日,颜水成教授团队联合发布并开源了Vitron通用像素级视觉多模态大语言模型。项目主页&Demo:https://vitron-llm.github.io/论文链接:https://is.gd/aGu0VV开源代码:https://github.com/SkyworkAI/Vitron这是一个重磅的通用视觉多模态大模型,支持从视觉理解到视觉生成、从低层次到高层次的一系列视觉任务,解决了困扰大语言模型产业已久的图像/视频模型割裂问题,提供了一个全面统一静态图像与动态视频内容的理解、生成、分割、编辑
- 科技周边 · 人工智能 | 1年前 | 模型 视觉 501浏览 收藏
-
- 所有生命分子一夜皆可AI预测!AlphaFold 3改变人类对生命的理解,全球科学家都能免费使用
- AlphaFold3再登Nature!这次重磅升级,不再仅限于蛋白质结构预测,可以以前所未有的精度预测所有生命分子的结构和相互作用。只有了解它们如何在数百万种组合中相互作用,我们才能开始真正理解生命的过程。这次的最大创新之一,是用上了AI绘画上常见的去噪扩散模型,直接生成每个原子的3D坐标。目前,AlphaFold3对普通感冒病毒Spike蛋白(蓝色)的结构预测,灰色部分为预测结果。这能让人类更进一步了解冠状病毒。对蛋白质和DNA结合的分子复合物进行预测,其预测结果与真实结构几乎一致。在不输入任何结构信息
- 科技周边 · 人工智能 | 1年前 | 人工智能 AI 501浏览 收藏
-
- 用于精确目标检测的多网格冗余边界框标注
- 一、前言目前领先的目标检测器是基于深度CNN的主干分类器网络重新调整用途的两级或单级网络。YOLOv3就是这样一种众所周知的最先进的单级检测器,它接收输入图像并将其划分为大小相等的网格矩阵。具有目标中心的网格单元负责检测特定目标。今天分享的,就是提出了一种新的数学方法,该方法为每个目标分配多个网格,以实现精确的tight-fit边界框预测。研究者还提出了一种有效的离线复制粘贴数据增强来进行目标检测。新提出的方法显着优于一些当前最先进的目标检测器,并有望获得更好的性能。二、背景目标检测网络旨在使用精密匹配边
- 科技周边 · 人工智能 | 1年前 | 目标检测 网格 501浏览 收藏
-
- 推动“两新”勿忘回收循环利用
- 大规模设备更新和消费品以旧换新行动实施后,废旧物资激增,处理不当将造成环境污染和资源浪费。回收循环利用体系建设是解决上述问题和推动“两新”工作的关键。《推动大规模设备更新和消费品以旧换新行动方案》将废旧物资回收循环利用作为“两新”工作的四大行动之一。地方政府纷纷出台政策举措,促进废弃物循环利用。例如:(1)江苏完善回收循环利用体系,建立回收网点、分拣中心和集散交易市场。(2)湖北打造数字化公共服务回收平台,促进资源循环利用。完善废旧物资回收循环利用体系的措施:(1)探索新型回收模式,完善再生资源回收网络。
- 科技周边 · 人工智能 | 1年前 | 两新 501浏览 收藏
-
- 5个针对!我国加力推出一揽子增量政策
- 国务院新闻办公室新闻发布会时间:2024年10月8日上午10时出席人员:国家发展改革委主任:郑栅洁国家发展改革委副主任:刘苏社、赵辰昕、李春临、郑备议题:系统落实一揽子增量政策扎实推动经济向上结构向优、发展态势持续向好内容:郑栅洁:针对当前经济运行中的新情况新问题,我国加力推出一揽子增量政策,推动经济持续回升向好。针对经济运行中的下行压力,强化宏观政策逆周期调节,各方面都要持续用力、更加给力。针对国内有效需求不足等问题,把扩内需增量政策重点更多放在惠民生、促消费上,积极发挥投资对经济增长的拉动作用。针对当
- 科技周边 · 人工智能 | 1年前 | 一揽子增量政策 501浏览 收藏
-
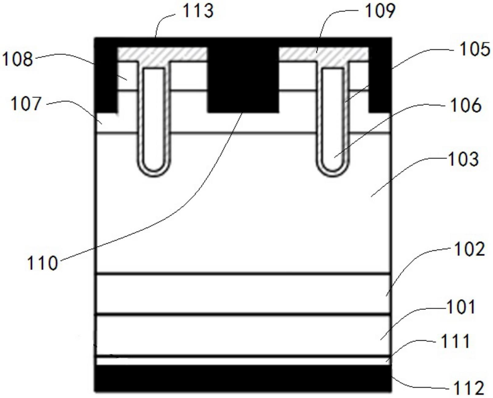
- 捷捷微电“一种纵向变掺杂的IGBT结构及制备方法”专利公布
- 江苏捷捷微电子股份有限公司近日公布一项名为“一种纵向变掺杂的IGBT结构及制备方法”的专利(申请公布号:CN118969825A),申请公布日为2024年11月15日。该专利属于半导体技术领域,尤其关注IGBT器件的结构和制备工艺。其核心在于一种创新的纵向变掺杂IGBT结构,该结构包含:第一导电类型的半导体衬底;衬底正面设置的元胞区;以及衬底背面与集电极结构之间的过渡区。过渡区由电场缓变层和场截止层构成,其中电场缓变层为第一导电类型的变掺杂层,场截止层为第一导电类型的重掺杂层,集电极结构则位于场截止层背面
- 科技周边 · 人工智能 | 1年前 | 捷捷微电 501浏览 收藏
-
- 极米科技又收到某客户二次项目定点,将供应车载投影仪
- 极米科技再获汽车主机厂定点,车载投影仪业务持续拓展!12月30日,极米科技发布公告宣布,其全资子公司宜宾极米近日收到国内某知名汽车主机厂的第二个开发定点通知。宜宾极米将为该主机厂某项目的新车型提供智能座舱显示产品——车载投影仪,负责产品的开发、测试、生产和交付。这是极米科技与该主机厂继10月份首个定点合作后的又一次深度合作。公告显示,凭借雄厚的技术实力和产品积累,极米科技迅速赢得了客户的再次信任。此次定点进一步加深了双方合作,拓展了业务范围。极米科技表示,此次定点有利于公司智能座舱显示业务的持续发展,符合
- 科技周边 · 人工智能 | 1年前 | 极米科技 501浏览 收藏
-
- DeepSeek挑战AI模型性价比大型科技股暴跌
- 中国AI初创公司DeepSeek近期发布了低成本、高性能的AI模型DeepSeek-R1,引发科技行业广泛关注。与之形成对比的是,大型科技公司投入巨资研发,却未能推出性能更优越的模型,导致英伟达、台积电等公司股价重挫。DeepSeek是幻方量化旗下AI子公司,其DeepSeek-R1模型在数学、编程和推理等领域表现出色。据悉,该模型的训练成本约为600万美元,仅为OpenAI最新大模型的1/30,其唯一不足是无法回答敏感问题。美国对中国AI技术的快速发展表示担忧,认为这将挑战其科技霸主地位。De
- 科技周边 · 人工智能 | 1年前 | 科技股 501浏览 收藏
-
- AI代理平台选型与实施:五大关键步骤助你成功落地
- AI代理构建平台正以前所未有的速度发展,选择合适的平台对企业至关重要。本文将为您提供一些建议,助您和团队以及供应商共同实现创新。如今,CIO和IT团队正从评估独立的AI软件包转向集成自定义AI代理,以提升自动化和生产效率。他们可能同时使用多个AI代理构建平台。鉴于AI工具日新月异,选择合适的平台至关重要。以下是一些超越基本功能和定价的考量因素:代理构建环境评估AI代理供应商自身也在不断学习和创新。他们精通大型语言模型(LLM),了解不同模型的优劣,但在用户界面(UI)和以客户为中心的构建环境方
- 科技周边 · 人工智能 | 1年前 | AI CIO 大型语言模型 501浏览 收藏
-
- 特斯拉2月销量暴跌:德国76%中国49%
- 特斯拉全球销量持续下滑,引发华尔街担忧!近期数据显示,特斯拉在全球主要汽车市场遭遇销量滑铁卢,引发投资者担忧。欧洲市场,特斯拉1月份销量同比暴跌45%。德国市场更是雪上加霜,2月份销量同比下降76.3%,仅售出1429辆,前两个月总交付量同比下跌70.6%。美国市场同样表现低迷,2月份销量同比下降5%,连续第四个月销量下滑。英国市场,特斯拉2月销量仅为3852辆,未能跻身前十。澳大利亚市场,2月份销量同比暴跌71.9%,入门级Model3销量更是下降了81%。中国市场,作为全球最重要的市场之一,
- 科技周边 · 人工智能 | 1年前 | 501浏览 收藏
-
- 路维光电厦门20亿元建高精度光掩膜版基地
- 3月23日,路维光电发布公告称,公司计划在厦门市投资建设“厦门路维光电高世代高精度光掩膜版生产基地项目”,并与厦门火炬高技术产业开发区管理委员会签署了合作协议。为实施该项目,公司拟出资1亿元在厦门市设立全资子公司“厦门路维光电有限公司”。项目总投资额预计为20亿元,资金来源为公司自有资金或自筹资金。截至公告披露日,本次对外投资处于筹备阶段,公司尚未签署投资协议和开展实质业务,项目投资主体尚未正式成立,本次对外投资尚需签署正式协议、完成全资子公司工商登记手续,具体项目实施进度存在不确定性。路维光电表示,该项
- 科技周边 · 人工智能 | 11个月前 | 投资 路维光电 厦门 高精度光掩膜版 20亿元 501浏览 收藏
-
- 乐道总裁艾铁成离任,曾承诺月销不足2万自离职
- 乐道汽车总裁艾铁成宣布离职,不再担任乐道汽车总裁和蔚来高级副总裁职务。这一消息于4月2日通过乐道App发布。艾铁成艾铁成在公开信中坦言,离开乐道是一个艰难却必要的决定。他承认在营销方面存在不足,未能使L60的销量达到其产品力应有的水平,为此深感抱歉并愿意承担责任。艾铁成离职声明此前,艾铁成曾为L60制定了颇具雄心的销量目标,但现实与目标存在差距。据新浪科技报道,艾铁成离职后,乐道汽车的研发、供应链和质量部门将向蔚来CEO李斌汇报,营销体系则向蔚来总裁秦力洪汇报。此举表明蔚来将加大对乐道的管理投入
- 科技周边 · 人工智能 | 11个月前 | 501浏览 收藏
-
- 岚图FREE+上海车展亮相,搭载华为ADS4.0,6月预售
- 4月24日,岚图FREE+在上海车展上正式亮相,新车首次搭载华为最新的ADS4.0系统和最新一代华为鸿蒙座舱5.0,预计将于6月开始预售。在外观设计上,岚图FREE+焕发新生。前脸摒弃了传统的直瀑式格栅,改为封闭式设计,结合贯穿式灯组和下包围的贯穿设计,增强了视觉宽度,显得更加大气。侧面的线条流畅,隐藏式门把手增添了科技感。车身尺寸为4915mm×1960mm×1660mm,轴距达到2960mm,确保了宽敞的乘坐空间。尾部保持了贯穿式尾灯设计,后包围造型更加简洁,视觉效果更为精致。整体设计从“刀锋机甲”
- 科技周边 · 人工智能 | 10个月前 | 501浏览 收藏
-
- 深扒七大平台DeepSeek-R1API技术全流程白皮书
- 如何设计高效工作流程?首先明确目标和需求,其次分解任务并确定责任人和时间节点,最后引入灵活性和创新,并定期回顾调整。如何处理突发情况?保持冷静和灵活,建立应急计划。如何在团队中推广和优化工作流程?通过沟通、培训和会议推广,定期收集反馈并进行优化。
- 科技周边 · 人工智能 | 10个月前 | 501浏览 收藏
-
- 深度学习DeepSeek与百度网盘智能管理技巧
- 深度学习结合DeepSeek和百度网盘可以大幅提升文件管理的智能化水平。1)DeepSeek通过训练可以实现文件的智能分类,利用百度网盘的存储空间便于数据收集。2)通过百度网盘API,可以编写Python脚本获取文件列表并传给DeepSeek模型进行分析和分类。3)优化DeepSeek模型性能需要调整参数、增加数据多样性和定期更新。4)未来,DeepSeek与百度网盘的深度融合将带来更智能的文件搜索、备份和恢复功能,提升用户体验。
- 科技周边 · 人工智能 | 10个月前 | 501浏览 收藏
查看更多
课程推荐
-
- 前端进阶之JavaScript设计模式
- 设计模式是开发人员在软件开发过程中面临一般问题时的解决方案,代表了最佳的实践。本课程的主打内容包括JS常见设计模式以及具体应用场景,打造一站式知识长龙服务,适合有JS基础的同学学习。
- 543次学习
-
- GO语言核心编程课程
- 本课程采用真实案例,全面具体可落地,从理论到实践,一步一步将GO核心编程技术、编程思想、底层实现融会贯通,使学习者贴近时代脉搏,做IT互联网时代的弄潮儿。
- 516次学习
-
- 简单聊聊mysql8与网络通信
- 如有问题加微信:Le-studyg;在课程中,我们将首先介绍MySQL8的新特性,包括性能优化、安全增强、新数据类型等,帮助学生快速熟悉MySQL8的最新功能。接着,我们将深入解析MySQL的网络通信机制,包括协议、连接管理、数据传输等,让
- 500次学习
-
- JavaScript正则表达式基础与实战
- 在任何一门编程语言中,正则表达式,都是一项重要的知识,它提供了高效的字符串匹配与捕获机制,可以极大的简化程序设计。
- 487次学习
-
- 从零制作响应式网站—Grid布局
- 本系列教程将展示从零制作一个假想的网络科技公司官网,分为导航,轮播,关于我们,成功案例,服务流程,团队介绍,数据部分,公司动态,底部信息等内容区块。网站整体采用CSSGrid布局,支持响应式,有流畅过渡和展现动画。
- 485次学习
-
- Golang深入理解GPM模型
- Golang深入理解GPM调度器模型及全场景分析,希望您看完这套视频有所收获;包括调度器的由来和分析、GMP模型简介、以及11个场景总结。
- 474次学习
查看更多
AI推荐
-
- ChatExcel酷表
- ChatExcel酷表是由北京大学团队打造的Excel聊天机器人,用自然语言操控表格,简化数据处理,告别繁琐操作,提升工作效率!适用于学生、上班族及政府人员。
- 4214次使用
-
- Any绘本
- 探索Any绘本(anypicturebook.com/zh),一款开源免费的AI绘本创作工具,基于Google Gemini与Flux AI模型,让您轻松创作个性化绘本。适用于家庭、教育、创作等多种场景,零门槛,高自由度,技术透明,本地可控。
- 4572次使用
-
- 可赞AI
- 可赞AI,AI驱动的办公可视化智能工具,助您轻松实现文本与可视化元素高效转化。无论是智能文档生成、多格式文本解析,还是一键生成专业图表、脑图、知识卡片,可赞AI都能让信息处理更清晰高效。覆盖数据汇报、会议纪要、内容营销等全场景,大幅提升办公效率,降低专业门槛,是您提升工作效率的得力助手。
- 4454次使用
-
- 星月写作
- 星月写作是国内首款聚焦中文网络小说创作的AI辅助工具,解决网文作者从构思到变现的全流程痛点。AI扫榜、专属模板、全链路适配,助力新人快速上手,资深作者效率倍增。
- 6102次使用
-
- MagicLight
- MagicLight.ai是全球首款叙事驱动型AI动画视频创作平台,专注于解决从故事想法到完整动画的全流程痛点。它通过自研AI模型,保障角色、风格、场景高度一致性,让零动画经验者也能高效产出专业级叙事内容。广泛适用于独立创作者、动画工作室、教育机构及企业营销,助您轻松实现创意落地与商业化。
- 4820次使用

